ZL600 European Standard Mortise Lock Case
Installation Guide
Contents
ZL600 European Standard Mortise Lock Case
Model: ZL600
Lock Body: European Standard Mortise Lock Case
Version: 1.0
English
- Anewlockis defined as always in open mode untilit is locked once by alC S50/S70 card.
- Please register an authorized card, a time sync card, and a room card initially for the new lock.
- The lock is equipped with keys for manual unlocking. Remove the keys from the package and keep them in a safe place.
- To power on the lock, four alkaline AA batteries (not included) are required. Nonalkaline and rechargeable batteries ARE NOT RECOMMENDED.
Do not remove the batteries when the lock is in working state. - When the battery power is low, the lock will beep to remind the user to replace the batteries. Make sure not to mix up the polarities while replacing the batteries. Avoid contact with corrosive substances. Do not hang any object on the handle.
The built-in software manages the operation of access cards. Please refer the software user manual. - Forfurther queries, please contact the seller.
What’s in Box

Note: This lock is ideal for doors with a thickness of 32 mm to 58 mm. This lock will not fit on a door that is thicker than 58 mm. Please contact the salesperson if you have any queries.
Installation Diagram

Door Opening Direction


Note: Please install the Mortise and Strike Plate according to the above illustration.
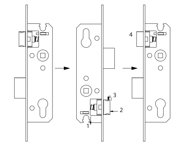
Adjust the Latch’s Direction (if necessary)
Adjustment of 3085 Mortise
- When you rotate the mortise 180 degrees, the fastener will dropdown.
- Insert the latch into the mortise.
- Disentangle the latch by turning it to 180 degrees.
- Rotate the mortise to 180 degrees again.

Adjustment of 6085 Mortise
- Push Up the fastener.
- The latch pops up.
- Rotate the latch 180 degrees.
- Push the latch back.

PA Drilling Holes onthe Door
- Paste the Installation Template at the desired handle height.
- Mark for the holes to be drilled and drill the marked places.

Installation the Mortise
- Insert the mortise into the drilled hole, secure it with Screw A, and make sure the cable is towards the outdoor unit.

- Insert the Cylinder, then secure it with Screw B.

Installation the Outdoor Unit
** Method of 3085 Mortise
- Install the Studs on the back of the Outdoor Unit.
- Insert a Spindle A into the clutch toward Outdoor Unit.
- Attach the Outdoor Unit to the door.
Note: Please pay attention to the point of clutch, the point is at right side when right opening, the point is at left side when left opening. 
“* Method of 6085 Mortise
- Install the Studs on the back of the Outdoor Unit.
- Insert a Spindle A into the clutch toward Outdoor Unit.
- Attach the Outdoor Unit to the door by connecting the 2 PIN cable of 6085 Mortise with mainboard.
Note: Please pay attention to the point of clutch, the point is at right side when right opening, the point is at left side when left opening.

Installation Indoor Unit
- Insert the Spindle B into the cylinder and turn it to 45°.
- Connect the battery cable with the mainboard.
- Secure the Indoor Unit with 2 Screws C by Hex Wrench A.

Install Batteries
To install batteries, remove the Battery Cover with Hex Wrench B, then reinstall it. 
Installation of Strike Plate and Box
- Make sure that the Strike Box is aligned with the latch bolt. Then, use the Installation Template to drill holes.
- Align the Strike Plate and Box with the drilled holes and secure them with Screw A.


Test the Lock by Mechanical Key
Insert one of the key and rotate it to 90° and then press the outdoor unit handle, if the latch backs up, it means exact.
Note: The handle of outdoor unit is always free.

Warning:
This device complies with Part 15 of the FCC Rules. Operation is subject to the following two conditions: (1) This device may not cause harmful interference, and (2) this device must accept any interference received, including interference that may cause undesired operation.
This equipment has been tested and found to comply with the limits for a Class B digital device, pursuant to Part 15 of the FCC Rules. These limits are designed to provide reasonable protection against harmful interference in a residential installation.
This equipment generates, uses, and can radiate radio frequency energy and, if not installed and used in accordance with the instructions, may cause harmful interference to radio communications. However, there is no guarantee that interference will not occur in a particular installation. If this equipment does cause harmful interference to radio or television reception, which can be determined by turning the equipment off and on, the user is encouraged to try to correct the interference by one or more of the following measures:
- Reorient or relocate the receiving antenna.
- Increase the separation between the equipment and receiver.
- Connect the equipment into an outlet on a circuit different from that to which the receiver is connected.
- Consult the dealer or an experienced radio/TV technician for help.
FCC RF Radiation Exposure Statement:
- This Transmitter must not be co-located or operating in conjunction with any other antenna or transmitter.
- This equipment complies with RF radiation exposure limits set forth for an uncontrolled environment.
IMPORTANT! Any changes or modifications not expressly approved by the party responsible for compliance could void the user’s authority to operate the equipment.
The device has been evaluated to meet general RF exposure requirement.
The device can be used in portable exposure condition without restriction.
ZKTeco Industrial Park, No. 32, Industrial Road,
Tangxia Town, Dongguan, China.
Phone’ :+86 769 – 82109991
Fax : +86 755 – 89602394
www.zkteco.com
https://www.zkteco.com/en/
Copyright A 2022 ZKTECO CO.,LTD. All Rights Reserved.