Contents
Zennio KLIC-MITT v3 Terminal Gateway for Mitsubishi Electric AC Units

Product Information
Specifications
- Product Name: KLIC-MITT v3
- Product Type: KNX-IT Terminal Gateway for Mitsubishi Electric A/C Units
- Model Number: ZCLMITTV3
- Application Program Version: 1.2
- User Manual Edition: 1.2_a
- Website: https://www.zennio.com
Introduction
- The KLIC-MITT v3 from Zennio is a new gateway that provides full-duplex communication between the KNX home automation system and Mitsubishi Electric air-conditioning systems through the IT Terminal interface provided by Zennio.
- With bidirectional communication, the KLIC-MITT v3 allows the air conditioning system to be controlled from the home automation system in the same manner as it is through its own controls. Additionally, the unit’s actual status can be monitored and periodically sent to the KNX bus to inform other devices.
Features
- Bidirectional control of Mitsubishi Electric HVAC units through their IT Terminal connector (CN105/CN92)
- Control of the main functions of the A/C unit: On/Off, temperature, mode of operation, fan speed, position of the flaps, etc…
- Error management to handle specific error codes from the A/C unit itself as well as any communication issues that may arise
- Up to five scenes
- Two analogue-digital inputs, for the connection of temperature probes, motion detectors, or binary pushbuttons or switches
- Ten customizable, multi-operation logic functions
- Heartbeat or periodic still-alive notification
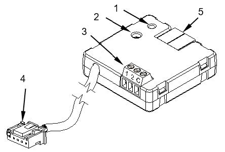
Installation
- Prog./Test LED indicator
- Prog./Test button
- Analogue/digital inputs
- IT Terminal connection cable
- KNX connector
Figure 1. Element scheme:

- The KLIC-MITT v3 connects to the KNX bus via the corresponding built-in terminal (5). Once the device is provided with power from the KNX bus, both the physical address and the KLIC-MITT v3 application program can be downloaded.
- This device does not require any external power as it is entirely powered through the KNX bus.
The remaining elements are described below:
- Prog./Test button (2): A short press on this button will set the device into programming mode, making the associated LED (1) light up in red.
Note: If this button is held while plugging the device into the KNX bus, the device will enter safe mode. The LED will blink in red every 0.5 seconds. - Analogue-Digital Inputs (3): Input ports for the stripped cables of external elements such as switches, motion detectors, temperature probes, etc…
- Communication cable (4): A cable with a CN105/CN92 connector that will connect KLIC-MITT v3 to the A/C unit. The other end of the cable is intended to be connected to the IT Terminal connector on the PCB board of the internal unit.
FAQ
- Q: How many scenes can be programmed with KLIC-MITT v3?
A: Up to five scenes can be programmed with KLIC-MITT v3. - Q: Does KLIC-MITT v3 require external power?
A: No, KLIC-MITT v3 is entirely powered through the KNX bus and does not require any external power source. - Q: What types of external elements can be connected to the analogue-digital inputs?
A: The analogue-digital inputs of KLIC-MITT v3 can be used to connect temperature probes, motion detectors, binary pushbuttons, or switches. - Q: How can I enter programming mode with KLIC-MITT v3?
A: To enter programming mode, simply press the Prog./Test button on KLIC-MITT v3.
KLIC-MITT v3
KNX – IT Terminal Gateway for Mitsubishi Electric A/C Units
ZCLMITTV3
- Application program version: [1.2]
- User manual edition: [1.2]_a
- www.zennio.com
INTRODUCTION
KLIC-MITT V3
- KLIC-MITT v3 from Zennio is a new gateway that provides full-duplex communication between the KNX home automation system and Mitsubishi Electric air-conditioning systems through the IT Terminal interface provided by Zennio.
- Because of this bidirectional communication, the air conditioning system can be controlled from the home automation system in the same manner as it is through its own controls.
- Moreover, the actual status of the unit can be monitored and periodically sent to the KNX bus to inform other devices.
- The most outstanding features of KLIC-MITT v3 are:
- Bidirectional control of Mitsubishi Electric HVAC units through their IT Terminal connector (CN105/CN92).
- Control of the main functions of the A/C unit: On/Off, temperature, mode of operation, fan speed, position of the flaps, etc…
- Error management to handle specific error codes from the A/C unit itself as well as any communication issues that may arise.
- Up to five scenes.
- Two analogue-digital inputs, for the connection of temperature probes, motion detectors or binary pushbuttons or switches.
- Ten customisable, multi-operation logic functions.
- Heartbeat or periodic “still-alive” notification.
INSTALLATION
- Prog./Test LED indicator
- Prog./Test button
- Analogue/digital inputs
- IT Terminal connection cable.
- KNX connector

Figure 1. Element scheme
KLIC-MITT v3 connects to the KNX bus via the corresponding built-in terminal (5). Once the device is provided with power from the KNX bus, both the physical address and the KLIC-MITT v3 application program can be downloaded.
This device does not need any external power as it is entirely powered through the KNX bus.
The remaining elements are described next.
- Prog./Test button (2): a short press on this button will set the device into the programming mode, making the associated LED (1) light in red.
Note: if this button is held while plugging the device into the KNX bus, the device will enter into safe mode. The LED will blink in red every 0.5 seconds. - Analogue-Digital Inputs (3): input ports for the stripped cables of external elements such as switches, motion detectors, temperature probes, etc…
- Communication cable (4): cable with a CN105/CN92 connector that will connect KLIC-MITT v3 to the A/C unit. The other end of the cable, therefore, is intended to be connected to the IT Terminal connector in the PCB board of the internal unit.

- Important: if intending to control the A/C unit both through its incorporated wired remote control and through KLIC-MITT v3, it must be taken into account that orders sent from the wired control will have a higher priority than those sent through KLIC-MITT v3. In addition, certain parameterizations made in the device can be ignored.
- For detailed information about the technical features of KLIC-MITT v3, as well as on security and installation procedures, please refer to the device Datasheet, bundled in the device packaging and also available at www.zennio.com .
START-UP AND POWER LOSS
- Depending on the configuration, some specific actions will be performed during the device start-up. The integrator may set up an initial status to be sent to the A/C unit after the bus power recovery, and whether certain objects should be sent to the bus after the power recovery, as described in later sections.
- On the other hand, when a bus power failure takes place, the device will interrupt any pending actions, and will save its state so it can be recovered once the power supply is restored.
CONFIGURATION
GENERAL
After importing the corresponding database in ETS and adding the device into the topology of the desired project, the configuration process begins by entering the Parameters tab of the device.
ETS PARAMETERISATION
The “General” screen is shown in the first place, containing the following parameters: 
- AC Gateway [enabled]1: entails all functions specific to KLIC-MITT v3, relating to communication with the A/C unit and management of the climate control system. For more information, see section 2.2.
- Inputs [disabled/enabled]: enables or disables the “Inputs” tab in the tree on the left. For more information, see section 2.3.
- Logic Functions [disabled/enabled]: enables or disables the “Logic Functions” tab in the tree on the left. For more information, see section 2.4.
- Heartbeat (Periodic Alive Notification) [disabled/enabled]: this parameter lets the integrator incorporate a one-bit object to the project (“[Heartbeat] Object to
1 The default values of each parameter will be highlighted in blue in this document, as follows: [default/rest of options].
- Send ‘1’”) that will be sent periodically with value “1” to notify that the device is still working (still alive).
- Note: the first sending after download or bus failure takes place with a delay of up to 255 seconds, to prevent bus overload. The following sendings match the period set.
- Device Recovery Objects (Send 0 and 1): [disabled/enabled]: this parameter lets the integrator activate two new communication objects (“[Heartbeat] Device Recovery”), which will be sent to the KNX bus with values “0” and “1” respectively whenever the device begins operation (for example, after a bus power failure). It is possible to parameterise a certain delay [0…255] to this sending.
Note: after download or bus failure, the sending takes place with a delay of up to 6,35 seconds plus the parameterised delay, to prevent bus overload. - Regardless of the above parameters, the following objects are available by default:
- “[AC] On/Off” and “[AC] On/Off (Status)”: allow switching on (value “1”) and off (value “0”) the A/C unit or reading the current status, respectively.
- “[AC] Temperature Setpoint” and “[AC] Temperature Setpoint (Status)”: allow setting the desired temperature setpoint or reading the current value, respectively. See section 2.2.1 for further information.
- “[AC] Mode” and “[AC] Mode (Status)”: allow setting the desired operation mode (either Automatic, Heating, Cooling, Fan or Dry) or reading the current mode, respectively. See section 2.2.1 for further information.
- Several error objects. See section 2.2.6.
AC GATEWAY
CONFIGURATION
KLIC-MITT v3 allows controlling and monitoring an air-conditioning unit in the same way it would be through the wired remote control it is provided with.
- Through the KNX bus, KLIC-MITT v3 can be sent orders to control the following basic functions of the air conditioning unit:
- On/Off switch of the air-conditioning unit.
- Operation mode: automatic, heating, cooling, fan and dry.
- Temperature setpoint, which can be modified within a specific range of values, depending on the capabilities of the specific A/C unit being controlled.
- Fan speed: either 2, 3 or 4, depending on the model of the A/C unit.
- Position of the flaps (or vanes): either 4 or 5, depending on the A/C unit.
- Moreover, KLIC-MITT v3 allows configuring several advanced functions:
- External reference temperature: which allows enabling an object to use an external reference temperature, provided by a temperature probe.
- Temperature measured by the AC unit: allows enabling an object which provides the value of the internal temperature probe. The automatic sending can be configured based
- on: a period of time, a change in value or a combination of both.
- Initial configuration, which allows establishing the desired initial parameters for the state of the A/C unit after programming or restarting the device.
- Setpoint limits, to restrict the range for the temperature setpoint.
- Operating time: provides the A/C unit operating time in hours and/or seconds.
- Automatic off, which allows an automatic and temporary switch-off of the unit (after a pre-established delay, if desired) when the communication object associated to this function is triggered due to a certain event.
- Scenes, which allows defining specific climate control presets, to be sent to the machine on the reception of scene orders from the KNX bus.
- These functionalities imply changes in the state of the A/C unit, which therefore notifies KLIC-MITT v3 periodically about the current state. When KLIC-MITT v3 is notified about a change, it updates the status objects and sends them to the KNX bus. In addition, KLIC-MITT v3 provides an error management function (see section 2.2.6), which allows sending messages to the KNX bus in case the A/C unit reports any errors.
ETS PARAMETRIZATION
The “Configuration” tab under AC Gateway provides the following parameters: 
OPERATION MODES
- KLIC-MITT v3 allows controlling the A/C unit operating mode through the following objects, available by default:
- “[AC] Mode”: 1-Byte object which allows selecting the A/C unit operation mode. There will be only taken in account values that are appropriated with some of available modes in Mitsubishi Electric units, which are represented in Table 2.
- “[AC] Mode (Status)”: 1-Byte object which allows knowing the A/C unit operating mode status.

- Additionally, a simplified mode can be configured to select Cooling and Heating mode.
- Simplified Mode [disabled/enabled]: in addition to the “[AC] Mode” and “[AC] Mode (Status)” one-byte objects, available by default, it is possible to commute and to verify the current operation mode through the following one-bit objects, which get enabled after activating this parameter:
- “[AC] Simplified Mode”, which allows switching to the Cooling mode by sending it a “0” and to the Heating mode by sending it a “1”.
- “[AC] Simplified Mode (Status)”, which will send a value of “0” when the mode switches to Cooling or to Dry, or a value of “1” when it switches to Heating. The Fan mode is not reflected in the value of this object.
- Simplified Mode [disabled/enabled]: in addition to the “[AC] Mode” and “[AC] Mode (Status)” one-byte objects, available by default, it is possible to commute and to verify the current operation mode through the following one-bit objects, which get enabled after activating this parameter:
VENTILATION
- Fan [disabled/enabled]: enables the Fan function. See section 2.2.2.
- Flaps [disabled/enabled]: enables the fan Flaps function. See section 2.2.3.
TEMPERATURE MEASURED BY THE A/C UNIT
- Monitoring [disabled/enabled]: enables the “[AC] AC Unit Measured Temperature” two-byte object, which provides the value of its internal temperature sensor, which is used by the AC machine to execute the control loop. Once enabled, a secondary parameter will show:
- Sending Type [Variation / Periodic / Periodic + Variation]: sets whether the above object should be sent only in case of a change in the value, periodically in both cases, respectively. The latter two options bring entail one more parameter:
- Period [1…3600][s] [1…15…1440][min] [1…24][h]: sets the cycle time for the periodic sending.

- Period [1…3600][s] [1…15…1440][min] [1…24][h]: sets the cycle time for the periodic sending.
- Sending Type [Variation / Periodic / Periodic + Variation]: sets whether the above object should be sent only in case of a change in the value, periodically in both cases, respectively. The latter two options bring entail one more parameter:
TEMPERATURE SETPOINT
- The following objects to control and supervise setpoint temperature will be available by default:
- “[AC] Temperature Setpoint”: 2-Byte object that allow selecting decimal temperature values that belong to the range [16º-31º].
- “[AC] Temperature Setpoint (Status)”: 2-Byte object that provides the Temperature setpoint status.
- Note: A X.Y value will be rounded to X.0 if [Y < 5] or to X.5 if [Y ≥ 5].
- Status object will be updated to the last setpoint temperature value received by the A/C unit after a complete communication cycle and will be sent to KNX bus every time that its value changes.
Setpoint limits can be configured by parameter:
- Setpoint Limits [disabled/enabled]: allows restricting the range of the temperature setpoint (from below in the Cooling, Dry and Auto modes and from above in the Heating and Auto modes), provided that the limits are still within the predefined limits of the A/C unit. When KLIC-MITT v3 receives an order to send the A/C unit a setpoint which is greater or lower than the configured limits, it will actually send the limit value.
- Minimum (Cooling / Dry / Auto Mode) [16…31][ºC]: sets the upper limit.
- Maximum (Heating / Auto Mode) [16…31][ºC]: sets the lower limit.
Note: if the maximum limit is lower than or equal to the minimum limit, the limits will not be taken into account under the Auto mode.
- Once these limits are enabled, several objects to modify them at run time will be available. The values of this objects will be restricted to an interval which is defined by the absolute limits established by the A/C unit (16ºC to 31ºC).
- “[AC] Temperature Setpoint: Lower Limit”: 2-Byte object that allows changing the lower limit at run time.
- “[AC] Temperature Setpoint: Lower Limit (Status)”: 2-Byte object with the lower limit current value.
- “[AC] Temperature Setpoint: Upper Limit”: 2-Byte object that allows changing the upper limit at run time.
- “[AC] Temperature Setpoint: Upper Limit (Status)”: 2-Byte object with the upper limit current value.
- Notes:
- If [Minimum] ≥ [Maximum], limits will not be taken in account in Auto mode due to the incongruity. In this case, default values will be used.
- These parameters only can be set as integer values in ETS. However, at run time the associated objects allow decimal values.
REFERENCE TEMPERATURE
To control the temperature setpoint, the following objects are enabled by default: 
- External Reference Temperature Object [disabled/enabled]: enables the “[AC] External Reference Temperature” 2-Byte object, which provides the value of an external temperature sensor, which is used by the AC machine as the reference to execute the control loop.
- If after 3 minutes, no temperature values are received, the control will be done with the internal sensor of the machine as if this option had not been enabled. If an external temperature value is received again, the control will be performed with the external reference temperature again. The allowed range of values is [0-70] ºC, if a value outside the allowed range is received for the external reference temperature, it will be ignored.
The machine will continue executing its control loop with the same reference temperature, but KLIC-MITT v3 will send an adjusted temperature setpoint following the following formula:
- Adjusted setpoint temperature = Setpoint temp. + [AC measured temp. – External reference temp.]
- Important: If the external reference temperature is enabled, it is recommended not to use the wired remote control or, failing that, not to change the setpoint from it.
AUTOMATIC OFF 
- Automatic Off [disabled/enabled]: enables the “[AC] Automatic Off” and the “[AC] Automatic Off (Status)” binary objects, which lets performing a temporary switch-off of the A/C unit or reading the current status. This object will be typically linked to a window sensor or a similar event trigger.
- During the temporary switch-off state, KLIC-MITT v3 will still monitor any control orders being received (setpoint, fan speed, etc.), so they can be applied once it leaves such state.
- Automatic Off Delay [1…60…3600][s]: sets the time, in seconds, KLIC-MITT v3 waits before switching the A/C machine off. Any switch-off order received during the delay will abort the time count. This delay can be modified at runtime through the object “[AC] Automatic Off Delay”. The sending of the value “0” disables the automatic off functionality.
- Note: switch-on orders sent to the A/C unit from a wired remote control have a higher priority than the Auto Off mode.
INITIAL CONFIGURATION
- Initial Configuration: allows setting the desired initial state that KLIC-MITT v3 will send the A/C unit after programming or restarting the device:
- Default: the initial state will be the last one KLIC-MITT v3 is aware of.
- Custom: see section 2.2.4.
SCENES
Scenes [disabled/enabled]: allows setting up different scenes (up to 5), consisting each of them in a set of orders to be sent to the A/C unit upon the reception of scene trigger values through the KNX bus. See section 2.2.5.
OPERATING TIME 
- The operating time of the A/A machine in hours and/or seconds can be known.
- The time that A/C unit has been operating, can be known through the 2-Byte object “[AC] Operating time”. This object can be read and overwritten during executing time.
The available parameters in ETS are:
- Seconds [disabled/enabled]: enables the 2-Byte object “[AC] Operating time (s)”. This object can be read and overwritten during executing time.
- Hours [disabled/enabled]: enables the 4-Byte object “[AC] Operating time (h)”. This object can be read and overwritten during executing time.
- Initial Operation Time:
- Keep Current Value: option enabled by default, which keep the previous value.
- Set New Value: allows establishing an initial operating time value.
- Periodic Sending [0…65535][s][min][h]: resending period of operating time If set to 0 the periodic send is disabled.
When operating time object reaches its maximum value, it will be send through KNX bus (in spite of the fact that the periodical sending has not been configured) and it will keep this value until the user reset it.
FAN
- The Fan function allows sending the A/C unit orders to switch the ventilation speed along the available levels. To that end, KLIC-MITT v3 provides both a percentage control and a binary control.
- In addition, KLIC-MITT v3 allows activating the automatic fan speed mode, in case of being available in the unit.
- Referring to the user manual of the A/C unit is advisable prior to setting up these options.
ETS PARAMETRISATION
After enabling this function, the menu on the left will show a new tab named Fan, containing the following parameters: 
- Number of Fan Speeds [2 / 3 / 4]: allows specifying the number of the fan levels distinguished by the A/C unit. This determines the values of the “[AC] Fan: Percentage Control” and “[AC]
- Fan: Percentage Control (Status)” one-byte objects, which allow setting and reading the fan speed, respectively. The following tables show the percentage values that correspond to each of the available fan speeds:
Two levels:
| Control Values | Status Value | Level Sent to the Unit |
| 1-50% | 50% | 1 (minimum) |
| 51-100% | 100% | 2 (maximum) |
Table 2. Fan speed (two levels)
Three levels:
| Control Values | Status Value | Level Sent to the Unit |
| 1-33% | 33% | 1 (minimum) |
| 34-66% | 66% | 2 |
| 67-100% | 100% | 3 (maximum) |
Table 3. Fan speed (three levels)
Four levels:
| Control Values | Status Values | Level Sent to the Unit |
| 1-25% | 25% | 1 (minimum) |
| 26-50% | 50% | 2 |
| 51-75% | 75% | 3 |
| 76-100% | 100% | 4 (maximum) |
Table 4. Fan speed (four levels)
- Automatic Mode Available [disabled/enabled]: sets whether the A/C unit incorporates an automatic fan speed mode. If enabled, value “0%” of the “[AC] Fan: Percentage Control” and “[AC] Fan: Percentage Control (Status)” objects will be reserved for triggering or reporting such mode, respectively. Moreover, two more parameters will show:
- Individual Object for Automatic Mode [disabled/enabled]: enables the “[AC] Fan: Automatic” and “[AC] Fan: Automatic (Status)” one-bit objects, which will let activating/deactivating the automatic mode or reading the current status, respectively.
- Automatic Mode Object [0 = Automatic On; 1 = Automatic Off / 0 = Automatic Off; 1 = Automatic On]: sets the polarity of the above objects.
- Step Control (1 Bit) [disabled/enabled]: enables the “[AC] Fan: Step Control” one-bit object for increasing (value “1”) or decreasing (value “0”) the current speed level sequentially. This sequence can be either “Cyclical” (a further step once reaching the maximum level activates the minimum level again) or “Non Cyclical”.

- In case of having enabled the automatic mode, the control sequence will differ:
- Non-cyclical: the automatic mode will be placed before the minimum speed (speed 1): Auto ↔ Minimum ↔ … ↔ Maximum.
- Cyclical: the automatic mode will be placed between the maximum speed (speed n) and the minimum speed (speed 1): Auto ↔ Minimum ↔ … ↔ Maximum ↔ Auto ↔ Minimum ↔ …
FLAPS
- The Flaps function allows sending the A/C unit orders to switch the position of the flaps (or vanes) that direct the air flow outwards. To that end, KLIC-MITT v3 provides both a percentage control and a binary control.
- In addition, KLIC-MITT v3 allows activating the automatic flap position mode and the swing function (so the flaps oscillate continuously for better distribution of the airflow), in case of being available in the unit.
- Referring to the user manual of the A/C unit is advisable prior to setting up these options.
ETS PARAMETRISATION
After enabling this function, the menu on the left will show a new tab named Flaps, containing the following parameters:
Number of Flap Positions [4 / 5]: this determines the values of the “[AC] Flaps: Percentage Control” and “[AC] Flaps: Percentage Control (Status)” one-byte objects, which allow setting and reading the position of the flaps, respectively. The following tables show the percentage values that correspond to each of the available positions:
Four positions:
| Control Values | Status Value | Position Sent to the Unit |
| 1-25% | 25% | Position 1 |
| 26-50% | 50% | Position 2 |
| 51-75% | 75% | Position 3 |
| 76-100% | 100% | Position 4 |
Table 5. Flap position (four positions)
Five positions:
| Control Values | Status Value | Position Sent to the Unit |
| 1-20% | 20% | Position 1 |
| 21-40% | 40% | Position 2 |
| 41-60% | 60% | Position 3 |
| 61-80% | 80% | Position 4 |
| 81-100% | 100% | Position 5 |
Table 6. Flap position (five positions)
- Swing Available [disabled/enabled]: sets whether the A/C unit incorporates a Swing function. If enabled, value “0%” of the “[AC] Flaps: Percentage Control” and “[AC] Flaps: Percentage Control (Status)” objects will be reserved for triggering such function and reporting whether it is currently active, respectively. Moreover, two more parameters will show:
- Individual Object for Swing [disabled/enabled]: enables the “[AC] Flaps: Swing” and “[AC] Flaps: Swing (Status)” one-bit objects, which will let activating/deactivating the swing function or reading its current status, respectively.
- Swing Object On/Off [0 = Swing On; 1 = Swing Off / 0 = Swing Off; 1 = Swing On]: sets the polarity of the above objects.
- Automatic Mode Available [disabled/enabled]: sets whether the A/C unit incorporates an automatic flap position control. If enabled, the “[AC] Flaps: Automatic” and “[AC] Flaps: Automatic (Status)” binary objects are incorporated into the project topology to allow activating or deactivating such mode and consulting whether it is currently active, respectively. An additional parameter is also shown:
- Automatic Mode Object On/Off [0 = Automatic On; 1 = Automatic Off / 0 = Automatic Off; 1 = Automatic On]: sets the polarity of the above objects.
Note: the device will leave the automatic mode if a manual request to set a specific flap position is received from the KNX bus.
- Automatic Mode Object On/Off [0 = Automatic On; 1 = Automatic Off / 0 = Automatic Off; 1 = Automatic On]: sets the polarity of the above objects.
- Step Control (1 Bit) [disabled/enabled]: enables the “[AC] Flap: Step Control” one-bit object to allow navigating along the available flap positions, either in one way (value “1”) or another (value “0”). This sequence can be either “Cyclical” (a further step once reaching the last position activates the first position again) or “Non Cyclical”:

In case of having enabled the swing function, the control sequence will differ:
- Non-cyclical: the swing function will be placed before the initial position: Swing ↔ Position 1 ↔ … ↔ Position n.
- Cyclical: the swing function will be placed between the last position (position n) and the first position (position 1): Swing ↔ Position 1 ↔ … ↔ Position n ↔ Swing ↔ Position 1 ↔ …
Note: on certain A/C unit models, some positions may not be available under the Cool mode, as a measure to prevent that a cold air flow is outputted directly to particular points of the room where people are supposed to stand. Analogously, other positions may not be permitted by the A/C unit under the Heat mode, to prevent hot air accumulation on the top of the room.
INITIAL CONFIGURATION
- The custom initial configuration allows setting the desired status that KLIC-MITT v3 will send the A/C unit after downloading or restarting the device. This status is defined in terms of on/off, mode, fan speed, flaps position and temperature setpoint.
- In addition, it is possible to activate an initial sending of this status to the KNX bus.
ETS PARAMETRISATION
After selecting “Custom” for the Initial Configuration option under the “Configuration” tab (see section 2.2.1), a new tab named Initial Configuration is displayed with the following parameters: 
- On/Off [Last / On / Off], as “Last” is the state in which the machine was before the power failure.
- Mode [Last / Automatic / Heating / Cooling / Fan / Dry].
- Fan [Last]: parameter only available if “Fan” is enabled in the configuration tab of AC gateway. Among the options may also be available:
- Automatic: if the automatic fan speed control is enabled,
- 1 / 2 / 3 / 4: or any of the available fan speeds.
- Flaps [Last]: parameter only available if “Flaps” is enabled in the configuration tab of AC gateway. Among the options may also be available:
- Swing: if available,
- Auto: if the automatic flap position control is available,
- 1 / 2 / 3 / 4 / 5: or any of the available flap positions.
- Setpoint [disabled/enabled]:
- Value:
- Last: the setpoint temperature value will be kept. Only available if Setpoint parameter remains disabled.
- 16…25…31 ºC: concrete value of the set temperature.
- Send initial configuration [disabled/enabled]: If enabled, the status objects will be sent to the KNX bus after the parameterized delay [0…3600][s].
Note: even if this option is not enabled, the status objects may be sent to the KNX bus if the initial configuration differs from the current status of the A/C machine.
SCENES
The Scenes function allows defining a set of statuses (in terms of On/Off, mode, fan speed, etc.) that KLIC-MITT v3 will send to the A/C unit whenever it receives the corresponding scene values from the KNX bus.
ETS PARAMETRISATION
After enabling this function (see section 2.2.1), a new tab named Scenes will be incorporated to the tab tree. It allows setting up different scenes (up to 5), consisting each of them in a set of orders to be sent to the A/C unit upon the reception, through the KNX bus and by means of the “[AC] Scenes” object, of the corresponding scene value. 
For every enabled scene, the particular parameters that should be configured are:
- Scene number [1…64]: sets the scene number that, upon reception through the “[AC] Scenes” object, will trigger the corresponding orders, as defined next:
- On/Off [No Change / On / Off], if “No Change” is selected, the machine will keep the last state it was in before the scene reception.
- Mode [No Change / Automatic / Heating / Cooling / Fan / Dry].
- Fan [No change]: parameter only available if “Fan” is enabled in the configuration tab of AC gateway. Among the options may also be available:
- Automatic: if the automatic fan speed control is enabled,
- 1 / 2 / 3 / 4: or any of the available fan speeds.
- Flaps [No change]: parameter only available if “Flaps” is enabled in the configuration tab of AC gateway. Among the options may also be available:
- Swing: if available,
- Auto: if the automatic flap position control is available,
- 1 / 2 / 3 / 4 / 5: or any of the available flap positions.
- Setpoint [disabled/enabled]:
Value:- No Change: the last setpoint temperature value will kept. Only available if Setpoint parameter remains disabled.
- o 16…25…31 ºC: concrete value of the set temperature.
ERROR HANDLING
KLIC-MITT v3 can manage two error types that do not entail any previous parameter configuration:
- Communication (or internal) errors: errors in the communication process between KLIC-MITT v3 and the A/C unit. These types of errors are notified by the green LED as indicated below:
- Communication error: KLIC-MITT v3 is not able to establish communication with the A/C machine. The green LED remains on.
- No response (time out): KLIC-MITT v3 received no response after sending a request to the A/C unit. The green LED blinks twice and stays off during 3 seconds.
- Wrong acknowledgement: KLIC-MITT v3 received an unexpected response after sending a request to the A/C unit. The green LED blinks three times and stays off during 3 seconds.
- In case any of the above errors is detected, the corresponding object will be sent periodically (with a value of “1”) to the KNX bus. Once the error is over, it the object will be sent (once) with a value of “0”. The object associated with each error will be, respectively:
- “[AC] Internal Error: Communication” (1-Bit).
- “[AC] Internal Error: Timeout” (1-Bit).
- “[AC] Internal Error: Wrong Acknowledgement” (1-Bit).
- Errors in the A/C unit: errors reported by the A/C unit itself. KLIC-MITT v3 can notify the KNX bus about the reported error code, although referring to the specific documentation of the A/C machine is advisable in order to obtain further information.
In case the A/C unit reports an error, the binary object “[AC] AC Unit Error: Active Error” will be sent with value “1”, while the 14-bytes object “[AC] AC Unit Error: Error Code” will report the corresponding error code. Once the error is over, the binary object will send a value of “0” and error code object will update its value to “0”. Please, refer to Mitsubishi error codes documentation for details about the error codes.
Notes:
- If there is no wired remote control in the installation, and control is only executed by KLIC-MITT v3, in order to deactivate an error, it is necessary, once the cause that has produce the error has been solved, to do an off order of A/C unit.
- To deactivate a control error, it is necessary to remove the power of A/C unit, later connect the correct number of controllers and finally recover the power.
INPUTS
KLIC-MITT v3 incorporates two analogue/digital inputs, each configurable as a:
- Binary Input, for the connection of a pushbutton or a switch/sensor.
- Temperature Probe, for the connection of a temperature sensor.
- Motion Detector, for the connection of a motion detector (models ZN1IO-DETEC-P and ZN1IO-DETEC-X from Zennio).
- Important: older models of the Zennio motion detector (e.g., ZN1IO-DETEC and ZN1IO-DETEC-N) will not work properly with KLIC-MITT v3.
- BINARY INPUT
Please refer to the “Binary Inputs” user manual, available in the KLIC-MITT v3 product section, at the Zennio website (www.zennio.com). - TEMPERATURE PROBE
Please refer to the “Temperature Probe” user manual, available in the KLIC-MITT v3 product section, at the Zennio website (www.zennio.com). - MOTION DETECTOR
It is possible to connect motion detectors (models ZN1IO-DETEC-P and ZN1IO-DETEC-X from Zennio) to the input ports of KLIC-MITT v3.
Please refer to the “Motion Detector” user manual, available in the KLIC-MITT v3 product section, at the Zennio website (www.zennio.com) for detailed information about the functionality and the configuration of the related parameters.
Notes:
- The ZN1IO-DETEC-P motion detector is compatible with a variety of Zennio devices. However, depending on the device it is actually being connected to, the functionality may differ slightly. Therefore, please refer specifically to the corresponding product section to obtain the aforementioned document.
- Motion detectors with references ZN1IO-DETEC and ZN1IO-DETEC-N are not compatible with KLIC-MITT v3 (may report inaccurate measurements if connected to this device).
- When connected to KLIC-MITT v3, the rear micro-switch of model ZN1IO-DETEC-P should be set to position “Type B”.
LOGIC FUNCTIONS
- This module makes it possible to perform numeric and binary operations with incoming values received from the KNX bus, and to send the results through other communication objects specifically enabled for this purpose.
- KLIC-MITT v3 can implement up to 10 different and independent functions, each of them entirely customisable and consisting in up to 4 consecutive operations each.
- The execution of each function can depend on a configurable condition, which will be evaluated every time the function is triggered through specific, parameterisable communication objects. The result after executing the operations of the function can also be evaluated according to certain conditions and afterwards sent (or not) to the KNX bus, which can be done every time the function is executed, periodically or only when the result differs from the last one.
- Please refer to the “Logic Functions” user manual (available in the KLIC-MITT v3 product section at the Zennio homepage, www.zennio.com) for detailed information about the functionality and the configuration of the related parameters.
ANNEX I. COMMUNICATION OBJECTS
“Functional range” shows the values that, with independence of any other values permitted by the bus according to the object size, may be of any use or have a particular meaning because of the specifications or restrictions from both the KNX standard or the application program itself.
| Number | Size | I/O | Flags | Data type (DPT) | Functional Range | Name | Function |
| 1 | 1 Byte | I/O | C R W T U | DPT_SceneControl | 0-63; 128-191 | [AC] Scene | 0 – 63 (Execute 1 – 64); 128 – 129 (Save 1 – 64) |
| 2 | 1 Bit | I | C – W – – | DPT_Switch | 0/1 | [AC] On/Off | 0 = Off; 1 = On |
| 3 | 1 Bit | O | C R – T – | DPT_Switch | 0/1 | [AC] On/Off (Status) | 0 = Off; 1 = On |
| 4 | 2 Bytes | I | C – W – – | DPT_Value_Temp | -273,00º – 670433,28º | [AC] Temperature Setpoint | [16 … 31] ºC |
| 5 | 2 Bytes | O | C R – T – | DPT_Value_Temp | -273,00º – 670433,28º | [AC] Temperature Setpoint (Status) | [16 … 31] ºC |
| 6 | 2 Bytes | I | C – W – – | DPT_Value_Temp | -273,00º – 670433,28º | [AC] Temperature Setpoint: Upper Limit | [16 … 31] ºC |
| 7 | 2 Bytes | O | C R – T – | DPT_Value_Temp | -273,00º – 670433,28º | [AC] Temperature Setpoint: Upper Limit (Status) | [16 … 31] ºC |
| 8 | 2 Bytes | I | C – W – – | DPT_Value_Temp | -273,00º – 670433,28º | [AC] Temperature Setpoint: Lower Limit | [16 … 31] ºC |
| 9 | 2 Bytes | O | C R – T – | DPT_Value_Temp | -273,00º – 670433,28º | [AC] Temperature Setpoint: Lower Limit (Status) | [16 … 31] ºC |
| 10 | 1 Byte | I | C – W – – | DPT_HVACContrMode | 0=Auto 1=Calor 3=Frío 9=Viento 14=Seco | [AC] Mode | 0 = Automatic; 1 = Heating; 3 = Cooling; 9 = Fan; 14 = Dry |
| 11 | 1 Byte | O | C R – T – | DPT_HVACContrMode | 0=Auto 1=Calor 3=Frío 9=Viento 14=Seco | [AC] Mode (Status) | 0 = Automatic; 1 = Heating; 3 = Cooling; 9 = Fan; 14 = Dry |
| 12 | 1 Bit | I | C – W – – | DPT_Heat_Cool | 0/1 | [AC] Simplified Mode | 0 = Cooling; 1 = Heating |
| 13 | 1 Bit | O | C R – T – | DPT_Heat_Cool | 0/1 | [AC] Simplified Mode (Status) | 0 = Cooling; 1 = Heating |
| 14 | 1 Byte | I | C – W – – | DPT_Scaling | 0% – 100% | [AC] Fan: Percentage Control | [0]% = Automatic; [0.4. 50.2]% = S1; [50.6. 100]% = S2 |
| 1 Byte | I | C – W – – | DPT_Scaling | 0% – 100% | [AC] Fan: Percentage Control | [0.4…50.2]% = S1; [50.6…100]% = S2 | |
| 1 Byte | I | C – W – – | DPT_Scaling | 0% – 100% | [AC] Fan: Percentage Control | [0]% = Automatic; [0.4. 33.3]% = S1; [33.7…66.7]% = S2; [67.1. 100]% = S3 | |
| 1 Byte | I | C – W – – | DPT_Scaling | 0% – 100% | [AC] Fan: Percentage Control | [0.4…33.3]% = S1; [33.7.. 66.7]% = |
| S2; [67.1…100]% = S3 | |||||||
| 1 Byte | I | C – W – – | DPT_Scaling | 0% – 100% | [AC] Fan: Percentage Control |
|
|
| 1 Byte |
I |
C – W – – | DPT_Scaling | 0% – 100% | [AC] Fan: Percentage Control | [0.4…25.1]% = S1; [25.5…………………………….. 50.2]% = S2; [50.6…75.3]% = S3; [75.5…………………………………. 100]% = S4 | |
| 15 | 1 Byte | O | C R – T – | DPT_Scaling | 0% – 100% | [AC] Fan: Percentage Control (Status) | Automatic = 0%; S1 = 50.2%; S2 = 100% |
| 1 Byte | O | C R – T – | DPT_Scaling | 0% – 100% | [AC] Fan: Percentage Control (Status) | S1 = 50.2%; S2 = 100% | |
| 1 Byte | O | C R – T – | DPT_Scaling | 0% – 100% | [AC] Fan: Percentage Control (Status) | Automatic = 0%; S1 = 33.3%; S2 = 66.7%; S3 = 100% | |
| 1 Byte | O | C R – T – | DPT_Scaling | 0% – 100% | [AC] Fan: Percentage Control (Status) | S1 = 33.3%; S2 = 66.7%; S3 = 100% | |
| 1 Byte | O | C R – T – | DPT_Scaling | 0% – 100% | [AC] Fan: Percentage Control (Status) | Automatic = 0%; S1 = 25.1%; S2 = 50.2%; S3 = 75.3%; S4 = 100% | |
| 1 Byte | O | C R – T – | DPT_Scaling | 0% – 100% | [AC] Fan: Percentage Control (Status) | S1 = 25.1%; S2 = 50.2%; S3 = 75.3%;
S4 = 100% |
|
| 16 | 1 Bit | I | C – W – – | DPT_Enable | 0/1 | [AC] Fan: Automatic | 0 = Automatic On; 1 = Automatic Off (Speed 1) |
| 1 Bit | I | C – W – – | DPT_Enable | 0/1 | [AC] Fan: Automatic | 0 = Automatic Off (Speed 1); 1 = Automatic On | |
| 17 | 1 Bit | O | C R – T – | DPT_Enable | 0/1 | [AC] Fan: Automatic (Status) | 0 = Automatic On; 1 = Automatic Off |
| 1 Bit | O | C R – T – | DPT_Enable | 0/1 | [AC] Fan: Automatic (Status) | 0 = Automatic Off; 1 = Automatic On | |
| 18 | 1 Bit | I | C – W – – | DPT_Step | 0/1 | [AC] Fan: Step Control | 0 = Down; 1 = Up |
| 19 | 1 Bit | I | C – W – – | DPT_Switch | 0/1 | [AC] Flaps: Swing | 0 = Swing On; 1 = Swing Off |
| 1 Bit | I | C – W – – | DPT_Switch | 0/1 | [AC] Flaps: Swing | 0 = Swing Off; 1 = Swing On | |
| 20 | 1 Bit | O | C R – T – | DPT_Switch | 0/1 | [AC] Flaps: Swing (Status) | 0 = Swing On; 1 = Swing Off |
| 1 Bit | O | C R – T – | DPT_Switch | 0/1 | [AC] Flaps: Swing (Status) | 0 = Swing Off; 1 = Swing On | |
| 21 | 1 Bit | I | C – W – – | DPT_Enable | 0/1 | [AC] Flaps: Automatic | 0 = Automatic On; 1 = Automatic Off |
| 1 Bit | I | C – W – – | DPT_Enable | 0/1 | [AC] Flaps: Automatic | 0 = Automatic Off; 1 = Automatic On | |
| 22 | 1 Bit | O | C R – T – | DPT_Enable | 0/1 | [AC] Flaps: Automatic (Status) | 0 = Automatic On; 1 = Automatic Off |
| 1 Bit | O | C R – T – | DPT_Enable | 0/1 | [AC] Flaps: Automatic (Status) | 0 = Automatic Off; 1 = Automatic On | |
| 23 | 1 Bit | I | C – W – – | DPT_Step | 0/1 | [AC] Flaps: Step Control | 0 = Down; 1 = Up |
| 24 |
1 Byte |
I |
C – W – – |
DPT_Scaling |
0% – 100% |
[AC] Flaps: Percentage Control | [0]% = Swing; [0.4. 25.1]% = P1;
[25.5…50.2]% = P2; [50.6. 75.3]% =
P3; [75.5. 100]% = P4 |
| 1 Byte | I | C – W – – | DPT_Scaling | 0% – 100% | [AC] Flaps: Percentage Control | [0.4…25.1]% = P1; [25.5…………………………….. 50.2]% = P2; [50.6…75.3]% = P3; [75.5. 100]% = P4 | |
| 1 Byte | I | C – W – – | DPT_Scaling | 0% – 100% | [AC] Flaps: Percentage Control | [0]% = Swing; [0.39…20]% = P1; [20.39…40]% = P2; [40.39…60]% = P3; [60.39…80]% = P4; [80.39…100]% = |
| P5 | |||||||
| 1 Byte |
I |
C – W – – |
DPT_Scaling |
0% – 100% |
[AC] Flaps: Percentage Control | [0.39…20]% = P1; [20.39…40]% = P2; [40.39…60]% = P3; [60.39…80]% = P4; [80.39…100]% = P5 | |
| 25 | 1 Byte | O | C R – T – | DPT_Scaling | 0% – 100% | [AC] Flaps: Percentage Control (Status) | Swing = 0%; P1 = 25.1%; P2 = 50.2%; P3 = 75.3%; P4 = 100% |
| 1 Byte | O | C R – T – | DPT_Scaling | 0% – 100% | [AC] Flaps: Percentage Control (Status) | P1 = 25.1%; P2 = 50.2%; P3 = 75.3%; P4 = 100% | |
| 1 Byte | O | C R – T – | DPT_Scaling | 0% – 100% | [AC] Flaps: Percentage Control (Status) | Swing = 0%; P1 = 20%; P2 = 40%; P3 = 60%; P4 = 80%; P5 = 100% | |
| 1 Byte | O | C R – T – | DPT_Scaling | 0% – 100% | [AC] Flaps: Percentage Control (Status) | P1 = 20%; P2 = 40%; P3 = 60%; P4 = 80%; P5 = 100% | |
| 26 | 2 Bytes | O | C R – T – | DPT_Value_Temp | -273,00º – 670433,28º | [AC] AC Unit Measured Temperature | Temperature from the internal sensor (ºC) |
| 27 | 2 Bytes | I | C – W – – | DPT_Value_Temp | -273,00º – 670433,28º | [AC] External Reference Temperature | [0 … 70] ºC |
| 28 | 1 Bit | I | C – W – – | DPT_Switch | 0/1 | [AC] Automatic Off | 0 = Deactivate; 1 = Activate |
| 29 | 1 Bit | O | C R – T – | DPT_Switch | 0/1 | [AC] Automatic Off (Status) | 0 = Inactive; 1 = Active |
| 30 | 2 Bytes | I | C – W – – | DPT_TimePeriodSec | 0 – 65535 | [AC] Automatic Off: Delay | [0 … 3600] s (0 = Disabled) |
| 31 | 4 Bytes | I/O | C R W T – | DPT_LongDeltaTimeSec | -2147483648 –
2147483647 |
[AC] Operating Time (s) | Time in seconds |
| 32 | 2 Bytes | I/O | C R W T – | DPT_TimePeriodHrs | 0 – 65535 | [AC] Operating Time (h) | Time in hours |
| 33 | 1 Bit | O | C R – T – | DPT_Alarm | 0/1 | [AC] Internal Error: Communication | Unable to Set AC Communication |
| 34 | 1 Bit | O | C R – T – | DPT_Alarm | 0/1 | [AC] Internal Error: Timeout | No Acknowledgement Received from AC |
| 35 | 1 Bit | O | C R – T – | DPT_Alarm | 0/1 | [AC] Internal Error: Wrong Acknowledgement | Acknowledgement Received with Errors |
| 36 | 1 Bit | O | C R – T – | DPT_Alarm | 0/1 | [AC] AC Unit Error: Active Error | AC Unit Error |
| 37 | 14 Bytes | O | C R – T – | DPT_String_ASCII | [AC] AC Unit Error: Error Code | See AC Unit Manual | |
| 38, 42 | 2 Bytes | O | C R – T – | DPT_Value_Temp | -273,00º – 670433,28º | [Ix] Current Temperature | Temperature Sensor Value |
| 39, 43 | 1 Bit | O | C R – T – | DPT_Alarm | 0/1 | [Ix] Overcooling | 0 = No Alarm; 1 = Alarm |
| 40, 44 | 1 Bit | O | C R – T – | DPT_Alarm | 0/1 | [Ix] Overheating | 0 = No Alarm; 1 = Alarm |
| 41, 45 | 1 Bit | O | C R – T – | DPT_Alarm | 0/1 | [Ix] Probe Error | 0 = No Alarm; 1 = Alarm |
| 46, 52 | 1 Bit | I | C – W – – | DPT_Enable | 0/1 | [Ix] Input Lock | 0 = Unlock; 1 = Lock |
| 47, 53 | 1 Bit | C – – T – | DPT_Switch | 0/1 | [Ix] [Short Press] 0 | Sending of 0 | |
| 1 Bit | C – – T – | DPT_Switch | 0/1 | [Ix] [Short Press] 1 | Sending of 1 | ||
| 1 Bit | I | C – W T – | DPT_Switch | 0/1 | [Ix] [Short Press] 0/1 Switching | Switching 0/1 | |
| 1 Bit | C – – T – | DPT_UpDown | 0/1 | [Ix] [Short Press] Move Up Shutter | Sending of 0 (Up) | ||
| 1 Bit | C – – T – | DPT_UpDown | 0/1 | [Ix] [Short Press] Move Down Shutter | Sending of 1 (Down) | ||
| 1 Bit | C – – T – | DPT_UpDown | 0/1 | [Ix] [Short Press] Move Up/Down Shutter | Switching 0/1 (Up/Down) | ||
| 1 Bit | C – – T – | DPT_Step | 0/1 | [Ix] [Short Press] Stop/Step Up Shutter | Sending of 0 (Stop/Step Up) | ||
| 1 Bit | C – – T – | DPT_Step | 0/1 | [Ix] [Short Press] Stop/Step Down Shutter | Sending of 1 (Stop/Step Down) |
| 1 Bit | C – – T – | DPT_Step | 0/1 | [Ix] [Short Press] Stop/Step Shutter (Switched) | Switching of 0/1 (Stop/Step Up/Down) | ||
| 4 Bit | C – – T – | DPT_Control_Dimming | 0x0 (Detener) 0x1 (Reducir 100%) .. 0x7 (Reducir 1%) 0x8 (Detener) 0x9 (Subir 100%) … 0xF (Subir 1%) | [Ix] [Short Press] Brighter | Increase Brightness | ||
| 4 Bit | C – – T – | DPT_Control_Dimming | 0x0 (Detener) 0x1 (Reducir 100%) … 0x7 (Reducir 1%) 0x8 (Detener) 0x9 (Subir 100%) … 0xF (Subir 1%) | [Ix] [Short Press] Darker | Decrease Brightness | ||
| 4 Bit | C – – T – | DPT_Control_Dimming | 0x0 (Detener) 0x1 (Reducir 100%) … 0x7 (Reducir 1%) 0x8 (Detener) 0x9 (Subir 100%) … 0xF (Subir 1%) | [Ix] [Short Press] Brighter/Darker | Switch Bright/Dark | ||
| 1 Bit | C – – T – | DPT_Switch | 0/1 | [Ix] [Short Press] Light On | Sending of 1 (On) | ||
| 1 Bit | C – – T – | DPT_Switch | 0/1 | [Ix] [Short Press] Light Off | Sending of 0 (Off) | ||
| 1 Bit | I | C – W T – | DPT_Switch | 0/1 | [Ix] [Short Press] Light On/Off | Switching 0/1 | |
| 1 Byte | C – – T – | DPT_SceneControl | 0-63; 128-191 | [Ix] [Short Press] Run Scene | Sending of 0 – 63 | ||
| 1 Byte | C – – T – | DPT_SceneControl | 0-63; 128-191 | [Ix] [Short Press] Save Scene | Sending of 128 – 191 | ||
| 1 Bit | I/O | C R W T – | DPT_Switch | 0/1 | [Ix] [Switch/Sensor] Edge | Sending of 0 or 1 | |
| 1 Byte | C – – T – | DPT_Value_1_Ucount | 0 – 255 | [Ix] [Short Press] Constant Value (Integer) | 0 – 255 | ||
| 1 Byte | C – – T – | DPT_Scaling | 0% – 100% | [Ix] [Short Press] Constant Value (Percentage) | 0% – 100% | ||
| 2 Bytes | C – – T – | DPT_Value_2_Ucount | 0 – 65535 | [Ix] [Short Press] Constant Value (Integer) | 0 – 65535 | ||
| 2 Bytes | C – – T – | 9.xxx | -671088,64 – 670433,28 | [Ix] [Short Press] Constant Value (Float) | Float Value | ||
| 48, 54 | 1 Byte | I | C – W – – | DPT_Scaling | 0% – 100% | [Ix] [Short Press] Shutter Status (Input) | 0% = Top; 100% = Bottom |
| 1 Byte | I | C – W – – | DPT_Scaling | 0% – 100% | [Ix] [Short Press] Dimming Status (Input) | 0% – 100% | |
|
49, 55 |
1 Bit | C – – T – | DPT_Switch | 0/1 | [Ix] [Long Press] 0 | Sending of 0 | |
| 1 Bit | C – – T – | DPT_Switch | 0/1 | [Ix] [Long Press] 1 | Sending of 1 | ||
| 1 Bit | I | C – W T – | DPT_Switch | 0/1 | [Ix] [Long Press] 0/1 Switching | Switching 0/1 | |
| 1 Bit | C – – T – | DPT_UpDown | 0/1 | [Ix] [Long Press] Move Up Shutter | Sending of 0 (Up) |
| 1 Bit | C – – T – | DPT_UpDown | 0/1 | [Ix] [Long Press] Move Down Shutter | Sending of 1 (Down) | ||
| 1 Bit | C – – T – | DPT_UpDown | 0/1 | [Ix] [Long Press] Move Up/Down Shutter | Switching 0/1 (Up/Down) | ||
| 1 Bit | C – – T – | DPT_Step | 0/1 | [Ix] [Long Press] Stop/Step Up Shutter | Sending of 0 (Stop/Step Up) | ||
| 1 Bit | C – – T – | DPT_Step | 0/1 | [Ix] [Long Press] Stop/Step Down Shutter | Sending of 1 (Stop/Step Down) | ||
| 1 Bit | C – – T – | DPT_Step | 0/1 | [Ix] [Long Press] Stop/Step Shutter (Switched) | Switching of 0/1 (Stop/Step Up/Down) | ||
| 4 Bit | C – – T – | DPT_Control_Dimming | 0x0 (Detener) 0x1 (Reducir 100%) … 0x7 (Reducir 1%) 0x8 (Detener) 0x9 (Subir 100%) … 0xF (Subir 1%) | [Ix] [Long Press] Brighter | Long Pr. -> Brighter; Release -> Stop | ||
| 4 Bit | C – – T – | DPT_Control_Dimming | 0x0 (Detener) 0x1 (Reducir 100%) … 0x7 (Reducir 1%) 0x8 (Detener) 0x9 (Subir 100%) … 0xF (Subir 1%) | [Ix] [Long Press] Darker | Long Pr. -> Darker; Release -> Stop | ||
| 4 Bit | C – – T – | DPT_Control_Dimming | 0x0 (Detener) 0x1 (Reducir 100%) … 0x7 (Reducir 1%) 0x8 (Detener) 0x9 (Subir 100%) … 0xF (Subir 1%) | [Ix] [Long Press] Brighter/Darker | Long Pr. -> Brighter/Darker; Release -> Stop | ||
| 1 Bit | C – – T – | DPT_Switch | 0/1 | [Ix] [Long Press] Light On | Sending of 1 (On) | ||
| 1 Bit | C – – T – | DPT_Switch | 0/1 | [Ix] [Long Press] Light Off | Sending of 0 (Off) | ||
| 1 Bit | I | C – W T – | DPT_Switch | 0/1 | [Ix] [Long Press] Light On/Off | Switching 0/1 | |
| 1 Byte | C – – T – | DPT_SceneControl | 0-63; 128-191 | [Ix] [Long Press] Run Scene | Sending of 0 – 63 | ||
| 1 Byte | C – – T – | DPT_SceneControl | 0-63; 128-191 | [Ix] [Long Press] Save Scene | Sending of 128 – 191 | ||
| 1 Bit | O | C R – T – | DPT_Alarm | 0/1 | [Ix] [Switch/Sensor] Alarm: Breakdown or Sabotage | 1 = Alarm; 0 = No Alarm | |
| 2 Bytes | C – – T – | 9.xxx | -671088,64 – 670433,28 | [Ix] [Long Press] Constant Value (Float) | Float Value | ||
| 2 Bytes | C – – T – | DPT_Value_2_Ucount | 0 – 65535 | [Ix] [Long Press] Constant Value (Integer) | 0 – 65535 | ||
| 1 Byte | C – – T – | DPT_Scaling | 0% – 100% | [Ix] [Long Press] Constant Value (Percentage) | 0% – 100% | ||
| 1 Byte | C – – T – | DPT_Value_1_Ucount | 0 – 255 | [Ix] [Long Press] Constant Value (Integer) | 0 – 255 | ||
| 50, 56 | 1 Bit | C – – T – | DPT_Trigger | 0/1 | [Ix] [Long Press/Release] Stop Shutter | Release -> Stop Shutter |
| 51, 57 | 1 Byte | I | C – W – – | DPT_Scaling | 0% – 100% | [Ix] [Long Press] Dimming Status (Input) | 0% – 100% |
| 1 Byte | I | C – W – – | DPT_Scaling | 0% – 100% | [Ix] [Long Press] Shutter Status (Input) | 0% = Top; 100% = Bottom | |
| 58 | 1 Byte | I | C – W – – | DPT_SceneNumber | 0 – 63 | [Motion Detector] Scene Input | Scene Value |
| 59 | 1 Byte | C – – T – | DPT_SceneControl | 0-63; 128-191 | [Motion Detector] Scene Output | Scene Value | |
| 60, 89 | 1 Byte | O | C R – T – | DPT_Scaling | 0% – 100% | [Ix] Luminosity | 0-100% |
| 61, 90 | 1 Bit | O | C R – T – | DPT_Alarm | 0/1 | [Ix] Open Circuit Error | 0 = No Error; 1 = Open Circuit Error |
| 62, 91 | 1 Bit | O | C R – T – | DPT_Alarm | 0/1 | [Ix] Short Circuit Error | 0 = No Error; 1 = Short Circuit Error |
| 63, 92 | 1 Byte | O | C R – T – | DPT_Scaling | 0% – 100% | [Ix] Presence State (Scaling) | 0-100% |
|
64, 93 |
1 Byte |
O |
C R – T – |
DPT_HVACMode |
1=Confort 2=Standby
3=Económico 4=Protección |
[Ix] Presence State (HVAC) |
Auto, Comfort, Standby, Economy, Building Protection |
| 65, 94 | 1 Bit | O | C R – T – | DPT_Switch | 0/1 | [Ix] Presence State (Binary) | Binary Value |
| 1 Bit | O | C R – T – | DPT_Start | 0/1 | [Ix] Presence: Slave Output | 1 = Motion Detected | |
| 66, 95 | 1 Bit | I | C – W – – | DPT_Window_Door | 0/1 | [Ix] Presence Trigger | Binary Value to Trigger the Presence Detection |
| 67, 96 | 1 Bit | I | C – W – – | DPT_Start | 0/1 | [Ix] Presence: Slave Input | 0 = Nothing; 1 = Detection from slave device |
| 68, 97 | 2 Bytes | I | C – W – – | DPT_TimePeriodSec | 0 – 65535 | [Ix] Presence: Waiting Time | 0-65535 s. |
| 69, 98 | 2 Bytes | I | C – W – – | DPT_TimePeriodSec | 0 – 65535 | [Ix] Presence: Listening Time | 1-65535 s. |
| 70, 99 | 1 Bit | I | C – W – – | DPT_Enable | 0/1 | [Ix] Presence: Enable | According to parameters |
| 71, 100 | 1 Bit | I | C – W – – | DPT_DayNight | 0/1 | [Ix] Presence: Day/Night | According to parameters |
| 72, 101 | 1 Bit | O | C R – T – | DPT_Occupancy | 0/1 | [Ix] Presence: Occupancy State | 0 = Not Occupied; 1 = Occupied |
| 73, 102 | 1 Bit | I | C – W – – | DPT_Start | 0/1 | [Ix] External Motion Detection | 0 = Nothing; 1 = Motion detected by an external sensor |
| 74, 79, 84, 103,
108, 113 |
1 Byte | O | C R – T – | DPT_Scaling | 0% – 100% | [Ix] [Cx] Detection State (Scaling) | 0-100% |
|
75, 80, 85, 104, 109, 114 |
1 Byte |
O |
C R – T – |
DPT_HVACMode |
1=Confort 2=Standby 3=Económico 4=Protección | [Ix] [Cx] Detection State (HVAC) |
Auto, Comfort, Standby, Economy, Building Protection |
| 76, 81, 86, 105,
110, 115 |
1 Bit | O | C R – T – | DPT_Switch | 0/1 | [Ix] [Cx] Detection State (Binary) | Binary Value |
| 77, 82, 87, 106,
111, 116 |
1 Bit | I | C – W – – | DPT_Enable | 0/1 | [Ix] [Cx] Enable Channel | According to parameters |
| 78, 83, 88, 107,
112, 117 |
1 Bit | I | C – W – – | DPT_Switch | 0/1 | [Ix] [Cx] Force State | 0 = No Detection; 1 = Detection |
| 118, 119, 120,
121, 122, 123, 124, 125, 126, 127, 128, 129, |
1 Bit |
I |
C – W – – |
DPT_Bool | 0/1 | [LF] (1-Bit) Data Entry x | Binary Data Entry (0/1) |
| 130, 131, 132,
133, 134, 135, 136, 137, 138, 139, 140, 141, 142, 143, 144, 145, 146, 147, 148, 149 |
|||||||
| 150, 151, 152,
153, 154, 155, 156, 157, 158, 159, 160, 161, 162, 163, 164, 165 |
1 Byte | I | C – W – – | DPT_Value_1_Ucount | 0 – 255 | [LF] (1-Byte) Data Entry x | 1-Byte Data Entry (0-255) |
| 166, 167, 168,
169, 170, 171, 172, 173, 174, 175, 176, 177, 178, 179, 180, 181 |
2 Bytes | I | C – W – – | DPT_Value_2_Ucount | 0 – 65535 | [LF] (2-Byte) Data Entry x | 2-Byte Data Entry |
| 182, 183, 184, 185, 186, 187, 188, 189 | 4 Bytes |
I |
C – W – – | DPT_Value_4_Count | -2147483648 – 2147483647 | [LF] (4-Byte) Data Entry x | 4-Byte Data Entry |
| 190, 191, 192, 193, 194, 195, 96, 197, 198, 199 | 1 Bit | O | C R – T – | DPT_Bool | 0/1 | [LF] Function x – Result | (1-Bit) Boolean |
| 1 Byte | O | C R – T – | DPT_Value_1_Ucount | 0 – 255 | [LF] Function x – Result | (1-Byte) Unsigned | |
| 2 Bytes | O | C R – T – | DPT_Value_2_Ucount | 0 – 65535 | [LF] Function x – Result | (2-Byte) Unsigned | |
| 4 Bytes | O | C R – T – | DPT_Value_4_Count | -2147483648 –
2147483647 |
[LF] Function x – Result | (4-Byte) Signed | |
| 1 Byte | O | C R – T – | DPT_Scaling | 0% – 100% | [LF] Function x – Result | (1-Byte) Percentage | |
| 2 Bytes | O | C R – T – | DPT_Value_2_Count | -32768 – 32767 | [LF] Function x – Result | (2-Byte) Signed | |
| 2 Bytes | O | C R – T – | 9.xxx | -671088,64 – 670433,28 | [LF] Function x – Result | (2-Byte) Float | |
| 200 | 1 Bit | C – – T – | DPT_Trigger | 0/1 | [Heartbeat] Object to Send ‘1’ | Sending of ‘1’ Periodically | |
| 201 | 1 Bit | C – – T – | DPT_Trigger | 0/1 | [Heartbeat] Device Recovery | Send 0 | |
| 202 | 1 Bit | C – – T – | DPT_Trigger | 0/1 | [Heartbeat] Device Recovery | Send 1 |
- Join and send us your inquiries about Zennio devices: https://support.zennio.com
- Zennio Avance y Tecnología S.L.
- C/ Río Jarama, 132. Nave P-8.11 45007 Toledo (Spain).
- Tel. +34 925 232 002.
- www.zennio.com
- [email protected]
- Technical Support: https://support.zennio35.com