WAREHOUSE OF TIFFANY 3008-1WA Sani 5 Inch 1-Light Indoor Chrome Wall Sconce Installation Guide
Contents
Product installation instructions
Please read this manual before installation. Please keep it for ref-erence

WIRE CONNECTION DIAGRAM
Wires meet satety standards are recommended to con-nect the supply circuit’]

CAUTION: Risk of fire
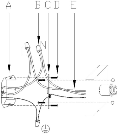
CANPY INSTALLATION INSTRUCTIONS
Please read all instructions carefully before you proceed to install make sure that the power supply is tumed off and remains off until installation is complete please not that each part has been assigned a letter please proceed in an alphabetical order .
A.Existing Elextrical box
B.junction caps
C.crossbar
D.crossbar screws E.wire
attach the crossbar (B) to the existing electrical box (A) using the two crossbar screws (D) which are not supplied and should al-ready in your box pass the main wire(E)and ground wire(-)through the crossbar (C) until the end of the main wire (E) reaches the electical box (A) where you can wire use electrician connections,Be sure when connecting the wire use electri-cian approved junction caps (B) ,stow the excess wire in the electical box (A) .raise the canopy.attach canopy to ceiling,and hold the canopy.


RELATED TO INSTALLATION
- To ensure the success of the installation,be sure to read theseinstructions carefully before beginning.
- Before installations,prepare the required tools,such as Blade screwdriver,Adjustable wrench,step ladder,wire cutter.
- AII electrical connections nust be in accordance with the National Electrical Code.Qualified licensed electricians are re-quired to conductthe installation of electrical wiring.
- The outlet box that is connected to the lighting must be di-rectly supported by the building structure.
- Before starting the installation,disconnect the power to pre-vent electrical shock.
INSTRUCTIONS
- Take out all lamp parts.The picture be-low shows the exact items that you re-ceive in this product. Please note that this picture may look differnt from the com-puter generate part table.The parts in the part table are not assembled but some parts in this part picture are assembled,so there may be fewer items in the picture than in the table.
- Part Table Please note:The parts in this table are completely unassembled,for illustrative purpose.in the actual product that you receive,some parts are assembled and at-tached together.
NOTE: Theimportant safeguards and installations appear-ing in this manual are not meant to cover all possible condi-tions and situations that may occur.if must be understood that common sense,caution,and care are factors which can not be built into any product.There factors must be applied by the person(S) caring for and operating the fixture.
3008/1WA
3008/1WB

CAUTION
- Rated 110-130V/60HZ,bulb 40W-60W maximum.
- Care should be taken to avoid damage to the surface of lighting an wite,wearing gloves are remmended when install-ing.
- Keep lighting away from acorn acid,alkali and other corro-sive chemical or gas,clean the lighting with clean soft cloth only.
- Installation must be carried out by qualified electrician only.
- Disconnect the power before installing,cleaning and re-placing lighting.
- Never cover the lighting when power is connected.
Using the following tools
- gloves

- wrench

- The screwdriver

- Test pencil

- Tapping screw
