Contents
VOLLRATH SS-6BG-052S-LED Velocity Adjustable Breath Guard

Product Information
Product Specifications:
- Model: Velocity Adjustable Breath Guard
- Part No.: 352413-1
- Assembly: Required for breath guards without heat or light strips
- Features: Adjustable, with options for heat or light strips
Product Usage Instructions
Breath Guard without Heat or Light Strips:
- Refer to spec sheets for dimensions and requirements.
- Mark mounting hole locations.
- Securely mount uprights to the countertop ensuring they are square and parallel.
Breath Guards with Heat or Light Strips:
- Place the assembled breath guard onto the mounting surface.
- Verify uprights are parallel and square, and glass panels operate smoothly.
- Mark mounting hole locations.
- Drill the holes and feed electrical wires through the countertop before securing the breath guard.
- Attach the breath guard using the appropriate hardware.
Install the Top Glass:
- Place gaskets on top of each upright standoff.
- Align holes and secure the top glass using thumbscrews.
Test the Installation:
The glass panel should rotate smoothly without interference.
Follow these steps:
- Gently push up to unlock the glass panel.
- Press the release button.
Install the Long-Side Glass:
- Rotate standoffs facing up, parallel to the countertop and locked into place.
- Adjust the glass panel through its full range.
- If binding occurs, adjust and retighten end frame nuts or thumbscrews.
Install the End Glass Panels:
- Place gaskets on each standoff for the glass panel.
- Secure the end glass using thumbscrews.
Frequently Asked Questions (FAQ):
Q: What should I do if there is interference when rotating the long-side glass?
A: Double-check that the uprights are parallel and square. Adjust the glass panels as needed and ensure all thumbscrews are tightened to allow smooth rotation.
BEFORE YOU BEGIN
- Download the specification sheet from Vollrath.com. You will need to refer to this document for dimensions and NSF requirements.
- Know the countertop manufacturer’s requirements for preparing and installing equipment into the countertop before starting installation. Countertop materials require specific preparation. Refer to the countertop manufacturer for instructions regarding the proper installation of equipment into the material.
- Know the NSF standards for breath guard installation applicable to your installation. The standards can be found on the NSF website.
BREATH GUARDS WITH HEAT OR LIGHT STRIPS
Breath guards with heat or light strips ship assembled.
- Place the assembled breath guard into position onto the mounting surface.
- Verify the breath guard uprights are parallel and square and the glass panels operate smoothly
- Mark the mounting hole locations.
- Shift the breath guard to expose the hole markings.
- Drill the holes.
- Feed the electrical wires through the countertop before securing the breath guard.
- Attach the breath guard using the appropriate hardware for the countertop surface and type of mounting.
INSTALLATION INSTRUCTION
BREATH GUARD WITHOUT HEAT OR LIGHT STRIPS
Breath guards without heat or light strips require assembly.
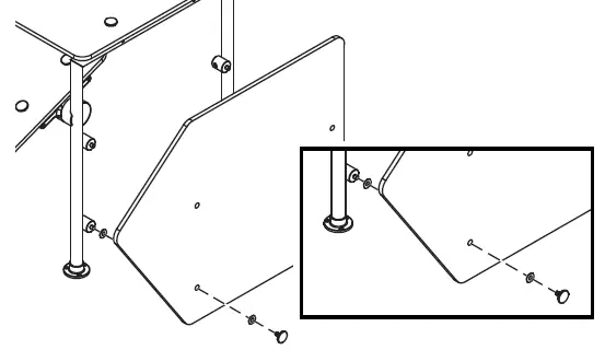
Mark and Drill the Mounting Holes
- Refer to the spec sheets for centerline and mounting option dimensions and requirements.
- Mark the mounting hole locations.
- Mount the uprights securely to the countertop, making sure they are square and parallel.

Install the Top Glass
- Place one gasket on the top of each upright standoff.
- Place the top glass panel on top of the uprights. Align the holes.
- Place one gasket over each hole in the top glass.
- Insert a plastic sleeve onto each thumbscrew and install them through each gasket and the top glass. Tighten the thumbscrews to secure the top glass.

Install the Long-Side Glass
- Rotate the adjustment mechanism so the standoffs are facing up, parallel to the countertop and locked into place.

- Attach the glass panel(s)
- Place one gasket onto the standoff.
- Place the glass panel on top of the gaskets. Align the holes.
- Place one gasket over each hole in the glass panel.
- Install one thumbscrew through each gasket and the glass panel. Tighten the thumbscrews to secure the panel.

- If applicable, repeat the steps for the other side.
Test the Installation
The glass panel should rotate smoothly and without interference.
- Gently pushing up to unlock the glass panel.

- Press the release button.

- Lower the glass panel. Note: The glass panel rotates down in 90° increments from the starting position. You may need to push the release button more than once to lower the panel.

- Rotate the glass panel up through its full range.

- Press the adjustment button and lower the glass panel. It will rotate 90° from the previous position and then lock into place.
- Press the adjustment button and lower the glass panel through all of the positions.
- If the adjustable panel binds, adjust and retighten the end frame nuts and screws or the thumbscrews.
Install the End Glass Panels
- Place one gasket on each standoff for the glass panel.
- Place the glass against the gaskets and standoffs.
- Place a gasket and a hole in the end glass.
- Install one thumbscrew through the gasket and the glass panel. Tighten to secure the end glass.
- Install the other three gaskets and thumbscrews.
- Repeat these steps for the other side end glass.

TROUBLESHOOTING
If there is any interference when the long-side glass is rotated, double-check to make sure the uprights are parallel and square. Loosen and adjust the glass panels as needed. Then retest the glass rotation. When the glass rotates freely, tighten all thumbscrews.
Contact Information
The Vollrath Company, L.L.C.
- 1236 North 18th Street Sheboygan, WI 53081-3201 U.S.A.
- Main Tel: 800.624.2051 or 920.457.4851
- Main Fax: 800.752.5620 or 920.459.6573
- Customer Service: 800.628.0830
- Canada Customer Service: 800.695.8560
- Technical Services [email protected]
- Induction Products: 800.825.6036
- Countertop Warming Products: 800.354.1970
- Toasters: 800-309-2250
- All Other Products: 800.628.0832
- www.vollrathfoodservice.com.
© 2020 The Vollrath Company L.L.C.
