VOLLRATH LP55277 Adjustable Breath Guard Instruction Manual

Home » VOLLRATH » VOLLRATH LP55277 Adjustable Breath Guard Instruction Manual

VOLLRATH-logo

VOLLRATH LP55277 Adjustable Breath Guard

VOLLRATH-LP55277-Adjustable-Breath-Guard-PRODUCT

Installation Instructions

Item No.  

 

Style

 

 

Length

For Signature Server® With Stainless Steel Countertops For Drop-ins and Signature Server® With Non-Stainless Steel Countertops
LP55277 Double- Sided Buffet 2-Well/Pan
55278 LP55278 3-Well/Pan
55279 LP55279 4-Well/Pan
55280 LP55280 5-Well/Pan
55281 LP55281 6-Well/Pan
LP55319 Single- Sided Buffet with Top Shelf 2-Well/Pan
55315 LP55315 3-Well/Pan
55316 LP55316 4-Well/Pan
55317 LP55317 5-Well/Pan
55318 LP55318 6-Well/Pan

BREATH GUARD INSTALLATION

Before You Begin

  1. Download the specification sheet from Vollrath.com. You will need to refer to this document for dimensions and NSF requirements.
  2. Know the countertop manufacturer’s requirements for preparing and installing equipment into the countertop prior to starting installation.

Tools You Will Need 

  • Drilling template, included
  • Allen wrench, included
  • Hammer
  • Drill
  • Spotting punch
  • ⁹⁄₃₂” drill bit
  • ¹³⁄₃₂” drill bit
  • “1 drill bit
  • ⁷⁄₁₆” combo wrench
  • ⁹⁄₁₆ ” combo wrench

Drill Mounting Holes

NOTICE: Countertop materials require specific preparation. Refer to the countertop manufacturer for instructions regarding the proper installation of equipment into the material.

  1. Place the cutout template over one end of the countertop. Follow the instructions on the template.VOLLRATH-LP55277-Adjustable-Breath-Guard-FIG-1
  2. Repeat step 1 on the other end of the countertop.

Assemble and Mount the Breath Guard

  1. Assemble the tie rods.VOLLRATH-LP55277-Adjustable-Breath-Guard-FIG-2
  2. Set the mounting gasket in place. Insert the tie rods through the holes in the gasket and countertop.VOLLRATH-LP55277-Adjustable-Breath-Guard-FIG-3
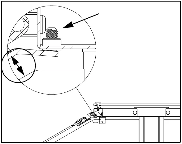
  3. Position the stiffening bracket on the underside of the countertop and over the tie rod extensions. Secure the tie rods to the base frame with the included nuts.VOLLRATH-LP55277-Adjustable-Breath-Guard-FIG-4
  4. Install the gaskets and standoffs to the countertop.VOLLRATH-LP55277-Adjustable-Breath-Guard-FIG-5
  5. Position the stud so it is flush with the bottom of the slot in the standoff.VOLLRATH-LP55277-Adjustable-Breath-Guard-FIG-6
  6. Insert the grommet into the power supply hole.VOLLRATH-LP55277-Adjustable-Breath-Guard-FIG-7
  7. Slide the uprights over the tie rods:
    • Smooth side facing inward and the grooved side facing outward
    • Spacer support tab must be at the bottomVOLLRATH-LP55277-Adjustable-Breath-Guard-FIG-8
  8. Slide the glass gaskets into slots of the uprights.VOLLRATH-LP55277-Adjustable-Breath-Guard-FIG-9
    If Your Breath Guard:
    Includes a heat strip and/or lights
  9. Thread the wires through the upright and into the cabinet below. Use the included washers and nuts to attach the tie rods to the top frame.VOLLRATH-LP55277-Adjustable-Breath-Guard-FIG-10
  10. If your breath includes a heat strip and/or lights, continue on page 7 with step 6.
  11. If your breath guard contains only lights, continue below with step 13.
    Does not include heat strips or lights
  12. Place the top frame over the uprights and thread the tie rods through the holes in the frame. Use the included washers and nuts to attach the tie rods to the top frame.VOLLRATH-LP55277-Adjustable-Breath-Guard-FIG-11
  13. Install the end caps.VOLLRATH-LP55277-Adjustable-Breath-Guard-FIG-12

Install the Glass Panels Long Side Panel(s)

  1. Attach the gaskets to the square-cornered side of the long-side glass panels.VOLLRATH-LP55277-Adjustable-Breath-Guard-FIG-13
  2. Insert the gasket side of one long-side glass panel,VOLLRATH-LP55277-Adjustable-Breath-Guard-FIG-14
  3. Tighten the set screws to secure the glass in place.VOLLRATH-LP55277-Adjustable-Breath-Guard-FIG-15
  4. Repeat the steps for with long-side glass panel for the other side.

Short Side Panels For Double Sided Breath Guards

  1. Insert one short-end glass panel into the gasket on the upright support.VOLLRATH-LP55277-Adjustable-Breath-Guard-FIG-16
  2. Tighten the sets screws on the top and bottom stand-offs.VOLLRATH-LP55277-Adjustable-Breath-Guard-FIG-17
  3. Repeat the steps for the other short-end panel.

For Single Sided Breath Guards

  1. Insert the wider end glass panel into the gasket on the upright support below the long side glass panel. Insert the narrow panel on the other side.VOLLRATH-LP55277-Adjustable-Breath-Guard-FIG-18
  2. Tighten the sets screws on the top and bottom stand-offs to secure the glass in place.VOLLRATH-LP55277-Adjustable-Breath-Guard-FIG-19
  3. Repeat for the other end.

Top Panel

  1. Remove the caps from the stand-offs on the top of the breath guard.VOLLRATH-LP55277-Adjustable-Breath-Guard-FIG-20
  2. Set the top glass into place. Align the holes in the glass with the holes on the standoffs.
  3. Thread the vinyl washers onto the caps and insert into the holes. Tighten the caps. Do not over-tighten.VOLLRATH-LP55277-Adjustable-Breath-Guard-FIG-21
  4. Adjust the set screws on both ends of the hinged glass panel to create a parallel gap between the hinged panel and the end glass.VOLLRATH-LP55277-Adjustable-Breath-Guard-FIG-22

Install the Cover Plugs

  1. Insert a cover plug over each set screw in the glass mounting bracket and stand-offs.
    NOTICE: Set screw covers plugs must be inserted to meet NSF certification.VOLLRATH-LP55277-Adjustable-Breath-Guard-FIG-23

SINGLE-SIDED RETROFIT KIT INSTALLATION

 

Kit

Item No.

 

 

Description

Kit Contents and Quantity
Ballast Bar Narrow End Glass Panels Mounting Bolts Allen Wrenches
350736 46″  

 

 

 

1

 

 

 

 

2

6  

 

 

 

2

350737 60″ 6
350738 74″ 8
350739 88″ 8
350740 2-Well 4
350741 3-Well 6
350742 4-Well 6
350743 5-Well 8
350744 6-Well 8

Tools You Will Need

  • ¹⁄₈” Allen wrench (supplied with breath guard)
  • ⁵⁄₃₂” Allen Wrench (supplied with breath guard)
  • Standard Screwdriver

Remove the Top Glass

  1. Loosen and remove the stand-offs.VOLLRATH-LP55277-Adjustable-Breath-Guard-FIG-24
  2. Lift off the top glass.

Remove the End Panels

  1. Loosen the sets screws on the top and bottom stand-offs.VOLLRATH-LP55277-Adjustable-Breath-Guard-FIG-25
  2. Remove the glass.VOLLRATH-LP55277-Adjustable-Breath-Guard-FIG-26

Remove the Long Side Glass Panel

  1. Remove the cover plugs over the set screws in the glass mounting bracket.VOLLRATH-LP55277-Adjustable-Breath-Guard-FIG-27
  2. Loosen the set screws.VOLLRATH-LP55277-Adjustable-Breath-Guard-FIG-28
  3. Remove the glass.VOLLRATH-LP55277-Adjustable-Breath-Guard-FIG-29

Remove the Mounting Bracket

  1. Remove the inner frame plugs. Save the plugs.VOLLRATH-LP55277-Adjustable-Breath-Guard-FIG-30
  2. Remove the hinge by removing the hinge assembly screws.VOLLRATH-LP55277-Adjustable-Breath-Guard-FIG-31

Install the Ballast Bar

  1. Attach the ballast bar using the included screws.VOLLRATH-LP55277-Adjustable-Breath-Guard-FIG-32
  2. Reinstall the frame plugs.VOLLRATH-LP55277-Adjustable-Breath-Guard-FIG-33

Install the End Glass

  1. Insert the included short-end glass panel into the gasket on the upright support.VOLLRATH-LP55277-Adjustable-Breath-Guard-FIG-34
  2. Tighten the set screws and install the set screw plugs.VOLLRATH-LP55277-Adjustable-Breath-Guard-FIG-35
  3. Repeat for the other end.

Reinstall the Top Glass

  1. Set the top glass into place. Align the holes on the glass with the holes on the stand-offs. Thread the vinyl washers onto the caps and insert into the holes. Tighten the caps. Do not over tighten.VOLLRATH-LP55277-Adjustable-Breath-Guard-FIG-36

End Profile of Single Sided Breath Guard

VOLLRATH-LP55277-Adjustable-Breath-Guard-FIG-37

HEAT STRIP INSTALLATION

Kit Item No. For Use Over
350752 46′
350753 60′
350754 74′
350755 88′
350756 2 Well
350757 3 Well
350758 4 Well
350759 5 Well
350755 6 Well
  • NOTICE: Heat strip connections must be performed by a licensed electrician.
  • NOTICE: Installation requires two people to lift the heat strip into place.

If this is a retrofit installation
Remove the upright caps and top glass before proceeding with the installation.

Installation

  1. Press the threaded inserts into frame holes next to the access hole. Install a bolt with a washer into an anchor. Tighten with the supplied allen wrench. Repeat for each hole.VOLLRATH-LP55277-Adjustable-Breath-Guard-FIG-38
  2. Install the included large grommet into the frame hole on the power supply end. Pull the power supply wiring from the cabinet up through the hole in the upright.VOLLRATH-LP55277-Adjustable-Breath-Guard-FIG-39
  3. With two people, lift up the heat strip assembly through the middle of frame until the shroud is flush with the top of frame.VOLLRATH-LP55277-Adjustable-Breath-Guard-FIG-40
  4. Mount the heat strip by installing and tightening the four included hex bolts and washers through the ends of the shroud and into the threaded inserts. (Shown looking up at the underside of the heat strip.)
  5. Wire the heat strip control box.VOLLRATH-LP55277-Adjustable-Breath-Guard-FIG-41
  6. Attach the included rubber cord boot around the wire. The rounded side must face the top of the breath guard. Install the slotted end cap onto the frame and push the boot firmly into the slot. (Shown looking up at the underside of the heat strip.)VOLLRATH-LP55277-Adjustable-Breath-Guard-FIG-42
  7. Tighten the set screw until snug. (Shown looking up at the underside of the heat strip.)VOLLRATH-LP55277-Adjustable-Breath-Guard-FIG-43
  8. Install the end cap without the slot onto the opposite end of the frame.VOLLRATH-LP55277-Adjustable-Breath-Guard-FIG-44

LIGHT STRIP INSTALLATION

Kit Item No. For Use With Kit Item No. For Use With
350744 46′ 350748 2 Well
350745 60′ 350749 3 Well
350746 74′ 350750 4 Well
350747 88′ 350751 5 Well
  350747 6 Well

NOTICE: Light assembly connection must be performed by a licensed electrician.

If this is a retrofit installation

  1. Remove the upright caps and top glass before proceeding with the installation.
  2. Remove the frame plugs from the insides of the long sides of the top frame.

Installation

  1. Center and hold the light assembly up to the inside of the front or back frame tube. Mark holes that will require a mounting anchor.VOLLRATH-LP55277-Adjustable-Breath-Guard-FIG-45
  2. Press the threaded inserts into the marked frame holes. Install a bolt with washer into an anchor and tighten with the supplied fallen wrench until snug wrench. Repeat for each hole.VOLLRATH-LP55277-Adjustable-Breath-Guard-FIG-46
  3. Install the included large grommet into the frame hole on the power supply end. Pull the power supply wiring from the cabinet up through the hole in the upright.VOLLRATH-LP55277-Adjustable-Breath-Guard-FIG-47
  4. Install the included small grommet into the end frame hole nearest to the power supply. Pull the power supply wiring through the frame and through the grommet installed in the end hole.VOLLRATH-LP55277-Adjustable-Breath-Guard-FIG-48
  5. Wire the light. Tuck the wire nuts into the back of the light assembly.
  6. Attach the light assembly to the frame tube with the supplied bolts.VOLLRATH-LP55277-Adjustable-Breath-Guard-FIG-49
  7. Install the hole plugs into the light assembly holes.VOLLRATH-LP55277-Adjustable-Breath-Guard-FIG-49
  8. Install the end caps.VOLLRATH-LP55277-Adjustable-Breath-Guard-FIG-50

The Vollrath Company, L.L.C.
1236 North 18th Street Sheboygan, WI 53081-3201 U.S.A. Main Tel: 800.624.2051 or 920.457.4851 Main Fax: 800.752.5620 or 920.459.6573 Customer Service: 800.628.0830 Canada Customer Service: 800.695.8560

Technical Services

Product Specifications

  • Item No.: LP55277 – LP55319
  • Countertops: Steel Countertops
  • Styles:
    • 2-Well/Pan
    • Double-3-Well/Pan
    • Sided 4-Well/Pan
    • Buffet 5-Well/Pan
    • 6-Well/Pan

Frequently Asked Questions (FAQ)

Q: What should I do if my breath guard includes heat strips and lights?
A: Thread wires through the upright, into the cabinet, and attach tie rods to the top frame. Refer to the specific steps in the installation instructions.

Q: How do I determine the appropriate mounting hardware for my countertop material?
A: For solid-surface/laminate countertops, use longer mounting hardware. For stainless steel countertops, use shorter mounting hardware.

Leave a Comment