VIVOTEK AW-GET-083A-120 Outdoor PoE Switch Installation Guide

Contents
INTRODUCTION
| * 1x PoE switch | * 1x Quick Installation Guide |
| * 1x T30 L-wrench, 4x wall anchors |
IMPORTANT
- Install the PoE switch in a ventilated and dry place that is free of electromagnetic source, vibration, moisture, and dust.
- Make sure the ventilation openings on the switch are not blocked.
- Use CAT5 or 5e UTP/STP cables.
- AC input (100~240V/AC, 50~60Hz), for a max. consumption of 150W.
CONNECTION

AC Power Cable Spec.

DC Power Cable

DC Power Cable Spec
| Wire Size | 10~18AWG |
| Wire Strip Length | 8mm |
| Wire Size | 10~18AWG |
| Wire Strip Length | 8mm |
| Power PW1/PW2 | Green ON | Power is on and normal. |
| SFP port Green | Green ON | Fiber is aeeached. |
| Grren Flashing | Data is being transmitted / received. | |
| LAN ports Green | Green ON | TX link is detected. |
| Grren Flashing | Data is being transmitted or received. | |
| PoE ports Amber | Amber ON | PSE is activated and PD is detected. |
| Amber OFF | PoE OFF |
RESET
| Reset the switch | 3 seconds | Blinking Green | All LEDs off |
INSTALLATION
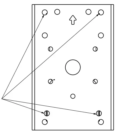
Use the included M10 hex socket screws to secure the power box to a pole-mount or corner mount bracket.
The mounting hole definition is illustrated below. The same mounting hole pattern apply to all pole-mount and corner- mount brackets

- Outdoor PoE switch:
- AW-GEU-083A-240
- AW-GET-083A-120
- AW-GET-123A-240
- AW-GEU-086A-240
- AW-GET-086A-120
- AW-GET-126A-240

IMPORTANT
If the need should arise for connecting two outdoor switches, use the uplink ports #5 ~ #8. If you use PoE ports for cross-switch connections, the 12KV surge protection will not apply 
The cabinet must be grounded using a ground wire between the ground screw and earth ground.

All specifications are subject to change without noice Copyright© 2017 VIVOTEK INC. All rights reserved.
6F, No.192, Lien-Cheng Rd., Chung-Ho, New Taipei City, 235, Taiwan, R.O.C.
| T: +886-2-82455282| F: +886-2-82455532| E: [email protected]
