Contents
VEVOR JK-9803 Sewing Machine

Product Information
The product is an electronic device that requires careful attention and adherence to the provided instructions.
It is important to read and understand the user manual before using the device.
Failure to follow the instructions may result in damage to the device or potential harm to the user.
Product Usage Instructions
- Before using the machine, ensure that all safety measures are observed, including but not limited to, lubricating, cleaning, and inspecting the machine.
- Read all the instructions included in the user manual before operating the machine. Keep the user manual in a safe place for future reference.
- Use the machine according to the regulations and requirements of your country.
- Follow all safety guidelines and precautions during operation to avoid any accidents or injuries.
- Do not attempt to repair or modify the machine without proper training and authorization.
- Pay attention to any warning signs or symbols on the machine and take appropriate action.
- Certain items may require special attention or specific settings when using the machine.
- To prevent electrical shock, do not touch any components inside the electrical box.
- To avoid injury, keep fingers and hands clear of moving parts while the machine is in operation.
- Always turn off and unplug the machine when not in use or during maintenance tasks.
- Do not operate the machine in wet or humid conditions.
- Regularly clean and maintain the machine according to the instructions provided in the user manual.
Please note that this is a general overview of the product information and usage instructions. For detailed andspecific instructions, refer to the user manual provided with the product.
NEED HELP? CONTACT US!
Have product questions? Need technical support? Please feel free to contact us: [email protected]
This is the original instruction, please read all manual instructions carefully before operating. VEVOR reserves clear interpretation of our user manual. The appearance of the product shall be subject to the product you received. Please forgive us that we won’t inform you again if there is any technology or software updates on our product.
IMPORTANT SAFETY INSTRUCTIONS
To get the most out of the many functions of this machine and operate it in safety. it’s necessary to use this machine correctly. Please read this instruction Manual carefully before use. We hope you will enjoy the use of your machine for a long time Please remember to keep this manual in a safe place
- Observe the basic safety measures, including. but not limited to the following ones, whenever you use the machine.
- Read all the instructions, including, but not limited to this Instruction Manual before you use the machine. In addition, keep this Instruction Manual so that you may read it at anytime when necessary.
- Use the machine after it has been ascertained that it conforms with safety rules/standards valid in your Country.
- All safety devices must be in position when the machine is ready for word or in operation. The operation without the specified safety devices is not allowed
- This machine shall be operated by appropriately-trained operators.
- For vour persona protection. we recommend that vou wear safety glasses.
- For the following, turn off the power switch or disconnect the power plug of the machine from the receptacle.
- For threading needle(s), looper, spreader etc. and replacing bobbin.
- For replacing part(s) of needle, presser foot, throat plate, looper spreader, feed dog, needle guard, folder, cloth guide etc.
- For repair work
- When leaving the working place or when the working place is unattended.
- If you should allow oil, grease, etc. used with the machine and devices to come in contact with your eyes or skin or swallow any of such liquid by mistake, immediately wash the contacted areas and consult a medical doctor
- Tampering with the live parts and devices, regardless of whether the machine is powered is prohibited
- Repair remodeling and adjustment works must only be done by appropriately trainde technicians or specially skilled personnel. Only spare parts designated by can be used for repairs
- General maintenance and inspection works have to be done by appropriately trained personnel.
- Repair and maintenance works of electrical components shall be conducted by qualified electric technicians or under the audit and guidance of specially skilled personnel Whenever you find a failure of any of electrical components, immediately stop the machine.
- Before making repair and maintenance works on the machine equipped with pneumatic parts such as an air cylinder, specially skilled personnel. that is free from strong noise sources such as high-freauency welder the air compressor has to be detached from the machine and the compressed air supply has to be cut off. Existing residual air pressure after disconnecting the air compressor from the machine has to be expelled. Exceptions to this are only adjustments and performance checks done by appropriately trained technicians or
- Periodically clean the machine throughout the period of use
- Grounding the machine is always necessary for the normal operation of the machine. The machine has to be operated in an environment that is free from strong noise sources such as high-frequency welder.
- An appropriate power plug has to be attached to the machine by electric technicians. Power plug has to be connected to a grounded receptacle
- The machine is only allowed to be used for the purpose intended. Other used are not allowed
- Remodel or modify the machine in accordance with the safely rules/standards while taking all the effective safety measures. Assumes no responsibility for damage by remodeling or modification of the machine.
- Warning hints are marked with the two shown symbols
-
Danger of injury to operator or service staff
Items requiring special attention
FOR SAFE OPERATION
DANGER
- To avoid electrical shock hazards, neither open the cover of the electrical box for nor touch the components mounted inside the electrical box.
CAUTION
- To avoid personal injury, never operate the machine with any of the belt cover, Finger guard or safety devices removed
- To prevent possible personal injuries caused by being caught in the machine, Keep your fingers, head and clothes away from the handwheel, V belt and the motor while the machine is operation. In addition, place nothing around them.
- To avoid personal injury, never put your hand under the needle when you turn “ON” the power switch or operate the machine.
- To avoid personal injury, never put your fingers into the thread take-up cover while the machine is in operation.
- The hook rotates at a high speed while the machine is in operation. To prevent possible injury to hands, be sure to beep your hands away from the vicinity of the hook during operation, In addition, be sure to turn “OFF ” the power to the machine when replacing the bobbin.
- To avoid possible personal injuries, be careful not to allow your fingers in the machine when tilting/raising the machine head.
- To avoid possible accidents because of abrupt start of the machine, turn OFF the power to the machine when tilting the machine head.
- If your machine is equipped with a servo-motor, the motor does not produce noise while the machine is at rest. To avoid possible accidents due to abrupt start of the machine, be sure to turn OFF the power to the machine.
- To avoid electrical shock hazards, never operate the sewing machine with the ground wire for the power supply removed.
- To prevent possible accidents because of electric shock or damaged electrical components(s), turn OFF the power switch in prior to the connection/disconnectionof the power plug.
BEFORE OPERATION
CAUTION:
To avoid malfunction and damage of the machine confirm the following.
- Before you put the machine into operation for the first time after the set up, clean it thoroughly.
- Remove all dust gathering during transportation and oil it well.
- Confirm that the power plug has been properly connected to the power supply
- Never use the machine in the state where the voltage type is different from the designated one.
- The direction of rotation of the sewing machine is counterclockwise as observed from the handwheel side. Be careful not to rotate it in reverse direction.
.SPECIFICATIONS
| Medium-weight model | Light-weight model | Heavy-weight model | |
| Application | General fabrics, light-weight and medium-weight materials. | General fabrics, light-weight materials. | Medium-weight materials. heavy-weight materials. |
| Sewing speed | Max.5000 rpm | Max.4000 rpm | Max.3500 rpm |
| Max. stitch lenth | 4mm | 5mm | |
| Needle | DBx1#9~#11 | DAx1#9~#11 | DBx1#20~#23 |
| Presser for lit | 10mm(standard)13mm(Max.) | 9mm(Max.) | 10mm(standard)13mm(Max.) |
| Lubricating oil | Defrix Oil NO.10 | ||
INSTALLATION

- Installing the under cover
- The oil pan should rest on the four corners of the machine table groove
- Fix two rubber seats 1 on side A (operator’s side) using nails 2 as illustrated above. Fix two cushion seats 3 on side B (hinged side using a rubber-based adhesive Then place oil pan on the fixed seats.
- Fit hinge 1 into the opening in the machine bed, and fit the machine head to table rubber hinge before placing the machine head on cushions on the four corners.
ADJUSTING THE HEIGHT OF THE KNEE LIFTER
- WARNING:
Turn OFF the power before starting the work so as to prevent accidents caused by abrupt start of the sewing machine.

- The standard height of the presser foot lifted using the knee lifter is 10 mm.
- You can adjust the presser foot lift up to 13 mm using knee lifter adjust screw 1 . (Max. 9 mm for A type)
- When you have adjusted the presser foot lift to over 10 mm, be sure that the bottom end of needle bar? in its lowest position does not hit presser 3 foot.
INSTALLING THE THREAD STAND

LIPIN
- WARNING:
Turn OFF the power before starting the work so as to prevent accidents caused by abrupt start of the sewing machine

- Full pore of the thread take-up crank shaft 1 with lipin before disassembly small screw of the thread take-up crank shaft 1
- Disassembly small screw before Disassembly the needle rod holder ASM, then full pore of the needle bar connection ASM with lipin.
LUBRICATION
WARNING:
Turn OFF the power before starting the work so as to prevent accidents caused by abrupt start of the sewing machine.

Information on lubrication
- Fill oil pan 1 with Machine Oil up to HIGH mark A
- When the oi level lowers below LOW mark B refill the oil pan with the specified oil.
- When you operate the machine after lubrication, you will see splashing oil through oil sight window 2 if the lubrication is adequate.
- Note that the amount of the splashing oil is unrelated to the amount of the lubricating oil.
When you first operate your machine after setup or after an extended period of disuse, run your machine at 3,000 to 3,500 pm. for about 10 minutes for the purpose of break- in.

Adjusting the amount of oil supplied to the face plate parts
- Adjust the amount of oil supplied to the thread take up and needle bar crank 2 by turning adjust pin 1
- The minimum amount of oil is reached when marker dot A is brought close to needle bar crank 2 by turning the adjust pin in direction B
- The maximum amount of oil is reached when marker dot A is brought to the position just opposite from the needle bar crank by turning the adjust pin in direction C
ADJUSTING THE AMOUNT OF OIL(OIL SPLASHES) IN THE HOOK
WARNING:
Be extremely careful about the operation of the machine since the amount of oil has to be checked by turning the hook at a high speed.
- Amount of oil (oil splashes) confirmation paper
- Position to confirm the amount of oil (oil splashes)

When carrying out the procedure described below in 2, remove the slide plate and take extreme caution not to allow your fingers to come in contact with the hook.
- If the machine has not been sufficiently warmed up for operation make the machine run idle for approximately three minutes.(Moderate intermittent operation)
- Place the amount of oil (oil splashes confirmation paper under the hook while the sewing machine is in operation.
- Confirm the height of the oil surface in the oil reservoir is within the range between “HIGH” and “LOW”.
- Confirmation of the amount of oil should be completed in five seconds.
(Check the period of time with a watch.)
Sample showing the appropriate amount of oil

- The amount of oil shown in the samples on the left 1 mm should be finely adjusted in accordance with sewing processes. Be careful not to excessively increase/decrease the amount of oil in the hook. (If the amount of oil is too small, the hook will be seized (the hook will be hot). if the amount of oil is too much, the sewing product may be stained with

- Adjust the amount of oil in the hook so that the oil amount (oil splashes) should not change while checking the oil amount three times (on the three sheets of paper).
Adjusting the amount of oil

- Turning the oil mount adjustment screw attached on the hook driving shaft front bushing in the”+” direction (in direction ) will increase the amount of oil (oil spots) in the hook, or in the”-“direction(in direction B ) will decrease it.
- After the amount of oil in the hook has been property adjusted with the oil amount adjustment screw, make the sewing machine run idle for approximately 30 seconds to check the amount of oil in the hook.
8.ATTACHINGTHE NEEDLE
- WARNING:
Turn OFF the power before starting the work so as to prevent accidents caused by abrupt start of the sewing machine

SETTING THE BOBBIN INTO THE BOBBIN CASE

- Pass the thread through thread slit A. and pull the thread in direction B. By so doing, the thread will pass under the tension spring and come out from notch B
- Check that the bobbin rotates in the direction of the arrow when thread C is pulled.
ADJUSTING THE STITCH LENGTH

- Turn stitch length dial 1 in the direction of the arrow and align the desired number to marker dot A on the machine arm.
- The dial calibration is in millimeters.
- When you want to decrease the stitch length, turn stitch length dial 1 while pressing feed lever 2 in the direction of the arrow.
PRESSER FOOT PRESSURE29-32 mm

- Loosen nut 2. As you turn presser spring regulator 1 clockwise (in direction A),the Presser foot pressure will be increased.
- As you turn the presser spring regulator counter clock-wise (in direction B) the pressure will be decreased.
- After adjustment, tighten nt 2. spring regulator is33 to 36mm(5kg).
- For general fabrics the standard height of the presser.
HAND LIFTER

- To stop the machine with its presser foot up, turn hand lifter lever Din direction A.2)The presser foot will go up about 55mm and stop. The presser foot will go back to its original position when hand lifter lever is turned down in direction B.3)Using the knee lifter you can get the standard presser foot lift of about10mm and a maximum lift about 13mm
ADJUSTING THE HEIGHT OF THE PRESSER BAR
- WARNING:
Turn OFF the power before starting the work so as to prevent accidents caused by abrupt start of the sewing machine

- Loosen setscrew 1 and adjust the presser bar height or the angle of the presser foot.
- After adjustment securely tighten the setscrew 1
THREADING THE MACHINE HEAD
- WARNING:
Turn OFF the power before starting the work so as to prevent accidents caused by abrupt start of the sewing machine.

THREAD TENSION

- Adjusting the needle thread tension
- As you turn thread tension No. 1 nut clockwise (in direction A), the thread remaining on the needle after thread trimming will be shorter.
- As you turn nut 1 counterclockwise(in direction B)the thread length will be longer.
- As you turn thread tension No. 2 nut 2 clockwise(indirection C )the needle thread tension will be increased.
- As you turn nut 2 counterclockwise (in direction D ) the needle thread tension will be decreased.
- Adjusting the bobbin thread tension
- As you turn tension adjust screw 3 clockwise (in direction E ), the bobbin thread tension will be increased.
- As you turn screw 3 counter clock wise(in direction F ). he bobbin thread tension will be decreased
THREAD TAKE-UP SPRING

- Changing the stroke of thread take-up spring 1
- Loosen setscrew 2
- As you tun tension post 3 clockwise(in direction A) the stroke of the thread take-up spring will be increased.
- As you turn the knob counterclockwise(in direction B), the stroke will be decreased.
- Changing the pressure of thread take-up spring 1
- Loosen setscrew2 .and remove thread tension (asm)6
- Loosen setscrew 4
- As you turn tension post 3 clockwise (in direction A ) the pressure will be increased.
- As you turn the post 3 counter clockwise(in direction B). the pressure will be decreased.
ADJUSTING THE THREAD TAKE-UP STROKE
WARNING:
Turn OFF the power before starting the work so as to prevent accidents caused by abrupt start of the sewing machine.

- When sewing heavy-weight materials, move thread guide to the left (in direction A) to increase the length of thread pulled out by the thread take-up.
- When sewing light-weight materials. move thread guide 1 to the right(in direction B)to decrease the length of thread pulled out by the thread take-up
- Normally, thread guide 1 is positioned in a way that marker line C is aligned with the center of the screw
WARNING:
To avoid possible personal injury due to abrupt start of the machine, turn off the power to the machine and check to be sure that the motor has totally stopped rotating in prior.
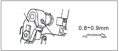
NEEDLE-TO-HOOKRELATIONSHIP

- Adjust the timing between the needle and the hook as follows:
- Turn the handwheel to bright the needle bar down to the lowest point of its stroke, and loosen setscrew 1
(Adjusting the needle bar height) - (For a DB needle) Align marker line A on needle bar 2 with the bottom end of needle bar lower bushings 3 then tighten setscrew 1.
(For a DA needle) Align marker line c on needle bar 2 with the bottom end of needle bar lower bushing 1 then tighten setscrew 1
(Adjusting position of the hook a )
(For a DB needle)Loosen the three hook setscrews, turn the handwheel and align marker line B on ascending needle bar with the bottom end of needle bar lower bushing 3
(For a DA needle)Loosen the three hook setscrews, turn the handwheel and align marker line D one ascending needle bar with the bottom end of needle bar lower bushing 3 - After making the adjustments mentioned in the above steps, align hook blade point 5 with the center of needle 4 .Provide a clearance of 0.04 mm to 0.1mm (reference value) between the needle and the the hook, then securely tighten setscrews in the hook.
- Turn the handwheel to bright the needle bar down to the lowest point of its stroke, and loosen setscrew 1
If the clearance between the blade point of hook and the needle is smaller than the specified value, the blade point of hook will be damaged. If the clearance is larger, stitch skipping will result.
HEIGHT OF THE FEED DOG
- WARNING:
Turn OFF the power before starting the work so as to prevent accidents caused by abrupt start of the sewing machine.

To adjust the height of the feed dog:
- Loosen screw 2 of crank 1
- Move the feed bar up or down to make adjustment.
- Securely tighten screw 2
If the camping pressure is insufficient, the motion of the forked portion becomes heavy.
TILT OF THE FEED DOG
WARNING:
Turn OFF the power before starting the work so as to prevent accidents caused by abrupt start of the sewing machine.

- The standard tilt (horizontal) of the feed dog is obtained when marker dot A on the feed bar shaft is aligned with marker dot 6 on feed rocker 1 . (the marker dot & inclines forward the feed rocker shart by 90°as standard).
- To tilt the feed dog with its front up in order to prevent puckering, loosen the setscrew, and turn the feed bar shaft 90 in the direction of the arrow using a screwdriver.
- To tilt the feed dog with its front down in order to prevent uneven material feed, turn the feed bar shaft 90 in the opposite direction from the arrow(The standard tilt for.)
Whenever the feed dog tilt is adjusted, the feed dog height will be changed. So, it is necessary to check the height after tilt adjustment.
ADJUSTING THE FEED TIMING
WARNING:
To avoid possible personal injury due to abrupt start of the machine, turn off the power to the machine and chock to be sure that the motor has totally stopped rotating in prior.

- Loosen screws 2 and 3 in feed eccentric cam .move the feed eccentric cam in the direction of the arrow or opposite direction of the arrow and firmly tighten the screws.
- For the standard adjustment, adjust so that the top surface of feed dog and the top end of needle eyelet are flush with the top surface of throat plate when the feed dog descends below the throat plate.
- To advance the feed timing in order to prevent uneven material feed, move the feed eccentric cam in the direction of the arrow.
- To delay the feed timing in order to increase stitch tightness. move the feed eccentric cam in the opposite, direction from the arrow.
Be careful not to move the feed eccentric cam too far, or else needle breakage may result
PEDAL PRESSURE AND PEDAL STROKE
WARNING:
Turn OFF the power before starting the work so as to prevent accidents caused by abrupt start of the sewing machine.

- Adjusting the pressure required to depress the front part of pedal
- This pressure can be changed by changing the mounting position of pedaling pressure adjust spring 1.
- The pressure decreases when you hook the spring on the left side.
- The pressure increases when you hook the spring on the right side.
- Adjusting the pressure required to depress the back part of pedal
- This pressure can be adjusted using regulator screw.
- The pressure increases as you turn the regulator screw in.
- The pressure decreases as you turn the screw out.
- Adjusting the pedal stroke
- The pedal stroke increases when you insert connecting rod 3 into the right hole.
ADJUSTMENT OF THE PEDAL
- WARNING:
Turn OFF the power before starting the work so as to prevent accidents caused by abrupt start of the sewing machine.

- Installing the connecting rod
- Move pedal 3 to the right or left as illustrated by the arrow so that motor control lever 1 and connecting rod 2 are straightened.
- Adjusting the pedal angle
- The pedal tilt can be freely adjusted by changing the length of the connecting rod.
- Loosen adjust screw4 , and adjust the length of connecting rod 5
PEDAL OPERATION

- The pedal is operated in the following four steps:
- The machine runs at low sewing speed when you lightly depress the front part of the pedal B .
- The machine runs at high sewing speed when you further depress the front part of the pedal A (If the automatic reverse feed stitching has been preset, the machine runs at high speed after it completes reverse feed stitching)
- The machine stops (with its needle up or down) when you reset the pedal to its original position C.
- The machine trims threads when you fully depress the back part of the pedal E.
If your machine is provided with the Auto-lifter an addition step is given between the machine stop and thread trimming step. The presser foot goes up when you lightly depress the back part of the pedal D. and if you further depress the back part, the thread trimmer is actuated.
0NE-TOUCH TYPE REVERSE FEED STITCHING MECHANISM

- How to operate
- The moment button 1 is pressed, the machine performs reverse feed stitching.
- The machine performs reverse feed stitching as long as the button is held pressed.
- The machine resumes normal feed stitching the moment the button is released.
- How to operate the LED light
- Push the button ,LED light be bright.
- Pull the button LED light be power off.
WARNING:
Turn OFF the power before starting the work so as to prevent accidents caused by abrupt start of the sewing machine
Manual of Simple integrated system for lockstitch sewing machine V1. 1
Safety precautions
- Before use, please read this manual and lockstitch machine’s manual at the same time, thanks for your cooperation.
-
- The voltage and working frequency: please according the name plate of motor and controlling box.
- Electromagnetic interference: Please stay away from high-frequency magnetic wave machines or Radio wave transmitter etc. In order to prevent the generated electromagnetic waves from interfering with the drive device and causing wrong action
- Grounded: To prevent noise interference or leakage accidents, Please do grounding works including sewing machine, motor and control box.
- If Disassemble motor and controlling box, please Turn off the power in advance. Dangerous high voltage electricity in the electric control box, so please waiting more than 1 mins after Turn off the power, then to disassemble the control box
- When reinstalling the motor, Note that there is a certain gap between the stator and the rotor, it’s untouchable.
- To ensure the safety of life, Please turn off the power when repair the machine or threading needles.
- This symbol indicates when the machine is installed, if made a mistake, the human body or the machine may be damaged, Therefore, there will be this mark in the dangerous place of the machine.
This symbol indicates that there is high voltage, etc. Electrically dangerous places have this mark. - This products guarantees a one-year warranty under normal working conditions and no-one error operation.
Instructions
Reset
In the shutdown state, press
at the same time to turn on, then press the “S” key to confirm to recover
Monitoring mode
Press the S key for 2 seconds to enter the monitoring state, press
to change the monitoring serial number, the monitoring value cannot be modified. The specific monitoring interface is shown in the table below.

Key Description

Electrical control interface definition

Failure description
| Error code | Fault content | Reason | Inspection items and how to fix |
| E-01 | System voltage is too high | Actual voltage is too high Brake circuit failure Incorrect voltage detection | Whether the incoming line voltage of the system is too high Whether the braking resistor is working properly Whether the system voltage detection circuit works normally |
| E-02 | System voltage is too low | Actual voltage is low Incorrect voltage detection | Whether the incoming line voltage of the system is too low Whether the system voltage detection circuit works normally |
| E-03 | Operation box communication is poor | The communication data of the head operation box is lost | Whether the operation box plug is in good contact Whether the operation box device is damaged Whether the operation box program has been burned |
| E-05 | Pedal ID failure | Pedal recognition failure | Loose pedal joint |
| E-07 | Motor overload | Motor blocked, Motor overload | Whether the motor plug is in good contact Whether the machine head or trimming mechanism is stuck Whether to sew fabrics above the specification thickness Whether the current detection signal is normal |
| E-09,El 1 | Motor signal failure | Motor positioning signal failure | Whether the motor encoder interface is in good contact Whether the needle stop substrate is installed in place |
| E-14 | Encoder signal is abnormal | Motor sensor signal failure Motor power cable is damaged | Whether the motor encoder interface is in good contact Whether the motor interface is in good contact |
| E-15 | Motor current is too large | Current detection is abnormal The motor is running abnormally | Whether the system current detection circuit is working normally Whether the motor signal is normal |
| E-17 | Flip switch failure | Flip switch effective | Put down the machine head or check the flip switch |
| E-22 | OZ loop failure | OZ loop detection abnormal | Check whether the OZ circuit is normal |
Note: If the above faults cannot be eliminated according to the inspection items, please applicate technical support.
Parameter list
| Parameter item | Description | Range | Initial value | Content value name description and remarks |
| P0l | Maximum speed | 200-3700 RPM |
3700 RPM |
Maximum speed setting during sewing |
| P02 | Synchronizer selection | 0-2 | 1 | “0” mean Needle up,”1″ mean Needle down ,”2″ mean without signal |
| P03 | Soft start switch | 0-1 | 0 | “0” mean open, “1” mean turn off |
| P04 | Soft start Speed | 200-1500 RPM |
400 | Soft start speed function setting |
| P0S | Number of soft start pins | 1-15 | 1 | 1-15Numberofsoftstartpins |
| P06 | Minimum speed | 200-500
RPM |
200 | Minimum speed setting during sewing |
| P07 | Upper needle position adjustment | 0-23 | 0 | machine head position adjustment |
| POS | Down needle position adjustment | 0-23 | 12 | Position adjustment of lower needle stop |
| P09 | Automatically find the needle position when starting up | 0-1 | 1 | “0” mean can’t find upper needle position adjustment,”1″ mean find upper needle position adjustment |
| PlO | mahcine head protection switch detection | 0-2 | 1 | “0” mean no detection,”1″Detect zero signal,”2″ mean Detect positive signal |
| Pl 1 | Acceleration curve adjustment | 1-100 | 32 | Speed controller acceleration and climb slope setting |
| P15 | Needle supplement method | 0-3 | 3 | “0” mean Half stitch,”1″ mean One stitch,”2″ mean Continuous half stitch,”3″Continuous one stitch |
| P21 | Motor running direction | 0-1 | 1 | “0” mean Clockwise,”1″ mean Counterclockwise |
| P22 | Automatically running speed | 200-3700 RPM |
3500 RPM |
Setting automatically check speed |
| P23 | Automatic running time | 1-250 | 20 | Automatic running-in time setting |
| P24 | Automatic stop time | 1-250 | 20 | Automatic running-in pause time setting |
| P25 | Continuous running test | 0-1 | 0 | Speed continuous operation “0” mean turn off,”1″ open |
| P26 | Intermittent running and testing | 0-1 | 0 | Perform positioning cycle operation, “0” mean turn off,”1″ open |
| P36 | Model selection | 1 | 1 | Model replacement |
Note: If the above parameters do not match the actual parameters, please according the machine paremeters
| items | Description | |
| 1 | Name | Sewing Machine |
| 2 | Model | JK-9803 |
| 3 | Rating(s) | AC120V/60Hz 550W |
| 4 | Package Size | 640x260x560mm ( host machine) /1260x600x 100mm (platen) |
| 5 | G.W. | 35kg (host machine) 124.3kg (platen) |
WARNING – To reduce the risk of injury, users must read the instruction manual carefully.
HOUSEHOLD USE ONLY
This product is subject to the provision of European Directive 2012/19/EC. The symbol showing a crossed-out wheeled bin indicates that the product requires separate refuse collection in the European Union. This symbol applies to the product and all accessories marked with this symbol. Products marked as such may not be discarded with normal domestic waste, but must be taken to a collection point for recycling electrical and electronic devices.
Manufacturer: ZHEJIANG FANGHUA SEWING MACHINE CO.,LTD
Address: NO.233 XIANMU ROAD WEST, HUZHEN, JINYUN 321404 ZHEJIANG PEOPLE’S REPUBLIC OF CHINA
E-mail: [email protected]
