Contents
VEVOR B08ZXDQL3Y 3 Step Railings Staircase Handrail

FAQ
- Q: Can I connect Part B and Part A before putting Part D into Part A?
- A: It is recommended to follow the sequence mentioned in the instructions to avoid mistakes during assembly. Please put Part D into Part A before connecting Part B and Part A.
- Q: Do I need any special tools for installation?
- A: Yes, you will need an electric drill to drill a 12mm hole as specified in the instructions.
Parts

Tips: Avoiding mistakes, when processing the first and second step, we suggest do not connect parts tightly.
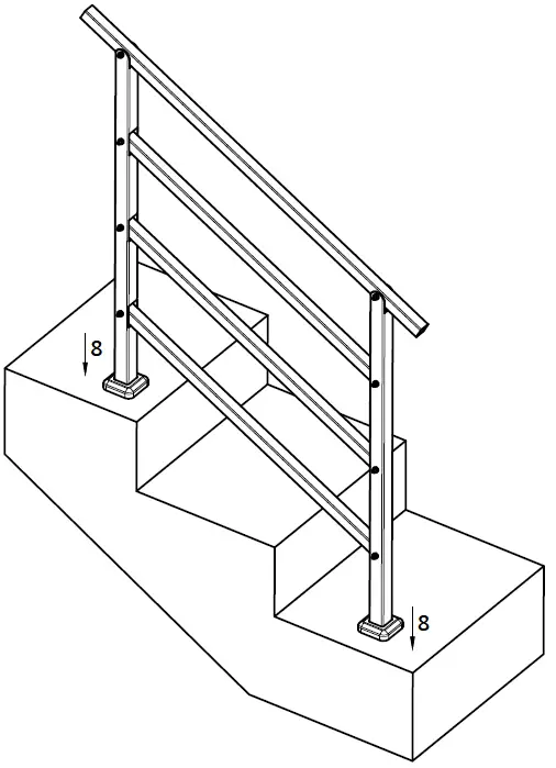
Installation Instructions
Please put all parts on the ground

- Put Part# Dinto Part# A
- Put Part#C into holes of Part A (Please pay attention to the direction of Part# Cas shown in the figure)
- Connect Part#B and Part#A( two) with Part I# E
- Connect Part #C and Part #A with Part#E

- Place the handrail on suitable stairs
- Screw Part E by Part L
- Mark hole sites on stairs tracing four holes of Part A
- Leave the handrail alone and drill down according to the mark with a 12 MM driller
- Align the handrail and holes, Knock nails (part F) into the ground with hammer
- (Cement floor and marble floor, please using Part G; Timber floor: please using Part F)
