verotti 1500 Double Bowl Vanity

Contents
SAFETY INSTRUCTIONS
- Improper assembly of the furniture item can lead to accidents and injuries. The furniture item is only to be assembled by competent persons.
- Examine the wall structure. Use the wall-plugs and hooks appropriate for your wall type.
- There should be no electrical cables, supply lines or disposal pipelines running through theinstallation area. The section of wall where the piece of furniture is to be installed must belevel.
- In order to avoid tipping or falling, fasten the furniture item (including standing types) to thewall using the wall mount.
- Connecting the power supply is only to be carried out only by a qualified technician.
- Please consult a qualified technician if you have any questions.

PRE-INSTALLATION – TOOLS REQUIRED
- Drill

- Measuring tape

- Screwdriver

- Silicone

- Level

- Pencil

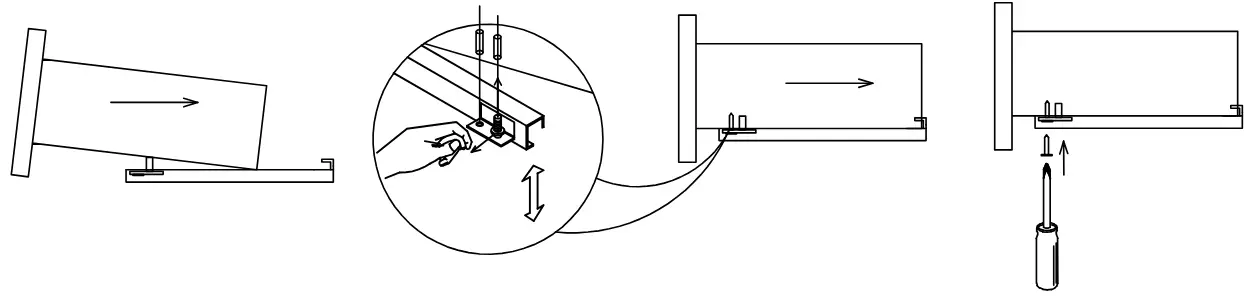
M1.Disassembling / Assembling Sofe Metal Drawer
- Disassembling

- Assembling

M2.VANITY INSTALLATION




M3.VANITY TOP INSTALLATION

Please dry the cabinet with a soft cloth after use do not allow to remain wet
