WEEN Number: 80133970
INSTRUCTION MANUAL
LED LINEAR LIGHT

![]()
Contents
TECHNICAL DATA
| MODEL | SKU | WATTS | LUMENS | CRI | DF | BEAM ANGLE | INPUT POWER | IP RATING | DIMENSION |
| VT-4140 | 10137. 10138 23000. 23001 |
40W | 4000Lm | >80 | >0.9 | 120 | C_ A :220-240V 50/60 Hz |
IP20 | 1200x50x58mm |
INTRODUCTION & WARRANTY
Thank you for selecting and buying V-TAC product. V-TAC will serve you the best. Please read these instructions carefully before starting the installation and keep this manual handy for future reference. If you have any another query, please contact our dealer or local vendor from whom you have purchased the product. They are trained and ready to serve you at the best. The warranty is valid for 3 years from the date of purchase. The warranty does not apply to damage caused by incorrect installation or abnormal wear and tear. The company gives no warranty against damage to any surface due to incorrect removal and installation of the product. The products are suitable for 10-12 Hours Daily operation. Usage of product for 24 Hours a day would void the warranty. This product is warranted for manufacturing defects only.
WARNING
- Please make sure to turn off the power before starting the installation.
- Installation must be performed by a qualified electrician.
- The light source of this luminaire is not replaceable, when the light source reaches its end of life the whole luminaire should be replaced.
- If the external flexible cable or cord of this luminaire is damaged, it shall be exclusively replaced by the manufacturer or his service agent or a similar qualified person in order to avoid a hazard.
- For Indoor use only

MULTI-LANGUAGE
MANUAL QR CODE
Please scan the QR code to access the manual in multiple languages.
This marking indicates that this product should not be disposed of with other household wastes.
Caution. risk of electric shock.
Mounting with hangers
For suspension mounting, it is necessary to use special suspension kits (not included in the kit purchased separately). Fasten the bracket to the ceiling with screws, install the carabiner on the back of the luminaire. Pass the cable through the hanger bracket.Pass the cable through the hole in the suspension cover, then connect the lamp to the 220V network. Installation completed!
Maintenance
Maintenance must be carried out by a qualified authorized personnel with the appropriate authority to do so.
Safety instructions
Installa on and maintenance of the luminaire should only be carried out when the power supply is switched off.
Do not use light sources with a power exceeding that indicated in the luminaire marking.
Disposal
The luminaire does not contain expensive or toxic materials requiring special disposal. Disposal is carried out in the usual way through recycling companies.
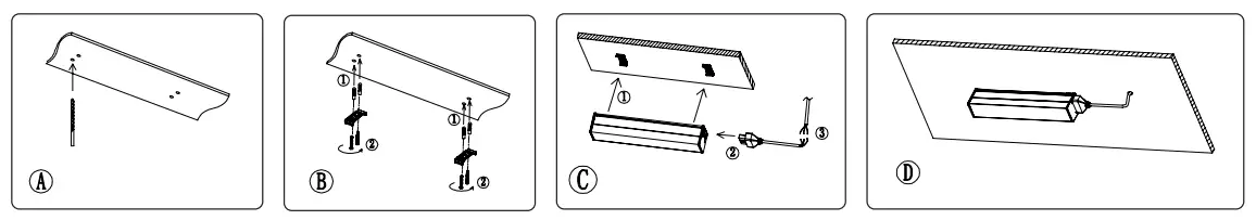
INSTALLATION DIAGRAM
MOUNTING METHODS
- Surface Installation (Surface Mounting Kit Included)

- Hanging (Accessories not included to be purchased separately)

- Recessed (Accessories not included to be purchased separately)

Wiring Diagram

Linking Diagram (Upto 1000W)

Note: When linking 2 or more fixtures, the power cable needs to be plugged only on 1 end.
![]()
Scheme of collecting fixtures “into the system” using fixtures-connectors

NOTE: Be careful! The power input must be one for the whole system!
Scheme for collecting fixtures “in a square”

In case of any query/issue with the product, please reach out to us at: [email protected]
For More products range, inquiry please contact our distributor or nearest dealers.
V-TAC EUROPE LTD. Bulgaria, Plovdiv 4000, bul.L.Karavelow 9B
