Contents
STAND-V002FGL Monitor and Laptop Desk Stand

Product Information
The Monitor and Laptop Desk Stand is a versatile desk stand that can hold both your laptop and monitor. It comes with a pole, base, laptop arm, monitor arm, VESA plate, laptop tray, soft pad, base plate, grommet plate, pole base, pole cover, pole cap, foot pad, arm cable clip, pole cable clip, and various screws and tools for assembly. The stand has a weight capacity of 15.4 lbs (7kg) and can hold a monitor weighing up to 9.9 lbs (4.5kg). It is important not to exceed the weight limit as it may result in serious injury.
Product Usage
- Assemble Pole Base (J) to Pole (A) using M6x16mm Screws (S-D) and 4mm Allen Wrench (T-A). Insert Grommet Plate (I) into Pole Base (J).
- Remove adhesive backing from Soft Pad (G) and stick it to the top of Base Plate (H) making sure the holes in both line up. Assemble Base Plate (H) with Base (B) to the pole assembly using M6x20mm Screws (S-E) and 4mm Allen Wrench (T-A).
- Remove adhesive backing from Foot Pad (M) and stick it to the bottom of Base (B). Slide Pole Cover (K) over Pole (A).
- Remove adhesive backing from Pads (P) and stick them to Foot Pads (M).
- Slide Monitor Arm (D) over Pole (A). Secure Monitor Arm (D) at the desired height using a 6mm Allen Wrench (T-C).
- Slide Laptop Arm (C) over Pole (A). Secure Laptop Arm (C) at the desired height using a 6mm Allen Wrench (T-C). Insert Pole Cap (L) into the top of Pole (A).
- Attach Arm Cable Clips (N) to Laptop Arm (C) and Monitor Arm (D), and Pole Cable Clip (O) to Pole (A).
- Secure VESA Plate (E) to the back of the monitor using M4x12mm Thumbscrews (M-A), or M4x30mm Screws (M-B) and M4 Spacers (M-C).
- Assemble VESA Plate (E) to Laptop Tray (F) using M4x8mm Screws (S-A) and M4 Nuts (S-B). Tighten using Wrench (T-D) and a Phillips screwdriver.
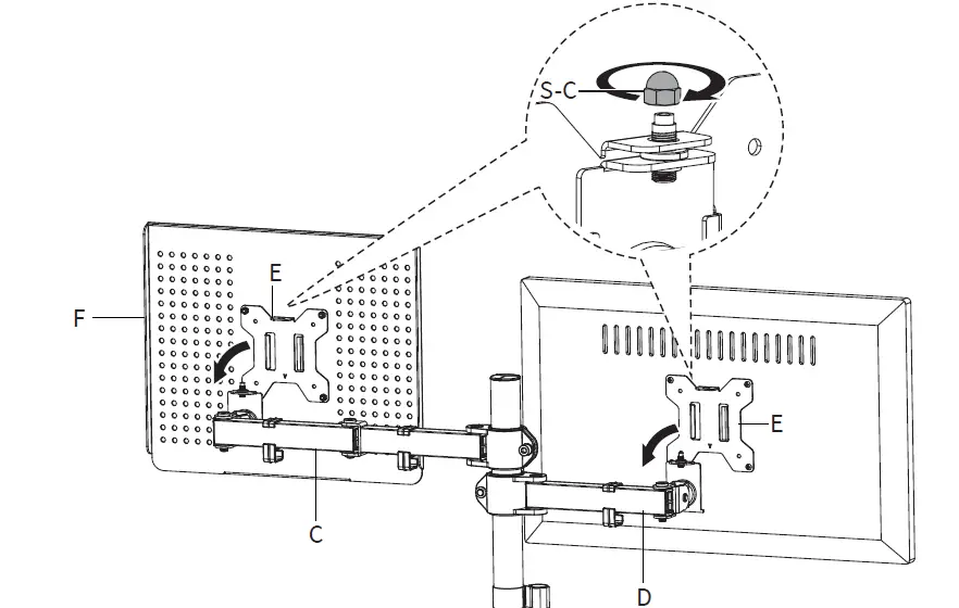
- Slide the monitor with VESA Plate (E) onto Monitor Arm (D), and VESA Plate (E) with Laptop Tray (F) onto Laptop Arm (C). Secure VESA Plates (E) with M6 Nuts (S-C).
- Place your laptop on Laptop Tray (F). Adjust tilt using a 5mm Allen Wrench (T-B).
- CAUTION: To prevent tipping, be careful not to extend the arms too far forward or backward.
If any parts are received damaged or defective, please contact the manufacturer’s support team. They are available Monday-Friday from 7:00 am-7:00 pm CST via phone, email, or chat to offer immediate assistance with rapid response times.
SKU: STAND-V002FGL
Scan the QR code with your mobile device or follow the link for helpful videos and specifications related to this product. https://vivo-us.com/products/stand-v002fgl
GET IN TOUCH | Monday-Friday from 7:00 am-7:00 pm CST

WARNING!
If you do not understand these directions, or if you have any doubts about the safety of the installation, please call a qualified technician. Check carefully to make sure there are no missing or defective parts. Improper installation may cause damage or serious injury. Do not use this product for any purpose that is not explicitly specified in this manual. Do not exceed weight capacity. We cannot be liable for damage or injury caused by improper mounting, incorrect assembly or inappropriate use.
WARNING: CHOKING HAZARD
SMALL PARTS – NOT FOR CHILDREN UNDER 3 YEARS. ADULT SUPERVISION IS REQUIRED.
PACKAGE CONTENTS

NOTE: SOME HARDWARE INCLUDED MAY NOT BE USED
TOOLS NEEDED

DO NOT EXCEED WEIGHT CAPACITY.
Failure to do so may result in serious injury

TIPOVER WARNING
SERIOUS OR FATAL CRUSHING INJURIES CAN OCCUR FROM TIPOVER. TO HELP PREVENT TIPOVER: NEVER ALLOW CHILDREN TO CLIMB, STAND, HANG, OR PLAY ON ANY PART OF THE MONITOR OR STAND. USE TIPOVER RESTRAINT OR ANCHOR STAND TO THE WALL USE OF TIP-OVER RESTRAINTS MAY ONLY REDUCE, BUT NOT ELIMINATE RISK OF TIP OVER
ASSEMBLY STEPS
STEP 1
Assemble Pole Base (J) to Pole (A) using M6x16mm Screws (S-D) and 4mm Allen Wrench (T-A). Insert Grommet Plate (I) into Pole Base (J).
STEP 2
Remove adhesive backing from Soft Pad (G) and stick it to the top of Base Plate (H) making sure the holes in both line up. Assemble Base Plate (H) with Base (B) to the pole assembly using M6x20mm Screws (S-E) and 4mm Allen Wrench (T-A).

STEP 3
Remove adhesive backing from Foot Pad (M) and stick it to the bottom of Base (B). Slide Pole Cover (K) over Pole (A).

STEP 4
Remove adhesive backing from Pads (P) and stick them to Foot Pads (M).

STEP 5
Slide Monitor Arm (D) over Pole (A). Secure Monitor Arm (D) at the desired height using 6mm Allen Wrench (T-C).

STEP 6
Slide Laptop Arm (C) over Pole (A). Secure Laptop Arm (C) at the desired height using 6mm Allen Wrench (T-C). Insert Pole Cap (L) into the top of Pole (A).

STEP 7
Attach Arm Cable Clips (N) to Laptop Arm (C) and Monitor Arm (D), and Pole Cable Clip (O) to Pole (A).

STEP 8
Secure VESA Plate (E) to the back of the monitor using M4x12mm Thumbscrews (M-A), or M4x30mm Screws (M-B) and M4 Spacers (M-C).

STEP 9
Assemble VESA Plate (E) to Laptop Tray (F) using M4x8mm Screws (S-A) and M4 Nuts (S-B). Tighten using Wrench (T-D) and a Phillips screwdriver.

STEP 10
Slide the monitor with VESA Plate (E) onto Monitor Arm (D), and VESA Plate (E) with Laptop Tray (F) onto Laptop Arm (C). Secure VESA Plates (E) with M6 Nuts (S-C).

STEP 11
Place your laptop on Laptop Tray (F). Adjust tilt using 5mm Allen Wrench (T-B).

STEP 12
CAUTION: To prevent tipping, please be careful not to extend the arms too far forward or backward.

Love your new VIVO setup and want to share?

Tag us in your photo!vivo_us Open Monday – Friday 7:00 am – 7:00 pm CST, our dedicated support team can offer immediate assistance with rapid response times. If any parts are received damaged or defective, please contact us. We are happy to replace parts to ensure you have a fully functioning product
AVG. RESOLUTION TIME (within office hrs): 5M 4S
AVG. RESOLUTION TIME (within office hrs): < 15 M
AVG. RESPONSE TIME (within office hrs): 1HR 8M
- 23% within < 15m
- 38% within < 30m
- 61% within < 1hr
- 83% within < 2hr
- 92% within < 3hr
