Contents
V I V O MOUNT-VESA01 VESA Bracket for Intel NUC

Product Information
SKU: MOUNT-VESA01
The MOUNT-VESA01 is a versatile mounting solution designed for flat back monitors and curved monitors. It allows you to securely attach your monitor to a NUC VESA plate, providing stability and flexibility in positioning.
WARNING: CHOKING HAZARD – This product contains small parts and is not suitable for children under 3 years. Adult supervision is required.
Package Contents
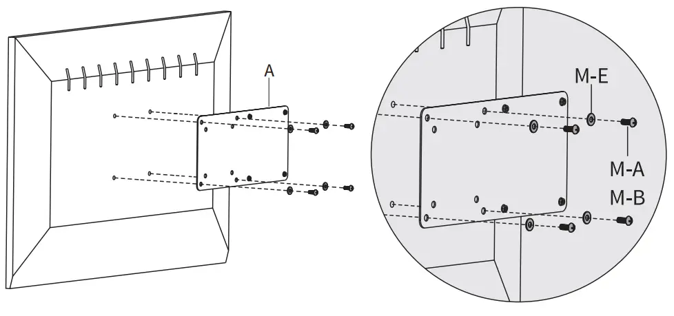
- A (x1) Plate
- M-A (x4) M4x12mm Screw
- M-B (x4) M5x12mm Screw
- M-C (x4) M4x20mm Screw
- M-D (x4) M5x20mm Screw
- M-E (x4) M5 Washer
- M-F (x8) Spacer
- M-G (x4) M4x5mm Screw
- Phillips screwdriver (not included)
Product Usage Instructions
STEP 1 (Option A) – Flat Back Monitor:
Attach Plate (A) to the monitor using Screws (M-A or M-B) and M5 Washers (M-E).
STEP 1 (Option B) – Curved Monitors:
Attach Plate (A) to the monitor using Screws (M-C or M-D), M5 Washers (M-E), and Spacers (M-F).
STEP 2 – Secure the NUC VESA plate:
Attach the NUC VESA plate to Plate (A) using M4x5mm Screws (M-G).
STEP 3 – Attach the NUC chassis:
Insert the heads of the two screws on the chassis into the holes on the NUC VESA bracket. Slide the chassis down to secure.
If you need any assistance or have any questions, our dedicated support team is available Monday to Friday from 7:00am to 7:00pm CST. You can reach us through live chat on our website, by email at he[email protected], or by calling 309-278-5303.
If any parts are received damaged or defective, please contact us for a replacement.
For more information about our products, please visit our website at https://vivo-us.com/products/mount-vesa01.
Scan the QR code with your mobile device or follow the link for helpful videos and specifications related to this product.
https://vivo-us.com/products/mount-vesa01
GET IN TOUCH | Monday-Friday from 7:00am-7:00pm CST
[email protected]
www.vivo-us.com Chat live with an agent!
309-278-5303
WARNING!
If you do not understand these directions, or if you have any doubts about the safety of the installation, please call a qualified technician. Check carefully to make sure there are no missing or defective parts. Improper installation may cause damage or serious injury. Do not use this product for any purpose that is not explicitly specified in this manual. Do not exceed weight capacity. We cannot be liable for damage or injury caused by improper mounting, incorrect assembly or inappropriate use.
WARNING: CHOKING HAZARD
SMALL PARTS – NOT FOR CHILDREN UNDER 3 YEARS. ADULT SUPERVISION IS REQUIRED.
PACKAGE CONTENTS

TOOLS NEEDED

ASSEMBLY STEPS
- STEP 1 (Option A)
Flat Back Monitor
Assemble Plate (A) to the monitor using Screws (M-A or M-B) and M5 Washers (M-E).
- STEP 1 (Option B)
Curved Moniors
Assemble Plate (A) to the monitor using Screws (M-C or M-D) with M5 Washers (M-E) and Spacers (M-F).
- STEP 2
Secure the NUC VESA plate to Plate (A) using M4x5mm Screws (M-G).
- STEP 3
Attach the M3 screws that came with the device to the bottom of the NUC chassis.
- STEP 4
Insert the heads of the two screws on the chassis into the holes on the NUC VESA bracket. Slide the chassis down to secure.
Love your new VIVO setup and want to share? Tag us in your photo! @vivo_us
Open Monday – Friday 7:00am – 7:00pm CST,
our dedicated support team can offer immediate assistance with rapid response times. If any parts are received damaged or defective, please contact us. We are happy to replace parts to ensure you have a fully functioning product.
309-278-5303
AVG. RESOLUTION TIME (within office hrs): 5M 4S
www.vivo-us.com
Chat live with an agent!
AVG. RESOLUTION TIME (within office hrs): < 15 M
[email protected]
AVG. RESPONSE TIME (within office hrs): 1HR 8M
- 23% within < 15m
- 38% within < 30m
- 61% within < 1hr
- 83% within < 2hr
- 92% within < 3hr
FOR MORE VIVO PRODUCTS, CHECK OUT OUR WEBSITE AT: www.vivo-us.com
