Contents
V I V O DESK-E144WC Electric Height Adjustable Stand Up Desk

White & Light Wood Electric Desk
SKU: DESK-E144WC
Scan the QR code with your mobile device or follow the link for helpful videos and specifications related to this product.
https://vivo-us.com/products/desk-e144bn

GET IN TOUCH | Monday-Friday from 7:00am-7:00pm CST
Chat live with an agent!
WARNING!
If you do not understand these directions, or if you have any doubts about the safety of the installation, please call a qualified technician. Check carefully to make sure there are no missing or defective parts. Improper installation may cause damage or serious injury. Do not use this product for any purpose that is not explicitly specified in this manual and do not exceed weight capacity. We cannot be liable for damage or injury caused by improper mounting, incorrect assembly, or inappropriate use.
ELECTRICAL SAFETY INSTRUCTIONS
THIS PRODUCT IS POWERED BY ELECTRICITY. IN ORDER TO AVOID BURNS, FIRE AND ELECTRIC SHOCK, PLEASE READ THE FOLLOWING INSTRUCTIONS CAREFULLY.
- DO NOT CLEAN PRODUCT WHILE POWER IS CONNECTED.
- DO NOT DISASSEMBLE OR REPLACE COMPONENTS WHILE POWER IS CONNECTED.
- NEVER OPERATE THE SYSTEM WITH A DAMAGED CORD OR PLUG. PLEASE CONTACT YOUR SELLER TO REPLACE DAMAGED PARTS.
- NEVER OPERATE SYSTEM IN DAMP ENVIRONMENTS OR IF ANY ELECTRICAL COMPONENTS HAVE MADE CONTACT WITH LIQUIDS.
- ALTERATIONS OF THE GIVEN POWER UNIT ARE NOT ALLOWED.
- OUTDOOR USE IS PROHIBITED.
WARNING: CHOKING HAZARD
SMALL PARTS – NOT FOR CHILDREN UNDER 3 YEARS. ADULT SUPERVISION IS REQUIRED.
PACKAGE CONTENTS

TOOLS NEEDED

ASSEMBLY STEPS
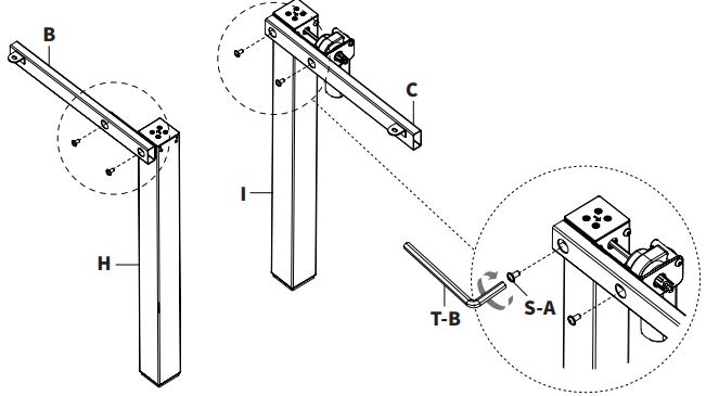
- STEP 1
Attach Left Crossbar (B) to Leg (H) using M6x11mm Screws (S-A) and 5mm Allen Wrench (T-B). Connect Right Crossbar (C) to Motorized Leg (I) using M6x11mm Screws (S-A) and 5mm Allen Wrench (T-B).
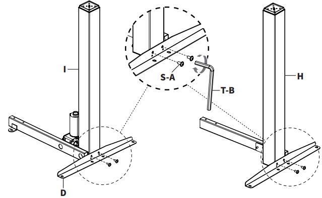
- STEP 2
Connect Side Brackets (D) to Motorized Leg (I) and Leg (H) using M6x11mm Screws (S-A) and 5mm Allen Wrench (T-B).
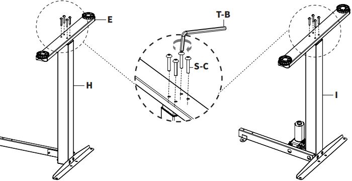
- STEP 3
Attach Foot (E) to Leg (H) and Motorized Leg (I) using M6x35mm Screws (S-C) and 5mm Allen Wrench (T-B).
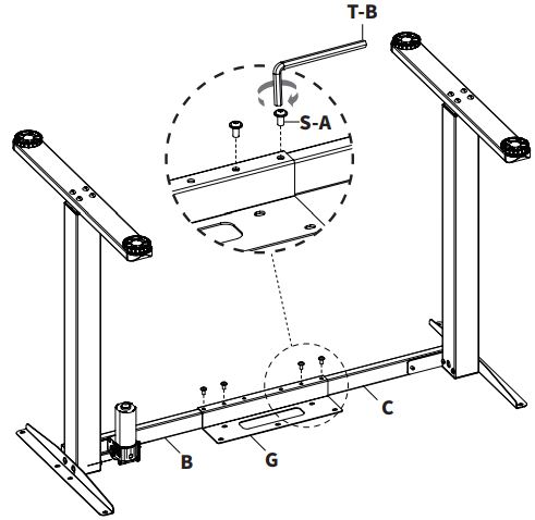
- STEP 4
Use Connecting Bracket (G) to join leg assemblies together by securing it over Left Crossbar (B) and Right Crossbar (C) using M6x11mm Screws (S-A) and 5mm Allen Wrench (T-B).
- STEP 5
Loosen the knob on the Sync Rod (F) and extend the hex shaft. Insert hex shaft into the Leg (H), making sure the metal retaining ring makes contact with the Leg (H). While holding the hex shaft with one hand, extend Sync Rod (F) onto the spline shaft of Motorized Leg (I). Tighten Sync Rod (F) using 2mm Allen Wrench (T-A). Retighten knob. Apply Anti-Vibration Pads (M) to top of frame assembly.
- STEP 6
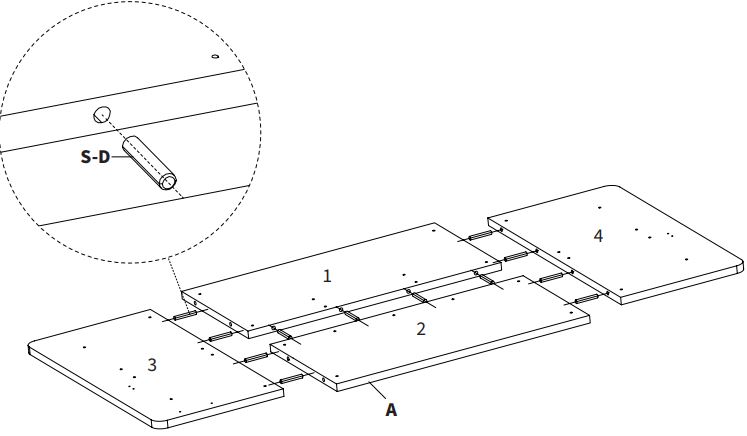
Place Wooden Dowels (S-D) into pre-drilled holes in Desktop (A) pieces, then slide together to form one desktop piece, as shown below. [Desktop pieces are labled 1 thru 4 and should be assembled as shown below]
- STEP 6 (Continued)
Secure desktop assembly using Rectangle and Square Connectors (O, P), M5x16mm Screws (S-B), and a Phillips screwdriver.
- STEP 7
Flip frame assembly over and secure to assembled Desktop (A) using M5x16mm Screws (S-B) and a Phillips screwdriver. Screws will be installed into Side Brackets (D) and Connecting Bracket (G). Attach Headphone Hook (N) and Controller (J) to Desktop (A) using M6x16mm Screws (S-C)and a Phillips screwdriver.
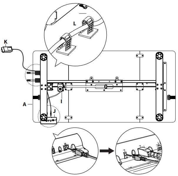
- STEP 8
Connect cable from Motorized Leg (I) to Control Panel (J), as shown below. Connect AC Adapter (K) to Control Panel (J). Secure cables to Desktop (A) using Cable Clips (L).
CAUTION!

Failure to follow these instructions may result in property damage and/or personal injury.
Love your new VIVO setup and want to share? Tag us in your photo! @vivo_us
LAST UPDATED: 09/06/2022 REV2
Open Monday – Friday 7:00am – 7:00pm CST,
our dedicated support team can offer immediate assistance with rapid response times. If any parts are received damaged or defective, please contact us. We are happy to replace parts to ensure you have a fully functioning product.
309-278-5303
AVG. RESOLUTION TIME (within office hrs): 5M 4S
www.vivo-us.com
Chat live with an agent!
AVG. RESOLUTION TIME (within office hrs): < 15 M
AVG. RESPONSE TIME (within office hrs): 1HR 8M
- 23% within < 15m
- 38% within < 30m
- 61% within < 1hr
- 83% within < 2hr
- 92% within < 3hr
FOR MORE VIVO PRODUCTS, CHECK OUT OUR WEBSITE AT: www.vivo-us.com
