UltraHD 20297 4 Door Locker Cabinet Instruction Manual

Contents
Product Overview

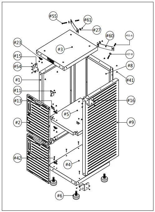
PARTS LIST
Please check the parts carefully according to the parts list. If you are missing any parts, please contact our customer service department.
- (#3) Top Panel x 2PCS
- (#4) Bottom Panel x 2 PCS

- (#1) Left Side Panel x 2 PCS
- (#9) Right Side Panel x 2 PCS

- (#5) Middle Shelf x 2 PCS
- (#8) Back Panel x 2 PCS

- (#2) Door Panel x 4 PCS
- (#11) Lock Plate x 4 PCS

- (#13) Middle Shelf Bracket x 4 PCS
- (#6) Leveling Feet x 8 PCS

- (#15) Corner Protection-A x 4 PCS
- (#16) Corner Protection -B x 4 PCS

- (#22) Key x 8 PCS

- (#23) Magnet x 8 PCS

- (#41) Screw F (M4 x 8L) x 88 PCS
- (#54) Screw N (M4 x 10L) x 40 PCS
- (#42) Screw G (M4 x 30L) x 12 PCS
- (#61) Screw O (M4 x 12L) x 4 PCS

- (#27-B) WASHER (M8) x 4 PCS
- (#27) WASHER (M4) x 4 PCS

- (#55) Screw M (M6 x 50L) x 4 PCS

- (#55-A) Wall Anchor x 4 PCS
- (#60) Mounting Strap x 4 PCS

- (#50) SCREW I (M6 x 15L) x 4 PCS

- (#25) Wrench x 1 PC

- (#21) Screw Driver x 1 PC

- (#62) Name Card x 4 PCS

Installation
*NOTE: We recommend using TWO people to assemble the cabinet.
Step 1. Install (#4) Bottom Panel, (#1) Left Side Panel and (#9) Right Side Panel.
Place the (#4) Bottom Panel to (#1) Left Side Panel and (#9) Right Side Panel, line up screw holes, use 6 pcs of (#42) Screw G (M4 x 30L)to tighten.

Note : Before tightening screws, make sure all parts are completely flush with the surface .
Step 2. Install (#3) Top Panel
- Place the (#3) Top Panel to (#1) Left Side Panel, line up screw holes, use 3 pcs (#41) Screw F (M4 x 8L) to tighten.
- Place the (#9) Right Side Panel to (#3) Top Panel, line up screw holes, use 3 pcs (#41) Screw F (M4 x 8L) to tighten.

Note : Before tightening screws, make sure all parts are completely flush with the surface.
Step 3. Install (#8) Back Panel
Align (#8) Back Panel with the back of box, line up screw holes, use 14 pcs (#41) Screw F (M4 x 8L) to tighten.
Note: Do not fully tighten any one screw until all screws are partially screwed in.
Step 4. Install (#6) Leveling Feet
Install Leveling Feet (#6) into the largest corner holes of the Bottom Panel (#4). Use Wrench (#25) to tighten.

Step 5. Install (#5) Middle Shelf
- Place the (#5) Middle Shelf into cabinet diagonally and insert it line up with the back two sides.
- Place the middle shelf to left and right side panels, use 2 pcs (#41) screws F (M4X8L) to tighten . (As shown step A of the left picture)
- Place the 2 pcs (#13) Middle Shelf Bracket to (#5) Middle Shelf, line up screw holes, use 4 pcs (#41) screws F (M4X8L) to tighten on left and right side panels. (As shown step B of the left picture)

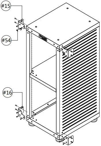
Step 6. Install (#15) &(#16) Corner Protections A & B .
- Attach (#15) Corner Protection A on Left upper and Right Bottom Corner of the cabinet, use 10pcs (#54) Screw N (M4X10L)to tighten.
- Attach ( #16) Corner Protection B on Right upper and Left Bottom Corner of the cabinet, use 10pcs (#54) Screw N (M4X10L) to tighten.

Do not fully tighten any one screw until all screws are partially screwed in.
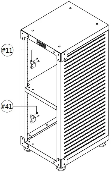
Step 7. Install(#11) Lock Plate
Place the 2pcs (#11) Lock Plate on the inside front of the left side panel, line up screw holes, use 4 pcs of (#41) Screw F (M4 x 8L)to tighten. (As shown in the left picture)

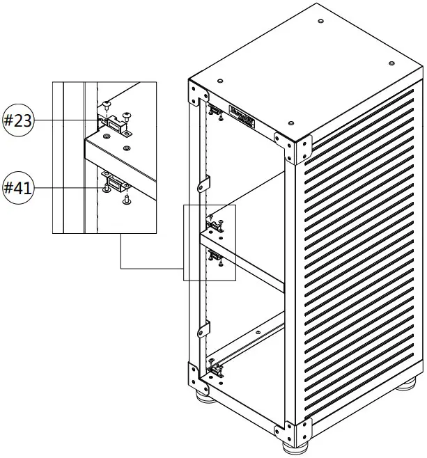
Step 8. Install (#23) Magnet.
Place (#23) Magnet on (#3) Top Panel and (#4) Bottom Panel and (#5)middle shelf facing the front, use total 8pcs (#41) Screw F (M4 x 8L)to tighten.

Step 9. Install (#2) Doors Panel
Attach (#2) Door Panel to (#9) right panel, line upthe screws holes, use 6 pcs (#41) screw F (M4X8L) to tighten.
Repeat this step to assemble another doors.

Note: The OB screw holes on the door hinge have tolerance, enabling the door to be adjusted and centered in the door frame.
Step 10. Install Mounting Strap (#60)
A. Remove 1 pc Screw F (#41) from the back corner protection.
B. Attach the Mounting Strap (#60) to the back Corner Protection brackets as the left photo shows, and using Screw O (#61) and Washer (#27).
C. Drill a hole in the wall with a 5/16″ drill bit, insert the Wall Anchor (#55-A) into the hole.
D. Attach the other end of the Mounting Strap (#60) to the wall using Screw M (#55) and Washer (#27-B).

Repeat steps A through D to install the other mounting strap.
Repeat step 1-10 assemble another cabinet, If stacking is needed, do not need install Leveling Feet in step 4.
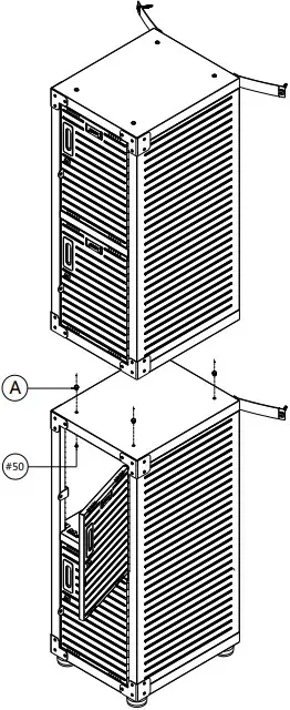
Step 11. Stack up and down installation mode
- Remove four rubber plugs (A) from the bottom top.
- Align upper and bottom Cabinet ,line up screw holes, use 4 pcs screws I (M6X15L) to tighten, from top of bottom cabinet to bottom of #50 upper cabinet .

Module
UltraHD® Tall Storage Cabinet
Model No. 16236 (Granite)
Model No. 20143 (Graphite)
Model No. 20153 (Red)
Model No. 20133 (White)

UltraHD® Mega Storage Cabinet
Model No. 16238 (Granite)
Model No. 20148 (Graphite)
Model No. 20158 (Red)

UltraHD® 4-Drawer Rolling Cabinet
Model No. 20205 (Granite)

UltraHD® 6-Foot Height Adjustable Workbench
Model No. 20292 (Granite)
Model No. 20293 (Graphite)

UltraHD® Wall Cabinet with Open Shelf
Model No. 20230 (Granite)
Model No. 20140 (Graphite)
Model No. 20150 (Red)

UltraHD® 2-Door Rolling Workbench
Model No. 20262 (Granite)
Model No. 20142 (Graphite)
Model No. 20152 (Red)

UltraHD® Rolling Trash Bin
Model No. 20215

UltraHD® Lighted Workcenter
Model No. 20247 (Granite)
Model No. 20246 (Graphite)
Model No. 20157 (Red)

CONTACT INFORMATION
If you are missing any parts, have any questions, or need additional assistance in assembly, please contact our bilingual (English and Spanish) customer service department at:

Seville Classics, Inc.
19401 Harborgate Way Torrance, CA 90501 USA
Telephone: 800-323-5565 within USA
Fax: 310-533-3899
Hours: 9:00am – 4:30pm (Pacific Standard Time)
E-mail: [email protected]
Website & Online Store: www.sevilleclassics.com
