TRAILER VALET RVR series RVR3 Electric Trailer Mover User Manual

Home » TRAILER VALET » TRAILER VALET RVR series RVR3 Electric Trailer Mover User Manual

TRAILER VALET RVR series RVR3 Electric Trailer Mover 

OPERATING MANUAL

WARNING Carefully read and understand all the instructions before connecting your new RVR.
Failure to follow these guidelines may result in serious injury to persons and property for which Trailer Valet will not be held liable. Do not allow persons to operate or assemble this unit until they have read this manual and have developed a thorough understanding of how the unit works.

Thank you for your purchase!

Congratulations on your purchase of the Trailer Valet RVR. For your future reference please complete the owner’s record below:
Purchase Date: ______________________ Order No.:______________________
Retailer:_____________________________
Be sure to save your receipt and owner’s manual with warranty information in a safe place.

The Trailer Valet RVR is a remote operated, heavy duty, motorized trailer dolly designed to take the chore out of moving your trailers, RVs, campers, boats, etc. Its independently operated motors allow for 360 degrees of free rotation allowing you to get what you’re moving around those tight corners and past those small spaces.
Coming in with three models at three increasing weight ratings, the RVR3 is able to tow up to 3500 lbs, the RVR5 at 5500lbs, and the RVR9 is able to tow up to 9000lbs.

IMPORTANT SAFETY INFORMATION

  1. DO NOT use the RVR on slopes and inclines beyond stated limits.
  2. Avoid getting the RVR wet. DO NOT submerge the RVR in water (salt or fresh).
  3. Carefully read all instructions. The operator of the RVR must exercise common sense, caution, and full judgment when assessing situations not covered or cautioned in this manual.
  4. The RVR is designed for specific applications only. Trailer Valet will not be responsible for issues arising from modifications made onto the device. Do not modify the device or use the device for any application other than its intended purpose. Do not exceed the designated weight limits.
  5. Stay alert! Do not operate if you are tired. Do not operate the device while under the influence of drugs or alcohol.
  6. Do not allow the RVR to be operated by children.
  7. Operator and bystanders should never place any part of the body under or in the path of any portion of this product or the load being supported or moved.
  8. This product must be installed and used in strict accordance with these instructions.
  9. Before each use of the RVR, check for functionality and charge. Carefully inspect the device for any part that appears to be damaged to determine if the device will operate properly. If the device is neither charged, secured, or both: DO NOT use the device.
  10. When servicing, use only factory replacement parts.
  11. Have wheel blocks in place before/after use and ready in case of emergency.
  12. Never exceed the maximum rated capacity. Refer to the operating manual or decals on the product to obtain rated capacity. If uncertain, contact Customer Support at 844-846-9344 or email: [email protected].
  13. The RVR is designed for vertical loading. Excessive side forces may cause failure and must be avoided.
  14. The use of gloves is recommended while attaching the device to the trailer.
  15. The RVR is designed for use on solid surfaces. DO NOT use the product on excessively soft or muddy terrain as the device will not be able to gain traction. If there is no traction despite being on a solid surface, consider shifting more of the weight of your trailer forward.
  16. CLEANING: If you have used the RVR in wet or dirty conditions, you can clean it in the following manner: Remove pebbles, clay, grass, and the like from the belts. Then give it a gentle cleaning using a small amount of clean water and a brush or cloth. Do not use soap or cleansing agents or a high-pressure cleaner.
  17. STORAGE: Put the RVR in the transport box/bag delivered from the factory. If the storage box/bag should become damaged, discard it. Store the RVR in dry, frost-free conditions. Do not store the RVR in direct sunlight or at high temperatures. High temperatures may drain the battery quickly.
  18. MAINTENANCE: The RVR should be operated at least every other month in order to keep the battery healthy.If the RVR goes unused for more than two months, it is highly
    recommended that you operate the RVR for a short while and then charge the battery until the LED on the charger turns green, in order to maintain maximum battery life and performance.

Specifications

  • Compact Design: Measuring under 21”x18”x12”, the RVR weighs between 45-77lbs.
  • Planetary Motors: 2-4 high torque motors to drive both single and dual axle trailers.
  • Aluminum Body: Allows for a lightweight design and a lifetime of corrosion resistance.
  • Heavy Duty Treads: Caterpillar Treads that give you more traction over different surfaces.
  • Wirelessly Controlled: Easily and safely operate from any angle with the push of a button.
  RVR3 RVR5 RVR9
Signal Frequency 2.4GHz
Signal Power -20~4.5dbm
Rated Voltage 14.BV 20V 24V
Rated Current 20A 40A 30A
Starting Peak Current MAX. 150A
Battery Operating Capacity Approx. 30 min. operation
Battery Charger 100-240 VAC, 16.8VDC/2A
Remote Battery X2 AA (1.5V)
Max. Tongue Weight 350 lbs 550 900 lbs
Speed Unloaded Approx. 9 m/min
Speed Loaded Approx. 7 m/min
Hauling Capacity Up to 3,500 lbs Up to 5,500 lbs Up to 9,000 lbs
Weight Approx. 45 lbs Approx. 77 lbs
Tracks 2″ with rubbeli profiles

 

WARNING NOTICE FOR BATTERY
Charge the battery completely before first use!
The lithium battery installed in this machine has only been charged to partial capacity (as freight regulations prescribe). It is vital that you charge the battery to its full capacity before operating the machine to ensure high performance and long life. Charging for the first time may take 6-8 hours (see recharging instructions).
Recharge Periodically!
If the RVR goes unused for more than two months, it is highly recommended to inspect and charge the battery in order to maintain maximum battery life and performance. Do not store the RVR in direct sunlight or at high temperatures. High temperatures may drain the battery quickly.
Failure to follow these instructions may damage the battery and void the battery’s warranty!

Overview

Upon removing items from packaging, it is very important to thoroughly inspect all parts of the system before using the device. Any part that is missing or damaged must be immediately replaced.
Contact Trailer Valet Customer Service at 1-844-846-9344 or [email protected]

CARTON CONTENTS
  1. The Trailer Valet RVR
  2. Battery Charger
  3. Remote Control
    Overview
MOUNT BRACKET SET (INCLUDED WITH RVR3)

1a) Bracket
2a) RVR Bracket Adapter
Overview

COUPLER SET (INCLUDED WITH RVR5 & RVR9)

1b) 17/8”, 2”, or 25/16” Custom Hitch Ball
2b) Custom Ball Base
3b) Rotation/ Security Pin
4b) Coupling Plate
5b) Base Tower
6b) Spanner Wrench
Overview

Assembly

CHARGING THE RVR
To charge the RVR battery, connect the charger to the RVR by placing the charging plug in the outlet on the back end cover. Connect the charger to an outlet with the appropriate outlet fitting.
The battery charger displays a constant red light while charging is in progress. Completion of battery charging is indicated by a constant green light.
Assembly

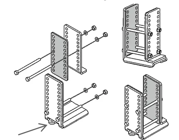
ATTACH WITH MOUNT BRACKET:

  1. When mounting the RVR onto your trailer frame, adjust the front height using your trailer jack when either detaching or stowing the jack.
  2. Fit the Mount Bracket Tower into the slot on the top of the RVR and Secure with the four included screws.
  3. The Mount Bracket Tower on the RVR fits into the slot on the underside of RVR Mount Bracket. (See Figure)
    Assembly
    MB Tower Slot & Cotter Pin Hole
  4. After the tower is slotted, use the factory- provided cotter ring to lock the RVR to the frame Mount Bracket.

REPLACING THE REMOTE CONTROL BATTERIES

  1. Loosen the 4 screws on the remote’s back panel and remove.
  2. Replace the old batteries with two new AA (1.5V) batteries.
    Remember to protect the environment when disposing of batteries – do not dispose with ordinary household waste.

ATTACH WITH COUPLER SET:

  1. 1. If the Coupling Plate is not already installed with the Ball Base, detach the ball from the Base, slip the Coupling Plate under the ball, and reinsert into the Base. Secure tightly.
    Assembly
  2. Place the Ball Base into the Base tower and secure with included pin. Then secure the Ball Base Tower into the slot on top of the RVR in place of the Mount Bracket Tower.
  3. Raise the trailer tongue above the height of the Hitch Ball in order to slip the ball into the coupler and lock the with the coupler latch.
    Assembly
  4. Using the Spanner Wrench, turn the Locking Nut counter clockwise until the nut is secured flat against the coupler.
    Assembly

Failure to tighten the Locking Nut against the coupler may cause the ball to slip out of the coupler

Operating Instructions

ACTIVATING AND PAIRING THE RVR WITH THE REMOTE CONTROL The RVR comes pre-paired with the remote control.

  • Turn on the RVR by pressing the Start/Stop button located on the front of the RVR.
  • Turn on the remote control by pushing the forward button ( ) once.
  • The RVR is now ready to use.

The start/stop button and operating status indicator (The diode lighting can be difficult to see in strong sunlight
Operating instructions
Operating instructions

The battery indicator shows the RVR’s remaining battery status.
If the level is too low, the RVR may not respond correctly.
If the indicator itself weakens, the remote control batteries need to be replaced for the RVR to respond correctly.

IMPORTANT

RE-PAIRING THE RVR

  1. Turn on the Remote Control by pushing the Forward button ( ) once. The green light on the Remote Control will turn on.
  2. Turn on the RVR by clicking the Start/Stop button. The green light on the RVR will turn on.
  3. Now simultaneously press and hold the Turn Right button ( ) on the Remote Control and press and hold the Start/Stop button on the RVR, both LED lights start to blink for 8 seconds, after which the LED lights will light constantly. Now the RVR and Remote Control have been re-paired and are ready to use. If this pairing procedure is unsuccessful, the Remote Control will turn off automatically in around 15 seconds, and the user needs to redo the procedure from step 1.

SAFETY AND OPERATION INFORMATION BEFORE STARTING

  1. Familiarize yourself with the operating manual, and practice maneuvering the trailer on a flat surface before attempting to maneuver with a load. We recommend testing your RVR at home – also without a trailer – so you can try out the different maneuvering options.
  2. Load: The RVR is designed for moving trailers weighing up to approx. 9000lbs (RVR9), 5500lbs (RVR5), or 3500lbs (RVR3). In order for RVR to function optimally, the tongue weight must be at least 165-190lbs. Too little weight on the RVR may result in poor gripping and poor towing results. Greatest pressure is achieved by mounting the RVR as far back on the trailer frame as possible.
  3. Level surfaces: To ensure optimal transfer of the RVR’s power to the surface it is to operate
    on, the RVR must move in the direction of the antenna, i.e. forward. (Except on sloping surfaces, see below).
  4. Sloping surfaces: Depending on use, operating the RVR on inclines may shift weight off the RVR resulting in poor contact with the terrain or shift weight onto the RVR compounding weight stress. Avoid inclines if able.
  • When using your RVR to move your trailer UP a slope or edge, the RVR must PUSH the trailer up the slope – if necessary, one wheel at a time. Optionally, use a long shallow ramp for edges/ curbs.
  • When moving your trailer DOWN a slope the RVR must LEAD the trailer DOWN the slope

if going downhill, it is very important that the RVR is turned 180 degrees, so that it is moving in reverse, down the hill, i.e. with the antenna opposite the maneuvering direction and facing the trailer. This is important, as the RVR might otherwise tip over forward.
DO NOT attempt to tow down very steep inclines or on wet, oily surfaces. It may be necessary to employ wheel chucks on your trailer during operation if the RVR is unable to hold the trailer or the caterpillar tracks cannot adequately grip the surface.
DO NOT use the RVR on slopes and inclines exceeding a strict maximum of 5 degrees on a paved/concrete surface. This rating is subject to factors including , but not limited to, alternate surfaces, weight distribution, changes in weight capacity, and use on multi-axle trailers. If you have any questions concerning the use of your Trailer Valet RVR on a slope or incline, please contact us at 844-846-9344 or email us at: [email protected]

MANEUVERING THE RVR
The Trailer Valet logo on the remote control must always point toward the RVR. Use both hands on the remote control, and hold horizontally during use.

  • Forward: To move forward, in the same direction as the antenna, hold down forward button ( ↑ ).
  • Backward: To move backward/reverse, hold down the back button ( ).
  • Turn: To turn, hold down the forward ( ↑ ) or backward ( ) button while at the same time holding down one of the turn buttons of the remote control to turn right ( ⮕ ) or left ( ⬅ ). The RVR will only turn if you first hold the forward or backward button, followed by a turn button.
  • Stop: To stop the RVR from moving, simply release the forward or backward button.

NOTE: If your trailer has built-in brakes, they must be disengaged prior to operation of the Trailer Valet. Consult your trailer manufacturer’s manual/instructions on temporary brake release. If this is not available to you, please contact Trailer Valet Customer Support through phone or email for assistance.

DEACTIVATING THE RVR

  • The RVR shuts off automatically after 3 minutes of inactivity
  • Manually shut off by pressing the start/stop button to disconnect the power on the RVR. Turn off the Remote Control LED light by holding down the right button ( ⮕ ), and then pressing the left button ( ⬅ ) at the same time.

DETACHING THE RVR

It is important that you always detach the RVR after use and place it in the storage box/bag together with the remote control.
When you have finished towing the trailer and you want to disconnect the RVR, activate your trailer brake or place wheel chucks and adjust your trailer jack so that the trailer is slightly elevated. This takes the weight off the RVR.
If mounted with the bracket, remove the cotter ring and use the remote control to move the RVR out of the lock fitting (or pull it out manually).
If mounted with the hitch ball, loosen the hitch locking nut before releasing the coupler latch.
Raise the trailer tongue above the hitch and use the remote to move the RVR away from the trailer.
Never leave the RVR mounted to the trailer while towing the trailer behind a vehicle

LIMITED MANUFACTURER’S WARRANTY

SuperTech S Corp warrants for one year from the purchase date that the product will be inworking condition and will be free from manufacturing defects, provided that installation and use of the product is in accordance with product instructions. This warranty is only made to the original consumer purchaser and is non-transferable.

ALL OTHER WARRANTIES IMPLIED OR EXPRESSED ARE HEREBY DISCLAIMED.

THIS WARRANTY DOES NOT COVER:

  1. Normal wear and tear or normal aging of the product;
  2. Consumable parts designed to diminish over time, unless failure occurred due to a manufacturing defect
  3. Cosmetic damage, including but not limited to scratches and dents;
  4. Damage through accident, abuse, neglect, misuse, natural events, or other external causes;
  5. Damage through misapplication, overloading, or improper installation;
  6. Damage due to improper maintenance and repair; and/or
  7. Product alterations.

LIMITATION OF LIABILITY:
EXCEPT AS PROVIDED IN THIS WARRANTY AND TO THE MAXIMUM EXTENT PERMITTED BY LAW, SUPERTECH IS NOT RESPONSIBLE FOR ANY DIRECT, INCIDENTAL, CONSEQUENTIAL DAMAGES, OR INJURIES RESULTING FROM ANY BREACH OF WARRANTY OR CONDITION; INCLUDING, BUT NOT LIMITED TO, LOSS OF USE, LOSS OF REVENUE, LOSS OF ACTUAL OR ANTICIPATED PROFITS, LOSS OF BUSINESS, LOSS OF OPPORTUNITY, LOSS OF GOOD WILL, LOSS OF REPUTATION, OR ANY DIRECT, INDIRECT, OR CONSEQUENTIAL LOSS OR DAMAGE WHATSOEVER CAUSED, INCLUDING THE REPLACEMENT OF EQUIPMENT AND PROPERTY.

CUSTOMER RESPONSIBILITIES:
Customers may be required to provide proof of purchase date, respond to questions designed to assist with diagnosing potential issues, and follow Trailer Valet’s directions to make a claim on your warranty

TO MAKE A WARRANTY CLAIM:
Contact us either through:
PHONE: 844-846-9344
EMAIL: [email protected]
WEBSITE: www.trailervalet.com
TRAILER VALET SHALL HAVE THE EXCLUSIVE RIGHT TO DETERMINE IF A UNIT IS COVERED UNDER ITS LIMITED MANUFACTURER’S WARRANTY. SEVERABILITY:
The invalidity, illegality, or unenforceability of any provision of this warranty shall not render the other provisions invalid, illegal, or unenforceable.
GOVERNING LAW AND JURISDICTION
This warranty shall be governed by the laws of the State of California. The courts of California shall have the exclusive right to adjudicate any disputes arising under or in connection to this warranty.

Copyright 2021 by Supertech S. Corporation. All rights reserved. No portion of this manual or any artwork contained herein may be reproduced in any shape or form without the express written consent of Supertech S. Corporation.

For further information or if you have any questions, please contact:
SUPERTECH S. CORP.
Customer Service: 844-846-9344
Email: [email protected]
WWW.TRAILERVALET.COM
Phone: 844-846-9344
Email: [email protected]
Website: www.trailervalet.com
TRAILER  Logo

Leave a Comment