Contents
tp-link Tapo D130 Wired Video Doorbell

Before You Start
WARNING: Risk of Electric Shocks
- Ensure that your existing doorbell works by ringing the doorbell.
- Locate your existing doorbell chime.
- Make sure the doorbell is in an area with a strong Wi-Fi signal.
- Disconnect power at the fuse or circuit breaker before installing.
- You can always find detailed wiring and installation instructions in the Tapo app.

Install Jumper Wire for Your Existing Chime
- Turn off the circuit breaker. Make sure the power is off by ringing your doorbell a few times.

- Remove the chime cover and take a photo of the wiring in case you want to reconnect it.

- Slightly loosen the screws for the Front and Trans of your front doorbell, then insert the jumper wire.
- Note: If your doorbell chime has different markings, refer to instructions in the Tapo app or consult a licensed electrician.

- Note: If your doorbell chime has different markings, refer to instructions in the Tapo app or consult a licensed electrician.
Preparations for Installing Your Doorbell
- Remove your existing doorbell on the door. Disconnect the wires.
- Take care to avoid electric shocks.

- Take care to avoid electric shocks.
- (Optional) Select the mounting wedge to adjust the viewing angle of the doorbell.

Take care to avoid electric shocks. *Recommended Installation Height: 1.2 m (4 ft) above the ground
Option 1. Stick to a clean wall
*This equipment shall be installed at a height of fewer than 2 meters.
- Attach the included adhesive to the back of the bracket or the wedge you have selected. If you use the wedge, affix the bracket and the wedge with screws.
- Note: This is applicable with tile, glass, marble, metal, stainless steel, and hard wall surfaces.

- Note: This is applicable with tile, glass, marble, metal, stainless steel, and hard wall surfaces.
- Route the wires through the bracket. Stick the bracket with adhesive to a clean wall.
- Connect the wires to the two terminals at the back of the doorbell, and tighten the terminal screws.
- Note: If the wires are too short, use the included extension wires and wire nuts to make them longer.

- Note: If the wires are too short, use the included extension wires and wire nuts to make them longer.
- Mount the doorbell to the bracket and turn on the circuit breaker.

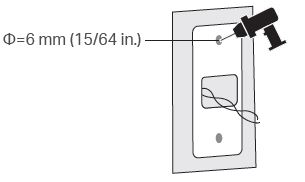
Option 2. Mount to the wall
- Route the wires through the mounting template and stick the template. Drill two holes where indicated.

- Route the wires through the bracket. Insert two anchors into the holes and use the screws to affix the bracket over the anchors.
- Note: When mounting to uneven walls, stick the foam pad on the back of the bracket or wedge

- Note: When mounting to uneven walls, stick the foam pad on the back of the bracket or wedge
- Connect the wires to the two terminals at the back of the doorbell, then tighten the terminal screws.
- Note: If the wires are too short, use the included extension wires and wire nuts to make them longer.

- Note: If the wires are too short, use the included extension wires and wire nuts to make them longer.
- Mount the doorbell to the bracket and turn on the circuit breaker.
Set Up Your Doorbell and Chime
- Download the Tapo app from the App Store or Google Play. Open the app and log in with your TP-Link ID. If you don’t have an account, create one first.

- Tap the + button in the app and select your model. Follow the instructions in the Tapo app to set up your doorbell. Then plug in your chime and pair with the doorbell.

Doorbell Appearance
- Microphone
- Lens
- Ring Button
- LED
- microSD Card Slot
- Reset Button
Chime Appearance
- Speaker
- Reset Button
- LED
- Volume Button
- Music Button
Doorbell Slot & Button Explanation
microSD Card Slot
Loosen the screws and insert a microSD card for local recording. microSD card not included.
Reset Button
- Use a pin to press and hold for 5 seconds: Reset Wi-Fi settings
- Use a pin to press and hold for 10 seconds: Reset to factory settings
Doorbell LED Indication
| Solid red | Starting up |
| Blinking red and green | Ready for setup |
| Blinking red slowly | Connecting to Wi-Fi |
| Solid amber | Connected to Wi-Fi |
| Solid white | Connected to the cloud |
| Blinking green quickly | Doorbell updating |
| Blinking red quickly | Doorbell resetting |
Chime LED Indication
| Solid red | Starting up |
| Blinking red and green | Ready for setup |
| Blinking red slowly | Connecting to Wi-Fi |
| Solid amber | Connected to Wi-Fi |
| Solid green | Connected to the cloud |
| Blinking green quickly | Chime updating |
| Blinking red quickly | Chime resetting |
How to Detach Doorbell
Use the doorbell detaching pin provided if you wish to detach the doorbell from the mounting bracket.
Safety Information
- Do not use the device where wireless devices are not allowed.
- Keep the device away from fire or hot environments. DO NOT immerse in water or any other liquid.
- Do not disassemble, repair or modify the product.
- Do not use the product if the casing has been broken. Danger of electric shock.
- Never touch the product with wet hands.
- Do not place near automatically controlled devices such as fire alarms. Radio waves emitted from this product may cause such devices to malfunction resulting in an accident.
- Observe restrictions on using wireless products in fuel depots, chemical plants or when blasting operations are in progress.
- Do not use liquid to clean the product. Only use a dry cloth.
- Never put metal objects inside the product. If a metal object enters the product turn off the circuit breaker and contact an authorised electrician.
- This product is not intended to be used when providing medical care. Consult the manufacturer of any personal medical devices, such as pacemakers or hearing aids to determine if they are adequality shielded from external RF (radio frequency) energy.
- Do not use this product in health care facilities. Hospitals or health care facilities may be using equipment that could be sensitive to external RF energy.
- Do not use this product near water for example near a bath tub, wash bowl, kitchen sink or laundry tub, in a wet basement or near a swimming pool.
- The product should be kept free from excessive smoke, dust or high temperature and vibration.
- This product should not be exposed to direct sunlight
- Do not place heavy objects on top of the product.
- This product may interfere with other electronic products such as TV, radios, personal computers, phones or other wireless devices.
- This equipment can be powered only by equipment that complies with Power Source Class 2 ( PS2) or Limited Power Source(LPS) defined in the standard of IEC 62368-1.
- Doorbell Operating Temperature: -20 °C ~ 45°C (-4°F ~ 113°F)
- Chime Operating Temperature: 0 °C ~ 40°C (32°F ~ 104°F)
Please read and follow the above safety information when operating the device. We cannot guarantee that no accidents or damage will occur due to improper use of the device. Please use this product with care and operate at your own risk.
FCC STATEMENT
Canadian Compliance Statement
This device contains licence-exempt transmitter(s)/receiver(s) that comply with Innovation, Science and Economic Development Canada’s license-exempt RSS(s). Operation is subject to the following two conditions:
- This device may not cause interference.
- This device must accept any interference, including interference that may cause undesired operation of the device.
Radiation Exposure Statement:
This EUT is compliance with SAR for general population/uncontrolled exposure limits in RSS-102 and had been tested in accordance with the measurement methods and procedures specified in IEEE 1528 and IEC 62209. This equipment should be installed and operated with minimum distance 1.0 cm between the radiator and your body. This device and its antenna(s) must not be co-located or operating in conjunction with any other antenna or transmitter.
Radiation Exposure Statement:
This equipment complies with IC radiation exposure limits set forth for an uncontrolled environment. This equipment should be installed and operated with a minimum distance 20cm between the radiator & your body.
FCC compliance information statement
This equipment has been tested and found to comply with the limits for a Class B digital device, pursuant to part 15 of the FCC Rules. These limits are designed to provide reasonable protection against harmful interference in a residential installation. This equipment generates, uses and can radiate radio frequency energy and, if not installed and used in accordance with the instructions, may cause harmful interference to radio communications. However, there is no guarantee that interference will not occur in a particular installation. If this equipment does cause harmful interference to radio or television reception, which can be determined by turning the equipment off and on, the user is encouraged to try to correct the interference by one or more of the following measures:
- Reorient or relocate the receiving antenna.
- Increase the separation between the equipment and receiver.
- Connect the equipment into an outlet on a circuit different from that to which the receiver is connected.
- Consult the dealer or an experienced radio/ TV technician for help.
This device complies with part 15 of the FCC Rules. Operation is subject to the following two conditions:
- This device may not cause harmful interference.
- This device must accept any interference received, including interference that may cause undesired operation.
Any changes or modifications not expressly approved by the party responsible for compliance could void the user’s authority to operate the equipment.
Note: The manufacturer is not responsible for any radio or TV interference caused by unauthorized modifications to this equipment. Such modifications could void the user’s authority to operate the equipment.
FCC RF Radiation exposure Statement
This equipment complies with FCC RF radiation exposure limits set forth for an uncontrolled environment. This device and its antenna must not be co-located or operating in conjunction with any other antenna or transmitter. “To comply with FCC RF exposure compliance requirements, this grant is applicable to only Mobile Configurations. The antennas used for this transmitter must be installed to provide a separation distance of at least 20 cm from all persons and must not be colocated or operating in conjunction with any other antenna or transmitter
