TORMEK SVM-00 Small Knife Holder Instructions

Home » TORMEK » TORMEK SVM-00 Small Knife Holder Instructions

TORMEK SVM-00 Small Knife Holder Instructions
Small Knife Holder

SVM-00 Small Knife Holder

SMALL KNIVES
Small Knife Holder

Various carving knives, skew knives and pocket knives.
Small Knifes
Positioning of Machine
Positioning of Machine
Sharpening direction:
Towards or away from the edge

Note The height of the bench must not be too high when grinding towards the edge. 550–650 mm (22–26″) is suitable depending on your height

Design
The SVM-00 Small Knife Holder complements the SVM-45 Knife Jig. It extends the usage so that you can sharpen even the smallest knives

It consists of a Guide Bar (1), a Handle Grip (2), and an Adjustable Clamp (3). The knife handle is fastened with the Knob (4). The holder is designed to securely hold the knife without damaging the handle.Parts Instruction
The Guide Bar (1) mounts in the jaws of the SVM-45 Knife Jig and you sharpen using the same technique as for the knife jig. The exact edge angle is set by turning the Adjustable Stop (6) or using the Micro Adjust on the Universal Support.

SVM-45
Parts Instruction

Mounting the knife

  1. Mount the knife in the SVM-00 Small Knife Holder
    • Mount the knife in the holder whilst lying flat on a table edge
      knife Mounting
    • Press the Guide Bar and the knife blade against the table. Lock the knife with the Knob.
      knife Mounting
    • Check that the knife blade is in line with the Guide Bar
      knife Mounting
    • The shape of the knife handle determines how far into the holder the knife needs to be mounted. Make sure it is secured.
      knife Mounting
      knife Mounting
  2. Mount the knife in the SVM-45 Knife Jig
    • Check that the Knob is loose.
      knife Mounting
    • Mount the Guide Bar in the jig with the small adjustment screw.
      knife Mounting
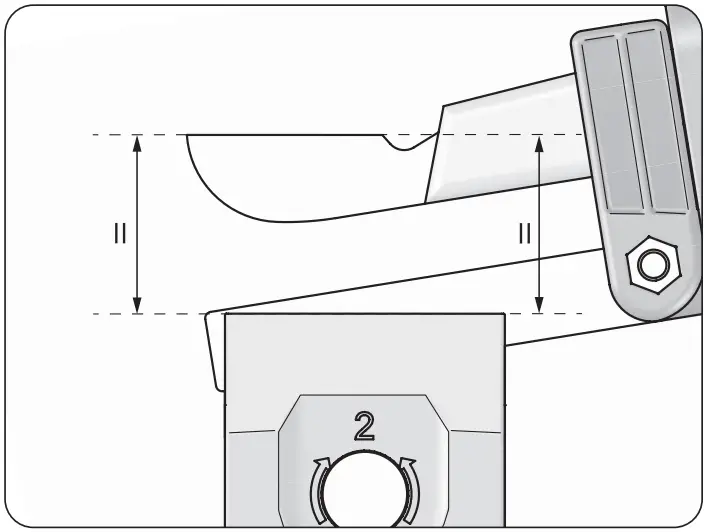
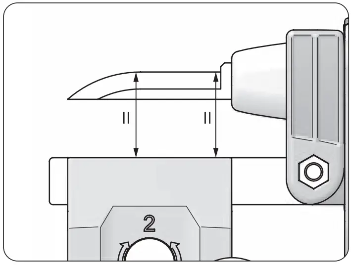
    • Check that the knife edge is parallel to the SVM-45. Tighten the large black knob
    • Wrong. The edge of the knife is not parallel to SVM-45
      knife Mounting
    • Right. The edge of the knife is parallel to SVM-45.
      knife Mounting

Sharpen away from or towards the edge? 

Sharpen towards the edge
The Universal Support is normally mounted vertically for sharpening towards the edge. This will give you a more effective grind and you will get less burr to remove when honing. For folding knives (which cannot be locked) you should work in this position to prevent the knife blade from closing during the sharpening.
Knife Using Instruction
Important!
Apply a bit of pressure onto the stop so that it is always resting firmly against the Universal Support. In this way you will get an even edge and will not risk that the knife cuts into the grinding wheel.
Knife Using Instruction
Sharpen away from the edge
You can also sharpen away from the edge with the Universal Support mounted horizontally. If your machine is placed on a bench over 700 mm high (27½”) this will give a better working position. Some prefer this position since the knife cannot cut into the grinding wheel. It can also be advantageous if for some knives you want to have a slower grind.
Knife Using Instruction
Sharpening and honing
Set the edge angle and sharpen in the same way as the SVM-45 Knife Jig, see the Handbook. After sharpening, hone away the burr and polish the bevel on the honing wheel. The SVM-45 instruction is also available to download from www.tormek.com.

Note Some knives are difficult to mount in line with the Guide Bar. Knives can also be sharpened with asymmetrical bevels. In these cases, and if the angle is not correct when you turn over to sharpen the second side, you can adjust it separately with the Micro Adjust.
Knife Using Instruction

PATENT
To see all patents visit
tormek.com/patents

Leave a Comment