
Assembly Instruction Sheet

Product installation instructions
Please read this manual before installation. Please keep it for reference
Contents
3008-2WA Duo 14 Inch 2-Light Indoor Matte Black and Matte Gold Wall Sconce
3008/2WA
3008/2WB


WIRE CONNECTION DIAGRAM
Wires meet satety standards are recommended to connect the supply circuit
CAUTION: Risk of fire

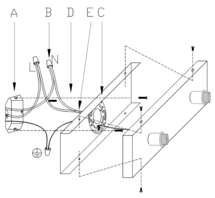
CANPY INSTALLATION INSTRUCTIONS
Please read all instructions carefully before you proceed to install make sure that the power supply is tuned off and remains off until installation is complete please not that each part has been assigned aletter please proceed in an alphabetical order .
A. Existing Elextrical box B. junction caps C. crossbar
D. crossbar screws E. wire attach the crossbar(B)to the existing electrical box(A) using the two crossbar screws(D)which are not supplied and should already in your box
pass the main wire(E)and ground wire(
) through the crossbar(C)until the end of the main wire(E)reaches the electrical box(A) where you can wire use electrician connections, Be sure when connecting the wire use electrician approved junction caps(B),stow the excess wire in the electrical box(A).raise the canopy. attach canopy to ceiling, and hold the canopy.

RELATED TO INSTALLATION
- To ensure the success of the installation, be sure to read these instructions carefully before beginning.
- Before installations, prepare the required tools, such as Blade screwdriver, Adjustable wrench, step ladder, wire cutter.
- All electrical connections must be in accordance with the National Electrical Code. Qualified licensed electricians are required to conduct the installation of electrical wiring.
- The outlet box that is connected to the lighting must be directly supported by the building structure.
- Before starting the installation, disconnect the power to prevent electrical shock.
NOTE: The important safeguards and installations appearing in this manual are not meant to cover all possible conditions and situations that may occur. if must be understood that common sense, caution, and care are factors which can not be built into any product. There factors must be applied by the person(S) caring for and operating the fixture.
CAUTION
- Rated 110-130V/60HZ,bulb 40W-60W maximum.
- Care should be taken to avoid damage to the surface of lighting and white, wearing gloves are recommended when installing.
- Keep lighting away from acom acid, alkali, and other corrosive chemical or gas, clean the lighting with clean soft cloth only.
- Installation must be carried out by qualified electrician only.
- Disconnect the power before installing, cleaning, and replacing lighting.
- Never cover the lighting when power is connected.
INSTRUCTIONS
- Take out all lamp parts. The picture below shows the exact items that you receive in this product. Please note that this picture may look different from the computer generate part table. The parts in the part table are not assembled but some parts in this part picture are assembied, so there may be fewer items in the picture than in the table.
- Part Table
Please note: The parts in this table are completely unassembled, for illustrative purpose. in the actual product that you receive, some parts are assembled, and attached together.
3008/2WA
3008/2WB

Using the following tools :
