The Grace Company Quilter’s Evolution Hoop Frame

Contents
Parts of the Frame

Left Side Right Side
Starting a New Project?
- Ensure your frame is level.
- Measure your quilt top.
- Make your quilt sandwich (see below).
- Check your rail height.
- Wipe down the tracks on the frame and bottom carriage with a lint-free cloth.
- Wipe down the bottom carriage wheels and your quilting machine or top plate wheels.
- Attach your fabric to the frame (see Loading Frame on reverse side).
- Tack down your quilt at the edge of the quilt top.
- Tack down test fabric to the side of your quilt (see frame instructions for details).
- Test stitch tension in test fabric.
Quilt Dimensions (Hoop Setup)

Recommended sizing:
Backing: 10” larger than the quilt-top, or 22”–whichever is larger.
Batting: Same size as backing.
Note: If using rolling setup, see directions for alternative sizing.
Record the measurements of your quilt here in wet-erase marker:
Top: _____ x _____
Batting: _____ x _____
Backing: _____ x _____
Loading Fabric (Hoop Setup)
- Build your quilt sandwich:
a. Place the backing right-side down.
b. Place the batting on top of the backing, scrim (smooth) side down.
c. Center quilt top over the batting, right-side facing up.

- Place your quilt onto the frame and position it so the top-left corner of your quilt-top is under the hopping foot.

- While keeping the quilt free of wrinkles, install the fabric clamps on the rails.

- If needed, use the fabric bungees to tension and hold the side of your quilt.
- Secure the fabric roll from the throat of the machine into the take-up rail clamps.
- Starting from the bottom left corner of the quilt-top, tack down the left and top edge of the quilt.
Moving Fabric (Hoop Setup)
When you’re finished with the available quilting space, it’s time to move the quilt to the next zone.
- Remove the clamps, and bungees.
- Move the quilt so the next quilting zone is within the reach of the sewing machine.
- Secure the quilt with the clamps and bungees if needed.
|
Zone A |
Zone B |
Zone C |
| Zone D | Zone E |
Zone F |
|
Zone G |
Zone H | Zone I |
| Zone J | Zone K |
Zone L |
Leveling Frame
If you notice an area of pulling or tugging where the machine hits a low spot in the frame, adjust the height of the leveling feet to smooth it out.
- Loosen the top nut on the leveling foot with the 17 mm open-end wrench.

- Adjust the bottom nut with the 14 mm open-end wrench until the desired height is set.

• To Lower: Turn counterclockwise.
• To Raise: Turn clockwise. - Tighten the top nut with the 17 mm open-end wrench until it is firm against the frame leg to prevent the height from slipping over time.

Tips & Tricks

Use leftover fabric from your quilt top and make a small practice quilt.
After every bobbin change, pop the practice quilt onto the frame and set your stitch tension before stitching into your work in progress.
You can also practice stitching out patterns this way

Install the bungees so the teeth bite directly into fabric, not batting. This maintains fabric tension better, and avoids damage to the batting.
To convert between the rolling and hoop setups, use a 2.5 mm Allen wrench to swap rail caps.

Attach or remove the hand wheel with a 6 mm Allen wrench.

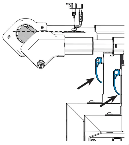
Rail Adjustment
Take-Up Rail: 1. Loosen knobs and open levers. 2. Set rail 1/4” above machine bed. 3. Close knobs, tighten levers.
Hoop: 1. Adjust take-up rail height first. 2. Loosen set screws with 4 mm Allen wrench.

3. Loosen levers. Set so top of front rail is level with needle plate. 4. Re-tighten the set screws, close levers.

Tacking Down Fabric
When you move to a new zone in your quilt, tack down the edges of the quilt top about a quarter inch from the batting and backing.

Channel Lock Use
Close the machine channel lock to stitch a straight horizontal line.

Close the carriage channel lock to stitch a straight vertical line.

Tip: If you won’t be quilting for the next couple of days, release your fabric clamps to avoid stretching out your fabric.

