Contents
TEKNIX SCS64GX Built In Gas Oven

Precautions for Use
PRECAUTIONS FOR USE
THIS MANUAL IS AN INTEGRAL PART OF THE APPLIANCE. TAKE GOOD CARE OF IT AND KEEP IT TO HAND THROUGHOUT THE OVEN’S LIFE CYCLE. WE URGE YOU TO READ THIS MANUAL AND ALL THE INFORMATION IT CONTAINS CAREFULLY BEFORE USING THE APPLIANCE. ALSO, KEEP THE SET OF NOZZLES PROVIDED IN A SAFE PLACE. INSTALLATION MUST BE CARRIED OUT BY QUALIFIED STAFF IN COMPLIANCE WITH THE RELEVANT REGULATIONS. THIS APPLIANCE IS INTENDED FOR HOUSEHOLD USE AND COMPLIES WITH THE EEC DIRECTIVES CURRENTLY IN FORCE. THE APPLIANCE IS BUILT TO PROVIDE THE FOLLOWING FUNCTION: COOKING AND HEATING FOODS; ALL OTHER USES ARE CONSIDERED TO BE IMPROPER. THE MANUFACTURER DECLINES ALL LIABILITY FOR USES OTHER THAN THOSE STATED ABOVE. NEVER USE THIS APPLIANCE FOR HEATING ROOMS. NEVER USE PACKAGING RESIDUES UNATTENDED IN THE HOME. SEPARATE THE VARIOUS PACKAGING MATERIALS BY TYPE AND CONSIGN TO THE NEAREST SEPARATE DISPOSAL CENTRE.
Meaning of crossed-out wheeled dustbin:
Do not dispose of electrical appliances as unsorted municipal waste, use separate collection facilities. Contact your local government for information regarding the collection systems available. If electrical appliances are disposed of in landfills or dumbs, hazardous substances can leak into the groundwater and get into the food chain, damaging your health and well-being. When replacing old appliances with new ones, the retailer is legally obligated to take back your old appliance for disposal at least free of charge. NEVER OBSTRUCT THE OPENINGS AND SLITS PROVIDED FOR VENTIL ATION AND HEAT DISPERSAL. THE NAMEPLATE MUST NEVER BE REMOVED. NEVER USE METAL SCOURING PADS OR SHARP SCRAPERS; THEY WILL DAMAGE SURFACES. USE ORDINARY NON-ABRASIVE PRODUCTS WITH THE AID OF WOODEN OR PLASTIC UTENSILS IF NECESSARY. RINSE THOROUGHLY AND DRY WITH A SOFT CLOTH OR CHAMOIS LEATHER. DO NOT ALLOW SPILLS OF FOODS WITH HIGH SUGAR CONTENT (E.G.JAM) TO DRY INSIDE THE OVEN. IF THEY DRY FOR TOO LONG, THEY MIGHT DAMAGE THE ENAMEL COATING INSIDE OF THE OVEN. The manufacturer declines all responsibility for injury or damage caused by failure to comply with the above regulations or deriving from tampering with even just one part of the appliance and the use of non-original spare parts.
The environment – Disposal instructions – OUR ENVIRONMENT POLICY
Our products are only packaged using non-pollutant, environment-friendly, recyclable materials. We urge you to cooperate by disposing of the packaging properly. Contact your local dealer or the competent local organizations for the addresses of collection, recycling, and disposal facilities. Never leave all or part of the packaging lying around. Packaging parts, especially plastic bags, may represent a suffocation hazard for children. Your old appliance must also be disposed of properly.
Important: deliver the appliance to your local organization authorized to collect scrapped appliances. Proper disposal allows the intelligent recovery of valuable materials. Before scrapping your appliance it is important to remove doors and leave shelves in position for use, to ensure that children cannot accidentally become trapped inside the oven during play. Also, cut the power supply lead and remove it and the plug.
Safety Precautions
SAFETY PRECAUTIONS
SEE INSTALLATION INSTRUCTIONS FOR SAFETY REGULATIONS FOR ELECTRIC OR GAS APPLIANCES AND FOR VENTILATION FUNCTIONS. IN YOUR INTEREST AND TO ENSURE YOUR SAFETY, BY LAW ALL ELECTRIC APPLIANCES MUST ONLY BE INSTALLED AND SERVICED BY QUALIFIED STAFF, IN ACCORDANCE WITH THE RELEVANT REGULATIONS. OUR APPROVED INSTALLATION ENGINEERS GUARANTEE YOU A JOB WELL DONE. GAS OR ELECTRIC APPLIANCES MUST ALWAYS BE DISCONNECTED BY SUITABLY SKILLED PEOPLE. THE PLUG TO BE CONNECTED TO THE POWER SUPPLY LEAD AND THE RELATIVE SOCKET MUST BE OF THE SAME TYPE AND COMPLY WITH THE RELEVANT REGULATIONS. THE POWER SUPPLY SOCKET MUST BE ACCESSIBLE EVEN AFTER THE APPLIANCE HAS BEEN BUILT-IN. NEVER DISCONNECT THE PLUG BY PULLING ON THE POWER SUPPLY LEAD. THE APPLIANCE MUST BE CONNECTED TO EARTH IN COMPLIANCE WITH ELECTRICAL SYSTEM SAFETY REGULATIONS. IMMEDIATELY AFTER INSTALLATION, CARRY OUT A QUICK TEST ON THE APPLIANCE FOLLOWING THE INSTRUCTIONS PROVIDED LATER IN THIS MANUAL. IF THE APPLIANCE FAILS TO OPERATE, DISCONNECT IT FROM THE ELECTRICAL MAINS AND CONTACT YOUR NEAREST SERVICE CENTRE. NEVER ATTEMPT TO REPAIR THE APPLIANCE.
NEVER PLACE FLAMMABLE OBJECTS IN THE OVEN: IF IT SHOULD ACCIDENTALLY BE SWITCHED ON, THIS MIGHT CAUSE A FIRE. THE APPLIANCE BECOMES VERY HOT DURING USE. TAKE CARE NEVER TO TOUCH THE HEATING ELEMENTS INSIDE THE OVEN. THE APPLIANCE IS INTENDED FOR USE BY ADULTS. KEEP CHILDREN AT A SAFE DISTANCE AND NEVER ALLOW THEM TO PLAY WITH IT. WHEN THE GRILL IS IN OPERATION, ACCESSIBLE PARTS MAY BECOME VERY HOT: KEEP CHILDREN AT A SAFE DISTANCE. BEFORE THE APPLIANCE IS PUT INTO OPERATION, ALL THE LABELS AND PROTECTIVE FILMS APPLIED INSIDE OR OUTSIDE MUST BE REMOVED. AFTER EACH USE, ALWAYS CHECK THAT THE CONTROL KNOBS ARE TURNED TO 0(OFF). The manufacturer declines all responsibility for injury or damage caused by failure to comply with the above regulations or deriving from tampering with even just one part of the appliance and the use of non-original spare parts.
Instructions for the Installer
INSTALLING THE APPLIANCE
Installation must be carried out by a qualified engineer in compliance with the relevant regulations.
Electrical connection
The nameplate must never be removed. The appliance must be connected to earth in compliance with electrical system safety regulations. If a permanent connection is used, the appliance’s power supply line must be fitted with an omni-polar breaking device with a contact gap of at least 3 mm, located in an easily accessible position close to the appliance itself. If a socket and plug connection is used, check that they are of the same type. Do not use reducers, adapters, or junctions since they may cause overheating or burns. Operation at 220-240 V~: use a type H05RR-F three-wire cable (Cable of 3 x 1.5 mm²).
The earth wire (yellow-green) must be at least 20 mm longer than
the other wires at the end for connection to the appliance.
The manufacturer declines all responsibility for injury or damage caused by failure to comply with the
above regulations or deriving from tampering with even just one part of the appliance.
Positioning the oven
Only a qualified person in compliance with the instructions provided install the appliance. The manufacturer declines all responsibility for improper installation, which may harm persons and animals and damage property. Important: – The power supply to the appliance must be cut off before any adjustments or maintenance work is done on it;
- Air duct is supposed to use in Ventilation;
- cabinets with a veneer exterior must be assembled with glues which can withstand temperatures of up to 100℃.
Installation of Built-in Ovens
In order to ensure that the built-in appliance functions properly, the cabinet containing it must be appropriate. The appliance is designed for built-in installation (class 3) in cabinets of any heat-resistant material. Comply with the dimensions shown in figures 1, 2 and 3. when installing under worktops, comply with the dimensions shown in figure 1-3. when installing under worktops incorporating hobs, a gap of at least 110 mm must be left from any side wall, as shown in figure 1 . when installing in tall units , comply with the dimensions shown in figure 1-2 , bearing in mind that the top/rear of the unit must have an opening 45mm deep. Screw the 4 screws A into the inside of the frame (fig.1) .For installation under tops, make sure that the rear/bottom of the unit has an opening similar to that shown in figure 1 (B),and that the front/bottom of the unit has an opening an aperture of at least 45×560mm similar to that shown in figure 1-3 (C) ,or the aperture similar to window shade, make sure that aperture area of at least 45×560mm. see the instructions supplied with the hob for the relative positioning and fixing procedures. In compliance with current safety standards, contact with the electrical parts of the oven must not be possible once it has been installed. All parts, which ensure the safe operation of the appliance, must be removable only with the aid of a tool.
Never use the door for leverage when inserting the oven in the cabinet. Never apply excessive pressure to the open door.
Room ventilation
The appliance may only be installed in a permanently ventilated room as specified by the relevant regulations. The air flow into the room where the appliance is installed must be sufficient for proper gas combustion and room ventilation. The air intakes, protected by gratings, must be of suitable size (see relevant regulations) and located so that they cannot be even partially obstructed. The kitchen must be kept properly ventilated to disperse the heat and humidity produced by cooking processes: in particular, a window should be opened or the speed of any fans increased after prolonged use.
Combustion gas discharge
Combustion gases must be discharged by means of hoods connected to a flue with reliable natural draught, or a fan extraction system. An effective extraction system requires careful design by an authorized specialist, and must comply with the regulation distances and positions. After installation, the engineer must issue a certificate of compliance.
Gas connection
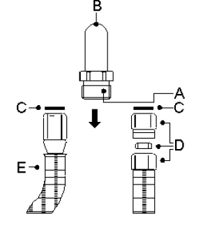
Connection with copper pipe: The connection to the gas supply mains must be made so that no stresses or strains of any kind are applied to the appliance. The connection can be made using the adapter unit D with two conical elements, always fitting the gasket C supplied.
Connection with steel hose: Use only continuous-wall stainless steel hoses compliant with the relevant regulations, and always fit the gasket C supplied between the fitting A and the hose E .
When connecting with a hose, ensure that the total length of the pipeline is not more than 2 metres;also Ensure that the hoses do not touch moving parts and are not crushed.
ADAPTING TO DIFFERENT TYPES OF GAS
Before carrying out the operations described below, disconnect the appliance from the electricity supply.
The appliance is tested with G20 (2H) natural gas at the pressure of 20 mbar. If it is to be used with other types of gas, the burner nozzle has to be changed and the gas valve adjusted. To replace the nozzle, proceed as described below.
Adjusting the oven burner
- To adjust the oven burner, open the oven door and proceed as follows:
- Remove all accessories (pans, shelves and any steel runners);
- Lift the oven bottom plate and extract it so that the inside of the oven is as shown in the picture.

Adjusting the minimum setting
- The oven thermostat has a screw for regulating the minimum setting, accessed by removing the thermostat knob. When the type of gas used changes, the minimum setting must be adjusted as follows:
- Light the oven burner and keep it operating at the highest setting for 10/15 minutes with the door closed.
- Then turn the knob to the minimum temperature setting, remove the knob and use a straight-head screwdriver to adjust. Firstly, turn the knob in clockwise direction tightly then anticlockwise to adjust the flame. For natural gas you should turn one of a circle while 1/8 circle for LPG.
- When using bottled gas, the adjuster screw must be turned fully clockwise. The diameter of the by-pass is stated in point“5.2 Burner and Nozzle Data Tables”.
- When using town or natural gas, adjust the screw so that when the thermostat knob is turned from the maximum to the minimum setting, the flame always remains stable and uniform. Close the oven door and check that the burner remains on at the minimum setting.
Changing the nozzle
- Undo the oven burner fixing screws A.
- Move the burner B outwards until the nozzle is accessible.
- Use a 7 socket wrench to change the nozzle, fitting the one for the type of gas to be used (see point“5.2 Burner and Nozzle Data Tables”).

Adjusting the oven burner primary air flow
- Undo the adjuster screw“A”of the air regulator sleeve;
- Turn the regulator sleeve“B”into the position for the type of gas to be used, consulting the table below;
- Tighten the adjuster screw and restore the seals;
- When the operation is complete, reassemble the burner correctly.
NATURAL GAS (N)/G30/G31 (LPG)
- Top Gas X= 3mm 3mm
- Bottom Gas X= 3mm 5mm
When the operation is complete, replace the nameplate on the back of the oven with the one provided for the new type of gas.
In compliance with current safety standards, adapting to different types of gas must be has gas lore of professional can but operation
Burner and Nozzle Data Table
| GAS CATEGORY: | I3+(28-30/37) | I3B/P(30) | I3B/P(37) | I3B/P(50) | ||
| TYPES OF GAS: | □G30 | □G31 | □G30 | □G30 | □G30 | |
| GAS PRESSURE(mbar): | 29 | 37 | 29 | 37 | 50 | |
| HEAT INPUT(Hs) | Top burner: 1.7kW(124g/h) Bottom burner: 2.5kW(182g/h) | Top burner: 1.7kW(124g/h) Bottom burner:
2.5kW(182g/h) |
Top burner: 1.7kW(124g/h) Bottom burner: 2.5kW(182g/h) | Top burner: 1.5kW(109g/h) Bottom burner: 2.5kW(182g/h) | ||
| INJECTOR SIZE | Top :0.65mm
Bottom :0.77m m |
Top :0.65mm
Bottom :0.77m m |
Top :0.65mm
Bottom :0.71m m |
Top :0.50mm
Bottom :0.65m m |
||
| GAS CATEGORY: | I2H | I2E | I2E+ | I2L | ||
| TYPES OF GAS: | □G20 | □G20 | □G20 | □G25 | □G25 | |
| GAS PRESSURE(mbar): | 20 mbar | 20 mbar | 20 | 25 | 25 | |
| HEAT: INPUT(Hs) | Top burner:1.5kW Bottom
burner:2.6kW |
Top burner:1.5kW Bottom
burner:2.6kW |
Top burner:1.5kW Bottom
burner:2.6kW |
Top burner:1.5kW Bottom
burner:2.6kW |
||
| INJECTOR SIZE | Top :0.93mm Bottom :1.18m
m |
Top :0.93mm Bottom :1.18m
m |
Top :0.93mm Bottom :1.18m
m |
Top :0.93mm Bottom :1.18m
m |
||
| VOLTAGE / FREQUENCY:AC220-240V/50-60Hz
ELECTRIC POWER:1.8kW |
||||||
| I3+(28-30/37) | I3B/P(30) | I3B/P(37) | I3B/P(50) | I2H | I2E | I2E+ | I2L | |
| Ⅱ2H3B/P | ✔ | ✔ | ||||||
| Ⅱ2H3+ | ✔ | ✔ | ||||||
| Ⅱ2E+3+ | ✔ | ✔ |
|
Burner |
Rated heat capacity
(kW) |
BOTTLED GAS – G30/G31 28/37 mbar |
|||||
| Nozzle
diameter 1/100 mm |
By-pass 1/100
mm |
Reduced
heat capacity (W) |
Flow-rate g/h G30 | Flow-rate g/h G31 | |||
| Oven | 2.5 | 77 | 41 | 700 | 189 | 186 | |
|
Burner |
Rated heat capacity
(kW) |
NATURAL GAS – G20 20 mbar |
|||||
| Nozzle diameter 1/100mm | Reduced heat capacity (W) | ||||||
| Oven | 2.6 | 118 | 700 | ||||
DESCRIPTION OF FRONT PANEL CONTROLS
All the cooker’s control and monitoring devices are placed together on the front panel. The table below provides the key to the symbols used.
THERMOSTAT KNOB
The oven cooking temperature is set by turning the knob anti- clockwise to the value required, between Min. and Max.
TIMER KNOB
To use the timer, set the buzzer by turning the knob clockwise. The numbers correspond to minutes (maximum 120 minutes). Setting is on a gradual scale and intermediate positions between the numbers can be used. The end of cooking buzzer does not turn off the oven.
OVEN LIGHT KNOB
The BULB setting turns on the light inside the oven during normal operation
USING THE OVEN
Precautions and General Advice
When the oven and grill are used for the first time, they should be heated to the maximum temperature for long enough to burn off any oily residues left by the manufacturing process, which might contaminate foods with unpleasant smells. To avoid unpleasant contact with any steam inside the oven, open the door in two stages: hold it open just a little (about 5 cm) for 4-5 seconds, then open it completely. If you have to check or carry out other procedures on food during cooking, leave the door open for a short time to prevent a drop in the oven temperature which will impair the cooking results.
Cooling fan system (on some models only)
The appliance is equipped with a cooling system which comes into operation a few minutes after the oven is lit. Operation of the fan generates a normal air flow which comes out above the door and may continue for a short time even after the oven is turned off.
Using the gas oven
Electronic spark ignition
Completely open the oven door and press the thermostat knob while turning it anti-clockwise to the maximum temperature setting; this automatically activates the electric spark ignition device. Once the burner has ignited, keep the knob pressed down for a few seconds to allow the thermocouple to heat up. If the burner has not lit after 15 seconds, stop trying, leave the oven door open and wait 1 minute before trying again.
Lighting the burner by hand
Completely open the oven door and turn the thermostat knob Anti-clockwise. Place a lit match close to the end of the flame pipe A in the centre of the bottom of the oven and press the thermostat knob. Once the burner has ignited, keep the knob pressed down for a few seconds to allow the thermocouple to heat up and check that the burner has lit properly through the inspection hole B. The cooking temperature is set by turning the knob clockwise to the value required, between 50°and 231°. If the burner accidentally goes out, turn the knob to the off (
) position and wait at least one minute before trying to relight it.
Using the grill
To turn on the gas grill function, turn the gas oven thermostat knob to
the position.
- Grilling processes must never last more than 60 minutes.
- IMPORTANT: Grill and grill + rotisserie cooking operations must be carried out with the door closed.
- Accessible parts may be very hot during and after use of the grill; keep children well away from the appliance.
- When using the oven, remove all unused pans and shelves from its interior.
- During cooking, do not cover the bottom of the oven with aluminum or tin foil, and do not place pans or trays on it; this may damage the enamel coating .
- If you wish to use greaseproof paper, position it so that it does not interfere with the hot air circulation inside the oven.
CLEANING AND MAINTENANCE
Before carrying out any operations, disconnect the appliance from the electricity supply. Never use a jet of steam for cleaning the inside of the oven.
Cleaning stainless steel
To keep stainless steel in good condition, it must be cleaned regularly, after each time the cooker is used, after leaving it to cool down.
Routine daily cleaning
When cleaning and caring for stainless steel surfaces, always use only specific products which do not contain abrasives or chlorine-based acids. Instructions for use: pour the product onto a damp cloth and wipe over the surface, then rinse thoroughly and dry with a soft cloth or chamois leather.
Food stains or spills
Never use metal scouring pads or sharp scrapers; they will damage surfaces. Use ordinary non-abrasive products with the aid of wooden or plastic utensils if necessary. Rinse thoroughly and dry with a soft cloth or chamois leather. Do not allow spills of foods with high sugar content (e.g. jam) to dry inside the oven. if they dry for too long, they might damage the enamel coating inside of the oven.
Cleaning the oven
To keep the oven in good condition, it must be cleaned regularly, after allowing it to cool down. Remove all removable parts. Clean the oven shelves with hot water and non-abrasive detergents rinse and dry.
Cleaning the door glazing
The glass in the door should always be kept thoroughly clean. Use absorbent kitchen roll; remove stubborn dirt with a damp sponge and ordinary detergent.
EXTRAORDINARY MAINTENANCE
Occasionally, the oven will require minor servicing procedures or the replacement of parts subject to wear and tear, such as gaskets, light bulbs, etc. The specific instructions for each procedure of this kind are provided below. Before carrying out any operation involving access to live parts, disconnect the appliance from the electricity supply.
Replacing the Oven Lamp
- Disconnect the oven from the power supply by means of the omnipolar switch used to connect the appliance to the electrical mains ;or unplug the appliance if the plug is accessible ;
- Remove the glass cover of the lamp-holder ;
- Remove the lamp and replace with a lamp resistant to high temperatures (300℃)with the following characteristics:
- Voltage: 220-240V
- Wattage: 25W
- Type: E 14

- Replace the glass cover and reconnect the oven to the mains power supply .
Removing doors
For a more thorough clean, you can remove the oven door. Choose the remove and assemble method. Proceed as follows: Oven door structures 1 remove and assemble procedure:
- Open the door to the full extent(fig.1);
- Open the lever A completely on the left and right hinges(fig.2);
- Hold the door as shown in fig.3
- Gently close the door(fig.3)until left and right hinge levers A are hooked to part B of the door(fig.4).
- Withdraw the hinge hooks from their location following arrow C(fig.4);
- Rest the door on a soft surface;
- To replace the door, repeat the above steps in reverse order.

Removing the gaskets
To allow thorough cleaning of the oven, the door gasket can be removed. Before removing the gasket, remove the oven door as described above. Once the door has been removed, lift the tangs at the corners as shown in the figure.
TECHNICAL SPECIFICATIONS
- Inner dimensions of the oven:
- Width 43.5cm
- Depth 40cm
- Height 32cm
- Inner Volume of the oven 43 litres
- Voltage and Frequency of Power Supply: 220-240V ~50/60Hz or 50Hz
WARRANTY CARD
- PLEASE CHECK APPLIANCE IS WORKING THOROUGHLY AND IS NOT
- DAMAGED BEFORE USAGE
- IF THERE ARE ANY PROBLEMS WITH THE APPLIANCE OR YOU HAVE ANY
- CONCERNS
- PLEASE CONTACT THE TEKNIX SERVICE DEPARTMENT ON 01759 487823
- YOUR TEKNIX APPLIANCE COMES WITH A 2-YEAR PARTS AND
- LABOUR GUARANTEE
- PLEASE REGISTER YOUR APPLIANCE ONLINE AT
- www.teknixwarranty.co.uk.
- YOU ALSO HAVE THE OPTION TO EXTEND YOUR WARRANTY TO 5 YEARS
- PARTS AND LABOUR
- PLEASE CALL 01759 487823
We, Teknix, undertake that if within 24 months of the date of purchase this appliance or any part thereof is proven to be defective by reason of mechanical or electrical failure we will at our discretion repair or replace the same free of any charge for labour, materials or carage on condition that:
- The appliance has been correctly installed in accordance to manufacturers’ instructions.
- The appliance has been used for normal domestic purposes only and in accordance with our operating instructions.
- The appliance has not been repaired, taken apart or tampered with by any person not authorised by us.
- All repair work under this guarantee must be undertaken by the organisation or its authorised agents
- Proof of purchase is available on request
- If we decide your appliance cannot be repaired, or is uneconomical to repair, we’ll replace it with the same model. If that model is no
- longer available, we’ll discuss an alternative settlement with you.
- We reserve the right to charge for the expense of a service call if no fault has been found with the appliance after we have inspected it.
- All claims must be arranged via a call to us on 01759 487893. Without pre-authorisation it may result in the cost of claim not being reimbursed
- This guarantee is in addition to your statutory and other legal rights
Exclusions
- Damage resulting from transportation, improper use, or neglect.
- Appliance outside the United Kingdom.
- Consumer replaceable items including, but not limited to, batteries, light bulbs and other consumables.
- Cosmetic damage and/or non-functional parts, which do not affect the normal use of the product including for example cabinet, scratches and rust.
- Any loss suffered as a result of not being able to use the appliance or any loss other than the repair or the replacement cost of the product.
- Accidental or physical damage
Thank you for choosing our product. We advise you to read this manual carefully. It contains all necessary instructions for maintaining unaltered the appearance and functional qualities of the appliance.
