Contents
Sunnydaze DECOR QX-4LR-4LRC 4 Foot Black Powder Coated Heavy-Duty Steel Outdoor Log Rack
Product Information: 4-Foot Log Rack with Cover
The 4-Foot Log Rack with Cover (QX-4LR-4LRC) is a sturdy and durable storage solution for firewood. The log rack is made up of end panels, rails, braces, bolts, lock nuts, washers, spanners, and a cover. It comes with assembly instructions and care instructions for proper usage and maintenance. The log rack is designed to keep firewood off the ground and dry, making it easier to start fires and ensuring the longevity of the wood. The cover protects the firewood from rain, snow, and other outdoor elements.
Product Usage Instructions
- Read the assembly instructions carefully and follow the care instructions for proper usage and maintenance.
- Inspect the packaging to ensure all parts are accounted for before disposing of packing materials.
- Assemble the components on a soft, clean surface to avoid scratching or damaging the finish.
- Keep children and pets away during assembly as the product contains small parts that can be swallowed.
- Review all information and understand assembly before beginning.
- When installing a lock nut, make sure the raised center portion faces outward and hand-tighten until you feel resistance, which is caused by the nylon insert.
- After all components have been loosely assembled, use the included spanners to tighten the lock nuts.
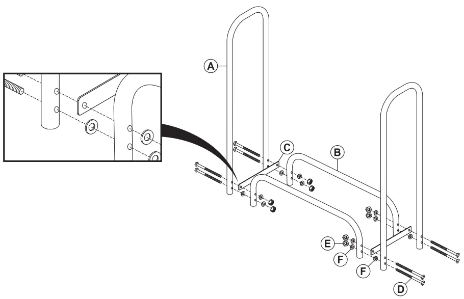
- Place two M6x75mm Bolts (D) through the mounting holes on one side of Side Panel (A). Then, slide one Washer (F) onto the bottom bolt, and Brace (C) onto the top bolt.
- Align Rail (B) with the bolts. Place one washer onto each bolt. Hand-tighten one Lock Nut (E) onto each bolt.
- Repeat this process until all components have been loosely attached.
- Tighten all hardware using included Spanners (G).
- Any modification to the product or failure to follow recommended care will void the product warranty.
- Manufacturer and seller expressly disclaim any and all liability from personal injury, property damage or loss, whether direct or indirect, or incidental, resulting from the incorrect attachment, improper use, inadequate maintenance, or neglect of this product.
PARTS LIST
Inspect packaging to ensure all parts are accounted for before disposing of packing materials.

WARNING
- CHOKING HAZARD — This item contains small parts that can be swallowed. Keep children and pets away during assembly.
- Manufacturer and seller expressly disclaim any and all liability from personal injury, property damage or loss, whether direct or indirect, or incidental, resulting from the incorrect attachment, improper use, inadequate maintenance, or neglect of this product.
ASSEMBLY
Review all information and understand assembly before beginning.
HELPFUL HINT: When installing a lock nut, make sure the raised center portion faces outward; the flat surface goes on first. Hand-tighten until you feel resistance, which is caused by the nylon insert. After all components have been loosely assembled, use the included spanners to tighten the lock nuts.
- Place two M6x75mm Bolts (D) through the mounting holes on one side of Side Panel (A). Then, slide one Washer (F) onto the bottom bolt, and Brace (C) onto the top bolt.
- Align Rail (B) with the bolts. Place one washer onto each bolt. Hand-tighten one Lock Nut (E) onto each bolt.
- Repeat this process until all components have been loosely attached.
- Tighten all hardware using included Spanners (G).

TIP: To tighten the hardware more quickly, turn the spanner on the bolt head clockwise while simultaneously turning the spanner on the lock nut counterclockwise.
SAFETY STATEMENTS & WARNINGS
- Place log rack on a hard, dry surface.
- Do not overload the log rack — holds up to 1/2 face-cord of firewood.
- Ensure fittings are tight before use. Periodically check and tighten hardware as necessary.
- Protect the unit from outdoor elements with the included cover.
- Do not allow children to play with or around the log rack.
Any modification to the product or failure to follow recommended care will void the product warranty.
WARNING: Manufacturer and seller expressly disclaim any and all liability from personal injury, property damage or loss, whether direct or indirect, or incidental, resulting from the incorrect attachment, improper use, inadequate maintenance, or neglect of this product.
Thank you for choosing Sunnydaze Decor. We stand behind our brand and the quality of the items we sell. Replacement parts or products will be sent at our discretion within the 1-year warranty period. Proof of purchase, with the date of purchase as well as photos of the merchandise defect, must be provided. Photos are used to determine the cause of defects and for future quality control. Register your warranty at https://tiny.cc/SunnydazeWarranty If you have any questions, comments or concerns, feel free to contact us by phone at 833-982-1977, by email: [email protected], or via our contact us page at https://tiny.cc/SunnydazeContact

