STAIRVILLE 497678 TinyBright IP Q15 LED Floodlight User Manual

Home » STAIRVILLE » STAIRVILLE 497678 TinyBright IP Q15 LED Floodlight User Manual

STAIRVILLE-logo

STAIRVILLE 497678 TinyBright IP Q15 LED Floodlight

STAIRVILLE-497678-TinyBright-IP-Q15-LED-Floodlight-product

Product Information

Specifications

  • Product Name: TinyBright IP Q15 LED Floodlight
  • Date: 22.11.2023
  • ID: 497678 (V4)

General Information

The TinyBright IP Q15 LED Floodlight is a professional electronic lighting effect that utilizes LED technology. It is not suitable for household use and should only be used as described in the user manual to avoid personal injury or property damage.

Safety Instructions

Intended Use
The device is intended for use by individuals with sufficient physical, sensorial, and intellectual abilities, as well as knowledge and experience. Other individuals may use the device under supervision or instruction from a responsible person.

Operating Life
To extend the operating life of the device, it is recommended to take regular breaks and avoid frequent switching on and off. The device is not suitable for continuous operation.

Warnings

  • Risk of Injury and Choking Hazard for Children
    Children may be at risk of injury or choking hazards when using this device. Keep it out of their reach.
  • Danger to Life Due to Electric Current
    There are areas within the device where high voltages may be present. Never remove any covers, and do not use the device if covers, safety equipment, or optical components are missing or damaged. Seek advice from a qualified electrician in case of isolation damage.
  • Risk of Eye Damage Caused by High Light Intensity
    The device generates highly intense light radiation. Looking directly into the light source can damage the eyes. Never look directly into the light source.

Product Usage Instructions

Step 1: Installation
Follow these steps to install the TinyBright IP Q15 LED Floodlight

  1. Choose a suitable location for installation.
  2. Ensure that the area is free from obstacles that may obstruct the light beam.
  3. Securely mount the floodlight using the provided brackets or fixtures.
  4. Connect the device to a power source using the supplied mains cable.

Step 2: Operation
To operate the TinyBright IP Q15 LED Floodlight

  1. Ensure that the power supply is connected and turned on.
  2. Use the included remote control or control panel to adjust the desired lighting settings, such as brightness and color.
  3. Test the different lighting effects and adjust as needed.

Step 3: Maintenance
To maintain the TinyBright IP Q15 LED Floodlight

  1. Regularly clean the device’s exterior using a soft cloth and mild detergent.
  2. Inspect the device for any signs of damage or wear.
  3. If any issues are detected, disconnect the power supply and arrange for repair by a qualified professional.

Step 4: Storage
If you need to store the TinyBright IP Q15 LED Floodlight

  1. Disconnect the power supply and ensure the device is turned off.
  2. Store the floodlight in a dry and dust-free environment.
  3. Keep the device away from extreme temperatures or humidity.

Frequently Asked Questions (FAQ)

  • Q: Can I use the TinyBright IP Q15 LED Floodlight in my home?
    A: No, this device is designed for professional use only and is not suitable for household use.
  • Q: What should I do if I notice any damage or wear on the device?
    A: If you detect any damage or wear, disconnect the power supply and arrange for repair by a qualified professional.
  • Q: Can children use the TinyBright IP Q15 LED Floodlight?
    A: Children may be at risk of injury or choking hazards when using this device. Keep it out of their reach.

General information

  • This document contains important instructions for the safe operation of the product. Read and follow the safety instructions and all other instructions. Keep the document for future refer‐ence. Make sure that it is available to all those using the product. If you sell the product to another user, be sure that they also receive this document.
  • Our products and documentation are subject to a process of continuous development. They are therefore subject to change. Please refer to the latest version of the documentation, which is ready for download under www.thomann.de.

Symbols and signal words
In this section you will find an overview of the meaning of symbols and signal words that are used in this document.

Signal word Meaning
DANGER! This combination of symbol and signal word indicates an immediate dangerous situation that will result in death or serious injury if it is not avoided.
WARNING! This combination of symbol and signal word indicates a possible dangerous situation that can result in death or serious injury if it is not avoided.
NOTICE! This combination of symbol and signal word indicates a possible dangerous situation that can result in material and environmental damage if it is not avoided.
Warning signs Type of danger
STAIRVILLE-497678-TinyBright-IP-Q15-LED-Floodlight- (1) Warning – high-voltage.
STAIRVILLE-497678-TinyBright-IP-Q15-LED-Floodlight- (2) Warning – dangerous optical radiation.
STAIRVILLE-497678-TinyBright-IP-Q15-LED-Floodlight- (3) Warning – suspended load.
Warning signs Type of danger
STAIRVILLE-497678-TinyBright-IP-Q15-LED-Floodlight- (4) Warning – danger zone.

Safety instructions

Intended use

  • This device is intended for use as an electronic lighting effect by means of LED technology. The device is designed for professional use only and is not suitable for use in households. Use the device only as described in this user manual. Any other use or use under other operating con‐ditions is considered to be improper and may result in personal injury or property damage. No liability will be assumed for damages resulting from improper use.
  • This device may be used only by persons with sufficient physical, sensorial, and intellectual abilities and having corresponding knowledge and experience. Other persons may use this device only if they are supervised or instructed by a person who is responsible for their safety.
  • Extend the operating life of the device by regular breaks and by avoiding frequent switching on and off. The device is not suitable for continuous operation.

Safety

DANGER!

  • Risk of injury and choking hazard for children!
  • Children can suffocate on packaging material and small parts. Children can injure themselves when handling the device. Never allow children to play with the packaging material and the device. Always store packaging material out of the reach of babies and small children. Always dispose of packaging material properly when it is not in use. Never allow children to use the device without supervi‐sion. Keep small parts away from children and make sure that the device does not shed any small parts (such knobs) that children could play with.

DANGER!

  • Danger to life due to electric current!
  • Within the device there are areas where high voltages may be present. Never remove any covers. There are no user-serviceable parts inside. Do not use the device when covers, safety equipment or optical components are missing or damaged.

DANGER!

  • Danger to life due to electric current!
  • A short circuit could lead to a fire hazard and risk of death. Do not modify the mains cable or the plug! In case of isolation damage, disconnect immediately the power supply and arrange repair. If in doubt, seek advice from a qualified electrician.

WARNING!
Risk of eye damage caused by high light intensity!
The device generates highly intense light radiation. Looking directly into the light source can damage the eyes. Never look directly into the light source.

NOTICE!
Risk of fire due to covered vents and neighbouring heat sources!
If the vents of the device are covered or the device is operated in the immediate vicinity of other heat sources, the device can over‐heat and burst into flames. Never cover the device or the vents. Do not install the device in the immediate vicinity of other heat sources. Never operate the device in the immediate vicinity of naked flames.

NOTICE!
Damage to the device due to high voltages!
The device can be damaged if it is operated with the incorrect voltage or if high voltage peaks occur. In the worst case, excess vol‐tages can also cause a risk of injury and fires. Make sure that the voltage specification on the device matches the local power grid before plugging in the device. Only operate the device from professionally installed mains sockets that are protected by a residual current circuit breaker (FI). Close the Always connect the device directly to the power grid. Never connect it to a dimmer. As a pre‐caution, disconnect the device from the power grid when storms are approaching or it the device will not be used for a longer period.

NOTICE!
Risk of fire due to incorrect polarity!
Incorrectly inserted batteries may cause fires and destroy the device and the batteries. Observe the markings on the batteries and on the device. Ensure that proper polarity is observed when inserting batteries.

NOTICE!
Possible damage due to leaking batteries!
Batteries can leak and cause permanent damage to the device. Take the batteries out of the device if it is not going to be used for an extended period of time.

Features

The LED floodlight is particularly suitable for decorative lighting outdoors. The device is characterized by:

  • Control via infrared remote control (included)
  • Choice of 46 colours
  • Built-in automatic show programmes
  • Outdoor use due to protection class IP65
  • Removable ground spike
  • Pressure compensation valve for a long service life
  • Robust and elegant housing made of aluminium

Information about protection class IP65

  • For technological reasons, the light output of LEDs decreases over their lifetime. This effect increases with higher operating temperature. You can extend the service life of the illuminants by providing adequate ventilation and operating the LEDs with the lowest possible brightness.
  • Equipment with protection class IP65 are dust-tight and completely protected against contact (first code number). They are also protected against splash water from any angle (second code digit). That is why this equipment can also be used outdoors. Event technology equipment is generally only designed for temporary use however (event lighting) and not for permanent use outdoors.
  • The specified protection class does not make a statement about the weather resistance of the equipment (resistance to changing ambient conditions as well as against the effects of sun‐light and UV rays).
  • The seals and screw connections of the equipment must be checked regularly to ensure a fault-free operation. In cases of doubt, consult a specialist workshop in due time.

Installation and starting up
Unpack and check carefully there is no transportation damage before using the unit. Keep the equipment packaging. To fully protect the product against vibration, dust and moisture during transportation or storage use the original packaging or your own packaging material suitable for transport or storage, respectively.

WARNING!
Risk of injury from falling devices that were inadequately secured!
If devices are not properly secured during assembly, they can cause severe injury and considerable damage by falling.
When installing and operating, make sure to follow the standards and regulations that apply in your country.
Always secure the device with a secondary safety attachment, such as a safety cable or a safety chain.

NOTICE!
Potential property damage due to unsuitable stands!
If the device is mounted on an unsuitable stand, there is a risk that the stand will fall over and cause damage.
Only use stands whose maximum bearing capacity is at least as high as the weight of the device. Always ensure that the stand is stable.

NOTICE!
Risk of overheating due to bad ventilation!
If the device is badly ventilated, the device can overheat.
Do not operate the unit at ambient temperatures outside the specified tempera‐ture range (see chapter “Technical data” of the user manual).
Always ensure sufficient ventilation at the operating location.

Mounting options

  • You can install the device in hanging or standing positions. When in use, the device must always be attached to a solid surface or an approved mount. Use the openings provided on the bracket for attaching.
  • Always work from a stable platform whenever installing, moving or servicing the unit. While you do this, the area underneath the device must be cordoned off.
  • The safety cable must be attached to the bracket.
  • Please note that this device must not be connected to a dimmer.

Connecting the DMX IP65 con‐nectors

 

STAIRVILLE-497678-TinyBright-IP-Q15-LED-Floodlight- (5)

Proceed as follows to connect the DMX-IP65 connectors

  1. Insert the plug completely and straight into the coupling.
  2. Make sure that the flexible sealing ring has complete contact.
  3. Turn the union nut straight onto the thread of the coupling. Hand-tighten the union nut.

Infrared sensor for the remote control
Align the infrared sensor in such a way that there are no objects between the remote control and the infrared sensor that could cause interference.
Create all connections while the device is off. Use the shortest possible high-quality cables for all connections. Take care when running the cables to prevent tripping hazards.

Inserting the battery into the remote control
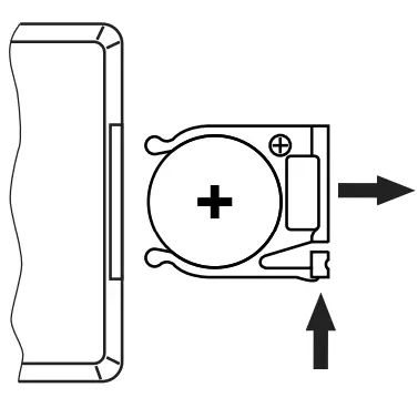
Push the lock of the battery holder towards the centre of the housing and pull out the battery holder like a drawer. Insert the batteries. The battery is correct if the positive pole points to the housing base of the remote control. Slide the battery holder back into the remote until it clicks into place.
When shipping, the battery is already installed in the remote and protected against discharge by a transparent plastic film. Remove the plastic film before initial use.

STAIRVILLE-497678-TinyBright-IP-Q15-LED-Floodlight- (6)NOTICE!
Risk of fire due to incorrect polarity!
Incorrectly inserted batteries may cause fires and destroy the device and the bat‐teries.
Observe the markings on the batteries and on the device.
Ensure that proper polarity is observed when inserting batteries.
NOTICE!
Possible damage due to leaking batteries!
Batteries can leak and cause permanent damage to the device.
Take the batteries out of the device if it is not going to be used for an extended period of time.

Components and functions

  1. Bracket for suspension or set-up
  2. Locking screw for the bracket
  3. Infrared sensor for remote control
  4. Removable ground spike
  5. Pressure compensating valve
  6. Power cord Hole with a 7 mm diameter for assemblySTAIRVILLE-497678-TinyBright-IP-Q15-LED-Floodlight- (7)Remote control STAIRVILLE-497678-TinyBright-IP-Q15-LED-Floodlight- (8)
  7. STAIRVILLE-497678-TinyBright-IP-Q15-LED-Floodlight- (9)[DIMMER] | Press the button to turn on the device. With the device switched on, press
    the button to activate the dimming function. Use [–] or [+] to adjust the brightness.
    Press the button twice in succession to switch off the device.
  8. [COLOR] | Press the button to activate colour selection. Use [–] or [+] to set one of the 46 colours.
  9. [PROGRAM] | Press the button to activate programme mode. Use [–] or [+] to set the
    required programme.
  10. [SPEED] | Press the button to activate setting mode for the programme speed. Use [–] or [+] to set the required speed.
  11. [–] | Decreases the set value
  12. [+] | Increases the set value

Technical specifications

STAIRVILLE-497678-TinyBright-IP-Q15-LED-Floodlight- (10) STAIRVILLE-497678-TinyBright-IP-Q15-LED-Floodlight- (11)

Cleaning

Optical lenses
Clean the optical lenses, that are accessible from the outside, regularly in order to optimize the light output. The frequency of cleaning depends on the operating environment: wet, smoky or particularly dirty surroundings can cause more accumulation of dirt on the optics of the device.

  • Clean with a soft cloth using our lamp and lens cleaner (item no. 280122).
  • Always dry the parts carefully.

Protecting the environment

Disposal of the packing material

STAIRVILLE-497678-TinyBright-IP-Q15-LED-Floodlight- (12)Environmentally friendly materials have been chosen for the packaging. These materials can be sent for normal recycling. Ensure that plastic bags, packaging, etc. are disposed of in the proper manner.
Do not dispose of these materials with your normal household waste, but make sure that they are collected for recycling. Please follow the instructions and markings on the packaging.
STAIRVILLE-497678-TinyBright-IP-Q15-LED-Floodlight- (13)Observe the disposal note regarding documentation in France.

Disposal of batteries

  • STAIRVILLE-497678-TinyBright-IP-Q15-LED-Floodlight- (14)Batteries do contain some hazardous chemicals so they should not be thrown away with the normal household waste. They should be returned to the manufacturer for disposal or recycled elsewhere in accordance with your local regulations.
  • Only dispose of lithium batteries when they are empty. Remove lithium batteries from the device before disposal if this is possible without destroying it. Protect used lithium batteries against short circuit, for example by taping the poles. Dispose the built-in lithium batteries together with the device. Check for an appropriate collection facility.
  • Dispose of the batteries and rechargeable batteries at relevant collection points or through your local waste facility.

Disposal of your old device

  • This product is subject to the European Waste Electrical and Electronic Equipment Directive (WEEE) as amended.
  • Do not dispose of your old device with your normal household waste; instead, deliver it for controlled disposal by an approved waste disposal firm or through your local waste facility.
  • When disposing of the device, comply with the rules and regulations that apply in your country. If in doubt, consult your local waste management facility. Proper disposal protects the environment as well as the health of your fellow human beings.
  • Also note that waste avoidance is a valuable contribution to environmental protection. Repairing a device or passing it on to another user is an ecologically valuable alternative to disposal.
  • You can return your old device to Thomann GmbH at no charge. Check the current conditions on www.thomann.de.
  • If your old device contains personal data, delete those data before disposing of it.

STAIRVILLE-497678-TinyBright-IP-Q15-LED-Floodlight- (15)

Leave a Comment