SHANGZHAOYUAN H610 Mini ITX LGA 1700 Motherboard

Contents
Specifications
| H610-Swordsman-WIFI | |||
| Processor | Inte 12th and 13th gen Core i9/i7/i5/i3/Pentium/Celeron LGA 1700 pin series
processor |
||
| Southbridge | H610 Chipset | ||
| RAM | Technology | Dual channel DDR4 | |
| Maximum
Capacity |
64GB (32GB*2) | ||
| Memory Slot | 2 * DDR4 | ||
| Rear I/O | Display Interface | 1 * HDMI; 1 * VGA; 1 * DP | |
| USB | 3 * USB 2.0; 2 * USB 3.2 | ||
| Ethernet | 1 * 2.5Gb LAN Interface | ||
| WIFI | WIFI6 Port | ||
| AUDIO | 1 (Mic-in, Line-out, Line-in) | ||
| Internal connector | CFAN | 1 * 4PIN | |
| SYSFAN | 1 * 4PIN | ||
| ATXPWR Interface | 1 * 8PIN Power Socket;1 * 24PIN Power Socket | ||
| USB2.0 | 1 | ||
| USB3.0 | 1 | ||
| M.2 | 1(PCIe 3.0×4) | ||
| SATA Interface | 4 * SATA 3.0 | ||
| JAUDIO | 1 * 2x5Pin | ||
| JCOM Serial Port | 1 | ||
| JCMOS Port | 1 | ||
| PCIe | 1 * PCIe 4.0×16 | ||
| Environment | Temperature Range | Working Environment | Storage Environment |
| Temperature:0~50°C
Humidity:5%~95% |
Temperature: -20~70°C
Humidity: 5%~95% |
||
| Physical Size | Size | 17cm*17cm / 6.7in * 6.7in | |
Overview of Components

Package List:
- H610-Swordsman-WIFI Motherboard * 1
- SATA Cable * 1
- I/O Blocking * 1
Install CPU & Fan
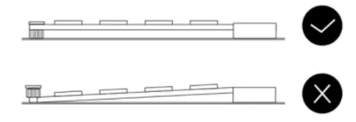
Please install the CPU into the CPU socket (LGA 1700) as shown below.

Important
- Make sure that the motherboard supports the CPU.
- Always unplug the power cord from the power outlet before installing or removing the CPU to prevent hardware damage.
- Please retain the CPU protective cap after installing the processor.
- Do not turn on the computer if the CPU cooler is not installed, otherwise overheating damage to the CPU may occur.
- Confirm that the CPU heatsink has formed a tight seal with the CPU before booting your system.
- Apply an even layer of thermal paste (or thermal tape) between the CPU and the heatsink to enhance heat dissipation.
- Whenever the CPU is not installed, always protect the CPU socket pins by covering the socket with a plastic cap.
- Locate the pin one of the CPU socket and the CPU. Once the CPU is positioned into its socket, place one finger down on the middle of the CPU, lowering the locking lever and latching it into the fully locked position.
- Do not force the CPU into the CPU socket before the CPU socket locking lever is lifted up, or damage to the CPU and CPU socket may occur.
- Connect the CPU heat sink’s 4pin fan power connector to the 4pin CPU fan header on motherboard.
- Please be sure to plug in the 8-PIN power supply to power the CPU.
Install Memory
The motherboard provides 2 DDR4 DIMM slots, and each with a maximum capacity of 32GB.
- Wrench the latches on both sides of the memory slot outwards.

- Insert the memory into the slot by aligning it with the notch in the slot.

- Flip the latches on both sides of the slot to lock the memory

Important
- Make sure that the motherboard supports the memory. It is recommended that memory of the same capacity, brand, speed, and chips be used.
- Always turn off the computer and unplug the power cord from the power outlet before installing the memory to prevent hardware damage.
- Memory modules have a foolproof design. A memory module can be installed in only one direction. If you are unable to insert the memory, switch the direction.
- The stability and compatibility of the installed memory module depend on the installed CPU and devices when overclocking.
- This motherboard provides two memory sockets and supports Dual Channel Technology. Dual-Channel mode cannot be enabled if only one memory
Install Expansion Card
The motherboard provides a PCI Express 4.0 x16 expansion slot. Place the expansion card in an available PCI Express slot and press the expansion card until itis fully inserted into the slot

Important
- When adding or removing expansion cards, always turn off the power supply and un plugthe power supply power cable from the power outlet to prevent hardware damage.
- If the expansion card is not installed correctly, it may cause a short circuit throughout the metal pins, which could burn out the expansion card or the motherboard.
Back Panel Connectors

USB 2.0 Port
The USB port supports the USB 2.0 specification. Use this port for USB devices.
USB 3.2 Gen 2 Type-A Port
The USB 3.2 Gen 2 port supports the USB 3.2 Gen 2 specification and is compatible with the USB 3.2 Gen 1 and USB 2.0 specifications. Use this port for USB devices.
VGA Port
VGA (Video Graphics Array) supports analog video signal transmission, high resolution, fast display rate and rich colors.
Display Port
DisplayPort (DP) delivers high-quality digital imaging and audio. You can use this port to connect your DisplayPort supported monitor.
HDMI Port
The HDMI port supports 4K and 1080px. You can use this port to connect your HDMI-supported monitor.
RJ45 LAN Port
The LAN port provides Internet connection at up to 2.5Gbps data rate. The following describes the states of the LAN port LEDs

Audio Port
Line-in Port
The line in jack. Use this audio jack for line in devices such as an optical drive, walkman, etc.
Line-out Port
The line out jack.
Mic-in Port
The Mic in jack.
WIFI6 Connectors
Use this connector to connect an antenna.
Internal Connectors
FPANEL1 Connector

F_AUDIO2 Connector
This connector allows you to connect audio jacks on the front panel.
![]() |
1 | DCD | 2 | SIN |
| 3 | SOUT | 4 | DTR | |
| 5 | Ground | 6 | DSR | |
| 7 | RST | 8 | CTS | |
| 9 | RII | 10 | NC |
Important
- An incorrect connection between the module connector and the motherboard header will make the device unable to work or even damage it.
SATA1~4: SATA 3.0 Connectors
These SATA 3.0 connectors are SATA 6Gb/s interface ports. Each SATA connector supports a single SATA device

M.2 Slot
Insert your M.2 SSD into the M.2 slot at a 30-degree angle. Secure the M.2 SSD in place with the scr ew.




JCMOS: Clear CMOS Jumper
Use this jumper to clear the BIOS configuration and reset the CMOS values to factory defaults. To clear the CMOS values, use a metal object like a screwdriver to touch the two pins for a few seconds.
Important
- Always turn off the computer and unplug the power cord from the power outlet beforedischarging
F_COM1: Serial Port Connector
The COM connector can provide one serial port via an optional COMport cable.
![]() |
1 | DCD | 2 | SIN |
| 3 | SOUT | 4 | DTR | |
| 5 | Ground | 6 | DSR | |
| 7 | RST | 8 | CTS | |
| 9 | RI | 10 | NC |
ATXPWR1, PWR12V1: Power Connectors
With the use of the power connector, the power supply can provide enough stable power to all the components on the motherboard. Before connecting the power connector, makesurethe power supply is turned off and all devices are properly installed. 24PIN for motherboard power supply. 8PIN for CPU power supply.
Important
- It is recommended that a power supply that can withstand high power consumption be used (at least 500W). If a power supply is used that does not provide the required power, the result can lead to an unstable or unbootable system.
ATXPWR1 |
1 | +3.3V | 13 | +3.3V |
| 2 | +3.3V | 14 | -12V | |
| 3 | Ground | 15 | Ground | |
| 4 | +5V | 16 | PS-ON | |
| 5 | Ground | 17 | Ground | |
| 6 | +5V | 18 | Ground | |
| 7 | Ground | 19 | Ground | |
| 8 | Power OK | 20 | NC | |
| 9 | 5VSB | 21 | +5V | |
| 10 | +12V | 22 | +5V | |
| 11 | +12V | .23 | +5V | |
| 12 | +3.3V | 24 | Ground |
PWR12V1 |
1 | Ground | 5 | +12V |
| 2 | Ground | 6 | +12V | |
| 3 | Ground | 7 | +12V | |
| 4 | Ground | 8 | +12V |
CFAN, SFAN: Fan Connectors
All fan headers on this motherboard are 4-pin. When connecting a fan cable, be sure to connect it in the correct orientation (the black connector wire is the ground wire).
|
|
1 | Ground |
| 2 | +12V | |
| 3 | Sense | |
| 4 | Speed Control |
Important
- The speed control function requires the use of a fan with a fan speed control design.
- For optimum heat dissipation, it is recommended that a system fan be installed inside the chassis.
- Be sure to connect fan cables to the fan headers to prevent your CPU and system from overheating. Overheating may result in damage to the CPU or the system may hang.
FUSB2: USB 2.0 Connector
The headers conform to USB 2.0 specification. This connector allows you to connect USB 2.0 ports on the front panel.
![]() |
1 | vcc | 2 | vcc |
| 3 | USBO- | 4 | USB1- | |
| 5 | USBO+ | 6 | US81+ | |
| 7 | Ground | 8 | Ground | |
| 9 | No Pin | 10 | NC |
FUSB30_1: USB 3.0 Connector
The header conforms to USB 3.0 and USB 2.0 specification. This connector allows you to connect USB 3.0 ports on the front panel.
![]() |
1 | VBUS | 11 | D2+ |
| 2 | SSRX1- | 12 | D2- | |
| 3 | SSRX1+ | 13 | Ground | |
| 4 | Ground | 14 | SSTX2+ | |
| 5 | SSTX1- | 15 | SSTX2- | |
| 6 | SSTX1+ | 16 | Ground | |
| 7 | Ground | 17 | SST2+ | |
| 8 | 0 – | 18 | SST2- | |
| 9 | D+ | 19 | VBUS | |
| 10 | NC | 20 | No Pin |
BIOS Setup
BIOS (Basic Input and Output System) records hardware parameters of the system in the CMOS on the motherboard. BIOS identifies, configures, tests and connects computer hardware to the OS immediately after a computer is turned on.
Its major functions include conducting the Power-On Self-Test (POST) during system startup, saving system parameters and loading the operating system, etc. BIOS includes a BIOS Setup program that allows the user to modify basic system configuration settings or to activate certain system features.
When the power is turned off, the battery on the motherboard supplies the necessary power to the CMOS to keep the configuration values in the CMOS.
Important
- Because BIOS flashing is potentially risky if you do not encounter problems using the current version of BIOS, it is recommended that you not flash the BIOS. To flash the BIOS, do it with caution. Inadequate BIOS flashing may result in system malfunction.
BIOS Setup
The default settings offer the optimal performance for system stability in normal conditions. It is recommended that you not alter the default settings (unless you need to) to prevent system instability or other unexpected results. Inadequately altering the settings may result in the system’s failure to boot.
Important
- BIOS items are regularly updated for better system performance. The items may be slightly different from the latest BIOS; therefore, the description is for reference only.
Enter BIOS Setup
Entering BIOS Setup
When the computer starts up, BIOS enters the self-test process. When the self-test is completed, the following message is displayed: Press DEL key to enter Setup Menu. At this time, Press <Delete> key to enter the BIOS setup.
If this message disappears before you press <DEL> key, you can turn it off and then turn on your computer or press <Reset> on the case to restart your computer. You can also press <Ctrl>+<Alt>+<Delete> at the same time to restart your computer.
Important
- Functions may vary depending on the product you have.
Reset BIOS
When you need to restore the default BIOS settings to resolve certain issues, there are several ways to reset the BIOS:
- Go to BIOS and press F6 to load optimized defaults.
- Short the Clear CMOS jumper on the motherboard.
Important
Be sure the computer is off before clearing CMOS data. Please refer to the Clear CMOS jumper section for resetting BIOS.


ATXPWR1
PWR12V1
CFAN/SFAN