SEIKAKU AH150.1 Switching Power Professional Amplifier

Contents
IMPORTANT
Please read this manual carefully before operating this unit for the first time.
All rights reserved to SEIKAKU. All features and content might be changed without prior notice. Any photocopy, translation, or reproduction of part of this catalogue without written permission is forbidden. Copyright © 2009 SEIKAKU GROUP
SAFETY RELATED SYMBOLS
CAUTION RISK OF ELECTRIC SHOCK DO NOT OPEN 
The symbol is used to indicate that some hazardous live terminals are involved within this apparatus, even under the normal operating conditions.
The symbol is used in the service documentation to indicate that specific component shall be only replaced by the component specified in that Documentation for safety reasons.
Protective grounding terminal.
Alternating current /voltage.
Hazardous live terminal .
ON: Denotes the apparatus turns on.
OFF: Denotes the apparatus turns off, because of using the single pole switch, be sure to unplug the AC power to prevent any electric shock before you proceed your service.
WARNING: Describes precautions that should be observed to prevent the danger of injury or death to the user.
Disposing of this product should not be placed in municipal waste and should be separate collection.
CAUTION: Describes precautions that should be observed to prevent danger of the apparatus.
WARNING
- Power Supply
Ensure the source voltage matches the voltage of the power supply before turning ON the apparatus.
Unplug this apparatus during lightning storms or when unused for long periods of time. - External Connection
The external wiring connected to the output hazardous live terminals requires installation by an instructed person, or the use of readymade leads or cords. - Do not Remove any Cover
There are maybe some areas with high voltages inside, to reduce the risk of electric shock, do not remove any cover if the power supply is connected.
The cover should be removed by the qualified personnel only.
No user serviceable parts inside. - Fuse
To prevent a fire, make sure to use fuses with specified standard (current, voltage, type). Do not use a different fuse or short circuit the fuse holder.
Before replacing the fuse, turn OFF the apparatus and disconnected the power source. - Protective Grounding
Make sure to connect the protective grounding to prevent any electric shock before turning ON the apparatus.
Never cut off the internal or external protective grounding wire or disconnect the wiring of protective grounding terminal. - Operating Conditions
This apparatus shall not be exposed to dripping or splashing and that no objects filled with liquids, such as vases, shall be placed on this apparatus.
To reduce the risk of fire or electric shock, do not expose this apparatus to rain or moisture.
Do not use this apparatus near water. Install in accordance with the manufacture-r’s instructions. Do not install near any heat sources such as radiators, heat registers, stoves, or other apparatus (including amplifiers) that produce heat. Do not block any ventilation openings.
No naked flame sources, such as lighted candles, should be placed on the apparatus.
IMPORTANT SAFETY INSTRUCTIONS
- Read these instructions.
- Follow all instructions.
- Keep these instructions.
- Heed all warnings.
- Only use attachments/accessories specified by the manufacturer.
Power Cord and Plug
Do not defeat the safety purpose of the polarized or grounding type plug.
A polarized plug has two blades with one wider than the other. A grounding type plug has two blades and a third grounding prong. The wide blade or the third prong are provided for your safety.
If the provided plug does not fit into your outlet, consult an electrician for replacement of the obsolete outlet.
Protect the power cord from being walked on or pinched particularly at plugs, convenience receptacles, and the point where they exit from the apparatus.
Cleaning
When the apparatus needs a cleaning, you can blow off dust from the apparatus with a blower or clean with rag etc.
Don’t use solvents such as benzol, alcohol, or other flu ids with very strong volatility and flammability for cleaning the apparatus body.
Clean only with dry cloth.
Servicing
Refer all servicing to qualified personnel. To reduce the risk of electric shock, do not perform any servicing other than that contained in the operating instructions unless you are qualified to do so .
Servicing is required when the apparatus has been damaged in any way , such as power supply cord or plug is damaged , liquid has been spilled or objects have fallen into the apparatus, the apparatus has been exposed to rain or moisture , does not operate normally, or has been dropped.
The mains plug is used as the disconnect device, the disconnect device shall remain readily operable.
INTRODUCTION
AH150.1/AH300.1/AH500.1/AH1000.1 is a class-D installation amplifier. It is suitable for both 70/100V line installations (selectable through dip-switches). Its has volume control and LED indicators (signal, clip and protection). The input and output connections are made through euro blocks. Its 1HU rack 19 size is very appropriate for many types of installations, taking advantage of its multichannel design.
Features
- High current switching power allowing high power output with low noise and low distortion
- Substantial protection circuitry like thermal, short circuit, power on/off muting and Therefore protection
- Built-in limiter
- Euro block input and output
- Front mounted gain controls for easy access
- Signal, Clip protect, and Power LED indicators to monitor performance.
- Amplifier Disable/Prior/Failure Status
- Channel installation amplifier.
- 70/100V line operation.
- Power output (70/100V).
- HU rack 19 size.
- Switching power, class-D amplifier.
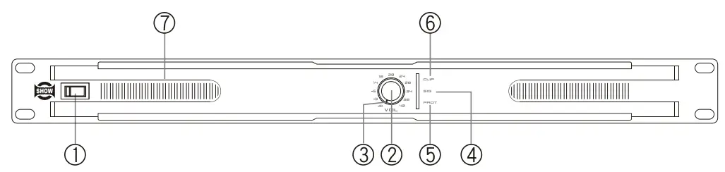
FRONT PANEL
- Power Switch
It switches ON/OFF the unit main power - Level Control
These volume controls allow you to adjust the volume level. - Power
The Green LED light up when the amplifier power on. - Signal LED
These green LEDs light up when the respective channel’s output signal pass through. - Protection LED
In normal operation, the LED will not illume; If the LED turns red, it means the unit is in heat protection without sound output. The speaker system is actually disconnected from the amplifier outputs when this LED is red, the temperature must be reduced by good ventilation and the signal level decreased etc . if the problem is resolved. the protection output systems will deactivate automatically, and normal amplifier operation is resumed. - Clip LED
This red LED lights up when the input signal is too strong. it is time to reduce input level until clip LED turn off. - Air Intake Vents
AH150.1/AH300.1/AH500.1/AH1000.1 employ a variable speed internal cooling fan to intake the air through front grill to keep it running cool even under extreme operating conditions.
Please keep these vents clear and free from obstruction at all times to insure proper cooling.

REAR PANEL
- AC Input
Use it to connect your AH150.1/AH300.1/AH500.1/AH1000.1 to the supplied AC cord. - Euro block input
+: balanced signal input+ or unbalanced signal input
– balanced signal input
GND: signal GND - Euro block Output
Connect the amplifier to your speakers using these Euro block. - Operation mode switch
Select the operation mode (70V or 100V) moving the dip-switches to the desired position. - Exhaust Vents
Air is drawn from front grilles, flowing through the unit and heat sink, and then exhausted via the rear vents. Do not block or impede the air flow through these vents and keep the vents areas free of foreign materials.

APPLICATIONS
- This is a connection example.

TECHNICAL SPECIFICATIONS
| AH150.1 | AH300.1 | AH500.1 | AH1000.1 | ||
| Output Power (100V line) | one channel drive | 150W | 300W | 500W | 1000W |
| Output Power (70V line) | one channel drive | 150W | 300W | 500W | 1000W |
| Input sensitivity | 0.9-1.1V (0+/-1dBV) | ||||
| Input Impedance | 20k (balanced) 10k (unbalanced) | ||||
| Frequency response | 140 Hz – 14 kHz | ||||
| Voltage gain (100V) | 40 dB | ||||
| THD+N | <0.1% | ||||
| S/N rate | >95 dB | ||||
| Damping factor | >200 | ||||
| Power output circuitry | Switching power, Class-D | ||||
| Power supply | AC220-240V, 50/60Hz or AC110-120V , 50/60Hz | ||||
| Protections | Short circuit, open circuit, thermal, ultrasonic and RF | ||||
| Connectors | INPUT & OUTPUT: Euroblock | ||||
| Controls | Front: AC switch, Input level control Rear: 70V/100V selector | ||||
| Indicators | SIGNAL: green LED CLIP: red LED POWER: green LED PROTECTION: red LED | ||||
| Dimensions (WxHxD) | 483x44x360 (mm) | ||||
| Weight | 5.0 kg | 5.0 kg | 5.0 kg | 5.0 kg | |
Customer Support
SEIKAKU TECHNICAL GROUP LIMITED
NO.I LANE 17, SEC.2, HAN SHI WEST ROAD, TAICHUNG 40151, TAIWAN
tel: 886-4-22313737 – fax: 886-4-22346757
www.show-pa.com
[email protected]
