DESIGNER SERIES
ROBE HOOD & TOWEL RING

Contents
9266ED90 Generic Robe Hook and Towel Ring
KEEP THIS INSTRUCTION BOOKLET FOR FUTURE REFERENCE
Important: Santec reserves the right to request additional documents before servicing warranty requests.
SANTEC has the right to make necessary design changes where applicable.
*Illustration may not depict actual products
PARTS BREAKDOWN
![]() |
Robe Hook Body |
![]() |
TOWEL RING |
![]() |
MOUNTING HARD WARE POST |
![]() |
MOUNTING SCRE WS (4) |
![]() |
DRY WALL TOGGLES ( 4 ) |
![]() |
SOLID WALL ANCHORS (4) |
![]() |
ALLEN KEY |
ACCESSORY POST
Installation
Remove the Mounting Hardware Post from the Accessory Post and use it as a reference for positioning.
Installing On Wooden Surface
For wooden sur face, the Mounting Hardware Post can be secured by threading the Screws directly into the wall.

Installing On Drywall
Mark the four screw hole positions by using the Mounting Hardware Post.
Using a drill, pre-drill holes for the Dry Wall Toggles.
Fold the Dry Wall Toggle’s leg and insert it into the wall.
The Mounting Hardware Post can be secured by screwing the Screws into the Toggles.

TOWEL BAR
Installing On Solid/Hard Sur face
Measuring the dimensions carefully, mark the four screw hole positions by using the Mounting Hardware Post.
Using a drill, pre-drill the holes.
Insert Anchors into the wall.
Secure the Mounting Hardware Post by tightening the Screws into the Anchors.

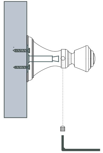
Securing In Position

Using the provided Allen key, loosen the Accessory Post’s Set Screw.
Slip the Accessory Post onto the Mounting Hardware Post.
Secure the Accessory Post by tightening the Set Screw.






