
Contents
RocketFish 40″ to 75″ TV Wall Mount – Full Motion [RF-HTLF23] User Manual
RocketFish 40″ to 75″ TV Wall Mount – Full Motion [RF-HTLF23] User Manual
Introduction
Congratulations on your purchase of a high-quality Rocketfish product. Your
RF-HTLF23 represents the state of the art in TV wall-mount design and is designed for reliable and trouble-free performance.
IMPORTANT SAFETY INSTRUCTIONS
SAVE THESE INSTRUCTIONS
- This product is designed ONLY to be installed into wood studs, solid concrete, or concrete block.
- DO NOT INSTALL INTO DRYWALL ALONE — DRYWALL ALONE WILL NOT HOLD THE WEIGHT OF YOUR TV.
- This product is designed for INDOOR USE ONLY.
- The wall must be capable of supporting five times the weight of the TV and mount combined.
- Do not use this product for any purpose not explicitly specified by manufacturer.
- Manufacturer is not responsible for damage or injury caused by incorrect assembly or use.
- Improper installation may cause property damage or personal injury. If you do not understand these directions, or have doubts about the safety of the installation, contact Customer Service or call a qualified contractor. Rocketfish is not responsible for damage or injury caused by incorrect installation or use.
- The weight of your TV and accessories must not exceed 100 lbs. (45.3 kg).
- This product contains small items that could be a choking hazard if swallowed. Keep these items away from young children!
Specifications
- Maximum TV weight: 100 lbs. (45.3 kg)
- Screen size: From 40 in. to 75 in. (101.6 cm to 190.5 cm) diagonal
- Overall dimensions (H × W): 17.7 × 25.1 in. (45 cm × 63.9 cm)
- Wall-mount weight: 18.8 lbs. (8.5 kg)
- For customer service, call: 1-800-620-2790
Dimensions
Tools needed
You need the following tools to assemble your new TV wall mount:
Package contents
Make sure that you have all the hardware necessary to assemble your new TV wall mount:
TV Hardware
Concrete Installation Kit CMK1 (not included)
Contact customer service at 1-800-359-5520 to have these additional parts shipped directly to you.
Installation instructions
STEP 1 – Determine whether your TV has a flat back or an irregular or obstructed back
- Carefully place your TV face-down on a cushioned, clean surface to protect the screen from damage and scratches.
- If your TV has a tabletop stand attached, remove the stand. See the documentation that came with your TV for instructions.
- Temporarily lay the horizontal brackets (04) on the back of your TV.
- Align the screw holes in the brackets with the mounting screw holes on your TV.
- Identify which type of back your TV has:
- Flat back: The brackets lay flush against the back of your TV and do not block any jacks. You do not need spacers when assembling the wall mount.

- Obstructed back: The brackets block any of the jacks on the back of your TV. You need 2.5 mm or 22 mm spacers (03) when assembling the wall mount.

- Irregularly-shaped back: There is a gap between the brackets and some part of the back of your TV. You need 2.5 mm or 22 mm spacers (03) when assembling the wall mount.

- Flat back: The brackets lay flush against the back of your TV and do not block any jacks. You do not need spacers when assembling the wall mount.
- Remove the brackets.
STEP 2 – Select screws, washers, and spacers
- Select the hardware for your TV (screws, washers, and spacers). A limited number of TVs come with mounting hardware included. (If screws came with your TV, they are almost always in the holes on the back of your TV.) If you don’t know the correct length of the mounting screws your TV requires, test various sizes by hand threading the screws.
Select the screws that fit:- M6 × 12 mm screws (01)
- M6 × 35 mm screws (01)
- M8 × 16 mm screws (01)
- M8 × 25 mm screws (01)
- M8 × 35 mm screws (01)
- M8 × 50 mm screws (01)
Use the M6/M8 washers (02) for all screws.
For an irregular or obstructed TV back, also use the 2.5 mm or 22 mm spacers (03).
CAUTION: To avoid potential personal injuries and property damage, make sure that the screws have adequate threads to secure the brackets to your TV. If you encounter resistance, stop immediately and contact customer service. Use the shortest screw and spacer combination to accommodate your TV. Using hardware that is too long may damage your TV. However, using a screw that is too short may cause your TV to fall from the mount.
- Remove the screws.
- For a flat back TV, go to STEP 3 – Option 1: Attaching the horizontal brackets to a TV with a flat back on page 10.
-OR-
For an irregular or obstructed back, go to STEP 3 – Option 2: Attaching the horizontal brackets to a TV with irregular or obstructed back on page 11.
STEP 3 – Option 1: Attaching the horizontal brackets to a TV with a flat back
CAUTION: To avoid personal injury or property damage, do not use power tools.
- Align the holes you noted on the horizontal brackets (04) with the screw holes on the back of your TV.
- Place the washers (02) over the holes in the brackets that align with the screw holes on the back of your TV, then insert the screws that you selected in STEP 2 (01) through the washers. Make sure that the brackets are level.
- Tighten the screws until they are snug against the brackets. Do not over-tighten.


STEP 3 – Option 2: Attaching the horizontal brackets to a TV with an irregular or obstructed back
CAUTION: To avoid personal injury or property damage, do not use power tools.
- Place the spacers you selected in STEP 2 (03) over the screw holes on the back of your TV.
- Align the horizontal brackets (04) over the spacers, then place the washers (02) over the holes in the brackets. Insert the screws you selected in STEP 2 (01) through the washers, brackets, and spacers. Make sure that the brackets are level.
- Tighten the screws until they are snug against the brackets. Do not over-tighten.


STEP 4 – Attaching the vertical bracket
CAUTION: To avoid personal injury or property damage, do not use power tools.
- Lay the vertical bracket (05) on top of the horizontal brackets (04). Make sure that the bracket is centered.
- Secure the vertical bracket to the horizontal brackets with the TV interface screws (06). Tighten the screws until they are snug against the vertical brackets. Do not over tighten.


STEP 5 – Determine wall-mount location
Note: Your TV should be high enough so your eyes are level with the middle of the screen from a seated position (normally, 40 to 60 inches from the ground).
For more detailed information on determining where to drill your holes, visit our online height-finder at: https://mf1.bestbuy.selectionassistant.com/index.php/heightfinder
The center of your TV will match the center of the wall plate (08). Before you drill holes in the wall:
- Measure the distance from the bottom of your TV to the middle of the four mounting screw holes. This is measurement a.
- Measure the distance from the floor to where you want the bottom of your TV to be placed on the wall. Keep in mind that the bottom of your TV should be placed above any furniture (such as entertainment centers or TV stands). Your TV should also be above items placed on top of the furniture (like a Blu-ray player or cable box). This is measurement b.
- Adda + b. The total measurement is the height where you want the center of the wall plate (08) to be on the wall.
- Use a pencil to mark this spot on the wall.


STEP 6 – Option 1: Installing on a wood stud wall
Note: Drywall covering the wall must not exceed 5/8″ (16 mm).
- Locate the stud, then verify the center of the stud with an edge-to-edge stud finder.
- Make sure that the distance between the studs is 16 in. (40.6 cm).

Note:
Drywall covering the wall must not exceed 5/8 in. (1.6 cm). Minimum wood stud size: nominal 2 × 4 in. (5.1 × 10.2 cm) actual 1 1/2 × 3 1/2 in. (3.8 × 8.9 cm).
- Align the center of the wall plate template (07) at the height you determined in the previous step and make sure that it is level. Tape the template to the wall.

- Drill four pilot holes through the template to a depth of 2 3/4 in. (7 cm) using a 7/32 in. (5.5 mm) diameter drill bit, then remove the template.

- Align the wall plate (08) with the pilot holes, insert the lag screws (09) through washers (10) and into the holes in the wall plate, then tighten the lag screws only until they are firm against the wall plate assembly.

CAUTION: Avoid potential injuries or property damage! DO NOT over-tighten the lag screws (09).
STEP 6 – Option 2: Installing on a solid concrete or concrete block wall
CAUTION: To prevent property damage or personal injury, never drill into the mortar between the blocks. Mount the wall plate directly onto the concrete surface.
- Align the center of the wall plate template (07) at the height you determined in the previous step and make sure that it is level. Tape the template to the wall.
Note: Mount the wall plate (08) directly onto the concrete surface (no wall covering).
Minimum solid concrete thickness: 8in. (20.3 cm).
Minimum concrete block size:
8 × 8 × 16 in. (20.3 × 20.3 × 40.6 cm).
Minimum horizontal space between fasteners:
16 in. (40.6 cm).
For concrete applications, the arm assembly (11) must remain centered in wall plate (08). Keep this in mind when selecting the wall plate location.
- Drill pilot holes to a depth of 3 in. (7.6 cm) using a 3/8 in. (10 mm) diameter masonry drill bit, then remove the template.

- Insert the concrete wall anchors (C3) (see Concrete Installation Kit CMK1 (not included) on page 7) into the pilot holes and use a hammer to make sure that the anchors are flush with the concrete surface.

- Align the wall plate (08) with the anchors, insert the lag screws (C1) through the washers (C2) and into the holes in the wall plate assembly, then tighten the lag screws only until they are firm against the wall plate.
CAUTION: Avoid potential injuries or property damage! DO NOT over-tighten the lag screws (C1).
STEP 7 – Attach the arm assembly to the wall plate
- Hang th earm (11) onto the wall plate (08) by first hooking the top of the arm assembly into the wall plate channel, then lowering the bottom of the assembly into place.


- Use the hex key (14) to secure the arm assembly to the wall plate (08) with the wall plate screws (13).
CAUTION: These wall plate screws must be installed to secure your TV onto the wall plate assembly.
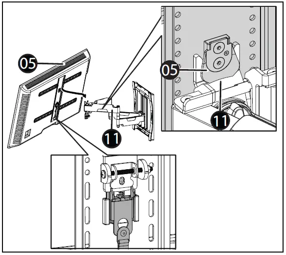
STEP 8 – Attach your TV to the arm assembly
- Hang your TV onto the arm assembly (11) by first hooking the top support of the vertical bracket (05) onto the assembly, then resting your TV into place. You hear an audible click when your TV is in place.


- Use the hex key (14) to lock your TV to the arm assembly with the locking screw (12).
IMPORTANT: The locking screw must be installed to secure your TV onto the arm assembly.
STEP 9 – Managing cables
- Fully extend the arm assembly (11) to provide enough slack, then routing cables along the arms and inserting them into the channels on the arms to provide a clean look to your installation.

STEP 10 – Adjust tilt
Note: After your TV is in place, tighten the tilt tension knob to prevent unwanted movement.
Loosen the tension knob with your fingers or the hex key (14), adjust the tilt angle, then tighten the knob to keep your TV in place.
STEP 10 – Adjust the level
- Loosen the locking screw (12).
- Turn the leveling screw (L) with a Phillips screwdriver to level your TV.
- Retighten the screw (12).

Removing your TV from the wall mount
- Disconnect all cables, then pull down the release cord located below the vertical bracket to unlock your TV from the vertical bracket.
- Use the hex key (14)to remove the locking screw (12) from the arm assembly (see STEP 8 – Attach your TV to the arm assembly on page 22).
- Lift your TV off the arm assembly.
For customer service, call: 1-800-620-2790 (U.S. and Canada)
LIFETIME LIMITED WARRANTY
Definitions:
The Distributor* of Rocketfish branded products warrants to you, the original purchaser of this new Rocketfish-branded product (“Product”), that the Product shall be free of defects in the original manufacturer of the material or workmanship for a period of one (1) year from the date of your purchase of the Product (“Warranty Period”).
For this warranty to apply, your Product must be purchased in the United States or Canada from a Best Buy branded retail store or online at www.bestbuy.com or www.bestbuy.ca and is packaged with this warranty statement.
How long does the coverage last?
The Warranty Period lasts for the useful life of the Product beginning on the date you purchased the Product. Your purchase date is printed on the receipt you received with the Product. In the event the Distributor ceases to sell the covered Rocketfish-branded product, this Limited Lifetime Warranty shall terminate for that product and there shall be no repair or replacement of the Product.
What does this warranty cover?
During the Warranty Period, if the original manufacture of the material or workmanship of the Product is determined to be defective by an authorized Rocketfish repair center or store personnel, Rocketfish will (at its sole option): (1) repair the Product with new or rebuilt parts; or (2) replace the Product at no charge with new or rebuilt comparable products or parts. Products and parts replaced under this warranty become the property of Rocketfish and are not returned to you. If service of Products or parts are required after the Warranty Period expires, you must pay all labor and parts charges. This warranty lasts as long as you own your Rocketfish Product during the Warranty Period. Warranty coverage terminates if you sell or otherwise transfer the Product.
How to obtain warranty service?
If you purchased the Product at a Best Buy retail store location or from a Best Buy online website
(www.bestbuy.com or www.bestbuy.ca), please take your original receipt and the Product to any Best Buy store. Make sure that you place the Product in its original packaging or packaging that provides the same amount of protection as the original packaging.
To obtain warranty service, in the United States and Canada call 1-800-620-2790. Call agents may diagnose and correct the issue over the phone.
Where is the warranty valid?
This warranty is valid only in the United States and Canada at Best Buy branded retail stores or websites to the original purchaser of the product in the country where the original purchase was made.
What does the warranty not cover?
This warranty does not cover:
- Customer instruction/education
- Installation
- Set up adjustments
- Cosmetic damage
- Damage due to weather, lightning, and other acts of God, such as power surges
- Accidental damage
- Misuse
- Abuse
- Negligence
- Commercial purposes/use, including but not limited to use in a place of business or in communal areas of a multiple dwelling condominium or apartment complex, or
- otherwise used in a place of other than a private home.
- Unauthorized modification of any part of the Product, including the antenna
- Display panel damaged by static (non-moving) images applied for lengthy periods (burn-in).
- Damage due to incorrect operation or maintenance
- Connection to an incorrect voltage or power supply
- Attempted repair by any person not authorized by Rocketfish to service the Product
- Products sold “as is” or “with all faults”
- Consumables, including but not limited to batteries (i.e. AA, AAA, C etc.)
- Products, where the factory applied serial number, has been altered or removed
- Loss or Theft of this product or any part of the product
- Display panels containing up to three (3) pixel failures (dots that are dark or incorrectly illuminated) grouped in an area smaller than one-tenth (1/10) of the display size or up to five (5) pixel failures throughout the display. (Pixel-based displays may contain a limited number of pixels that may not function normally.)
- Failures or Damage caused by any contact including but not limited to liquids, gels or pastes.
REPAIR REPLACEMENT AS PROVIDED UNDER THIS WARRANTY IS YOUR EXCLUSIVE REMEDY FOR BREACH OF WARRANTY. ROCKETFISH SHALL NOT BE LIABLE FOR ANY INCIDENTAL OR CONSEQUENTIAL DAMAGES FOR THE BREACH OF ANY EXPRESS OR IMPLIED WARRANTY ON THIS PRODUCT, INCLUDING, BUT NOT LIMITED TO, LOST DATA, LOSS OF USE OF YOUR PRODUCT, LOST BUSINESS OR LOST PROFITS. ROCKETFISH PRODUCTS MAKES NO OTHER EXPRESS WARRANTIES WITH RESPECT TO THE PRODUCT, ALL EXPRESS AND IMPLIED WARRANTIES FOR THE PRODUCT, INCLUDING BUT NOT LIMITED TO ANY IMPLIED WARRANTIES OF AND CONDITIONS OF MERCHANTABILITY AND FITNESS FOR A PARTICULAR PURPOSE, ARE LIMITED IN DURATION TO THE WARRANTY PERIOD SET FORTH ABOVE AND NO WARRANTIES, WHETHER EXPRESS OR IMPLIED, WILL APPLY AFTER THE WARRANTY PERIOD. SOME STATES, PROVINCES AND JURISDICTIONS DO NOT ALLOW LIMITATIONS ON HOW LONG AN IMPLIED WARRANTY LASTS, SO THE ABOVE LIMITATION MAY NOT APPLY TO YOU. THIS WARRANTY GIVES YOU SPECIFIC LEGAL RIGHTS, AND YOU MAY ALSO HAVE OTHER RIGHTS, WHICH VARY FROM STATE TO STATE OR PROVINCE TO PROVINCE.
Contact Rocketfish:
1-800 620-2790
www.rocketfishproducts.com
Rocketfish is a trademark of Best Buy and its affiliated companies.
*Distributed by Best Buy Purchasing, LLC
7601 Penn Ave South, Richfield, MN 55423 U.S.A.
©2019 Best Buy. All rights reserved.
Made in China
FAQS
Does this particular mount attach on one stud or two?
This attaches to two studs. Two lags in each stud.
when pressed flat against the wall, what is the depth from the wall?
it is 2 1/2″ out
My houses studs are 24″ apart, this big enough for that?
Yes, that will work
Can you mount this outside?
Yes you can, its all made of metal and you are putting a TV or Screen on it meaning no water is going to directly hit the metal, however is coated with black paint, it won’t rust.
Does this work on 24” studs?
Yes
does this fits for tv with 83 inch which weigh 93 pound & 400×400 vesa?
This mount is rated for to up 100 lbs and a tv up to 75″.
Does arm assembly have to in the exact center of wall plate?
No
Does it work with 55″ roku tv?
Yes it should work. It fits any flat-screen TV between 40″-75″.
Can this be mounted on a brick fireplace?
If you have the right mounting hardware it can be mounted on brick or in a stone surface
It says this is for 40″ – 75″ tvs. will this fit a 39″ tv or is it too big?
Yes it will fit once is VESA
Can this lock in place?
It does NOT lock in place, but it stays in place wherever it’s placed. Very good quality.
Will this work for a Samsung 50″ TV?
Yes it will….quite easily in fact.
Can I install my TV on a concrete wall?
Yes, as long as it is a solid concrete wall. Do not install on drywall alone.
Can I install my TV on a brick wall?
Yes, as long as it is a solid brick wall. Do not install on drywall alone.
Can I install this mount to a wood stud?
Yes, as long as the wood studs are at least 2″ x 4″ or larger.
Can I use this mount with an articulating arm?
No, this mount is not compatible with articulating arms.
How much weight can a rocketfish TV mount hold?
Up to 100 lbs. for sturdy support.
Does rocketfish TV mount work with Samsung?
Yes, the mount is compatible with a 50″ Samsung TV.
Is rocketfish VESA compliant?
Universal for high-quality mounting up to 700×400. *To obtain additional screws for your product, please call 1-800-620-2790.
Should a wall mounted TV be tilted?
A wall-mounted TV should only be tilted when glare from room lights or nearby windows creates a problem viewing the screen. If there are no problems with room reflections and the TV is installed at eye level, there should be no need to tilt the screen.
What is the best wall mount for a 75 inch TV?
The overall best TV mount for 75-inch TVs is the USX Mount Full-Motion TV Wall Mount. The amount of value you get from this mount compared to its price is unparalleled. It achieves a small footprint while providing the widest range of motion.
Can you hang a 75 inch TV on the wall?
The answer to this is yes, you can mount your XL TV on the wall. Safety is paramount, of course.
How high do you mount a TV?
The common rule is that a 42” TV should be mounted about 56 inches from the floor to the center of the TV, a 55” should be 61 inches, a 65” should be 65, and a 70” should be 67 inches from the floor to the middle of the TV. As you can see, the larger the television, the higher it should be hung.
Why is my TV mount crooked?
Additionally, you will want to make sure the wall does not have a slant or have some crooked parts to it. Surprisingly, there are many times little items, such as a loose bolt, will cause a TV to be crooked.
