Contents
RIVER OF GOODS 20597 Julian 1 Light Gold Metal Accent Lamp

Product Information
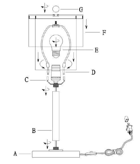
This product is a portable lamp designed for indoor use. It comes with the following parts:
- Base A
- Post B
- Assembly C
- Harp D
- Harp Holder C
- Shade F
- Finial G
The lamp requires a bulb to function. It is compatible with E26 Type A bulbs with a maximum wattage of 60W or E26 CFL bulbs with a maximum wattage of 13W. The bulb is not included in the package.
Product Usage Instructions
- Find a flat and smooth surface to assemble the lamp.
- Attach Post B to Base A.
- Attach Assembly C to Post B.
- Clip Harp D to Harp Holder C by squeezing the two posts together.
- Mount Shade F onto the lamp and secure it with Finial G.
- Install the appropriate bulb into the lamp. Make sure to use an E26 Type A bulb with a maximum wattage of 60W or an E26 CFL bulb with a maximum wattage of 13W. Note that the bulb is not included.
Caution: Before installing the bulb, refer to the wattage caution label located near the lamp holder to ensure you do not exceed the maximum wattage specified. Using a bulb with higher wattage can be dangerous.
Warning: Never attempt to replace the bulb while the lamp is plugged into a wall receptacle. Make sure to unplug the lamp before changing the bulb to avoid the risk of electric shock.
Care Instructions: To clean the lamp, use only a soft cloth. Do not use any chemicals or abrasive cleaners as they may damage the lamp’s surface.
Important Safety Instructions
This portable lamp has a polarized plug, where one blade is wider than the other. This design is a safety feature to reduce the risk of electric shock. The plug will fit into a polarized outlet in only one way. If the plug does not fit fully into the outlet, reverse the plug. If it still does not fit, contact a qualified electrician. Never use an extension cord unless the plug can be fully inserted. Do not alter the plug in any way.
ASSEMBLY INSTRUCTIONS
- Place all parts on a flat smooth surface
- Attach Post “B” To Base “A”
- Attach Assembly “C” To Post “B”
- Clip Harp “D” To Harp Holder “C” Squeezing The Two Posts.
- Mount Shade “F” And Secure With Finial “G”
- Install Bulb “E”(Not included)
CAUTION – Refer to the wattage caution label located near the lamp holder for maximum wattage – do not exceed the maximum wattage.
WARNING – Do not attempt to replace the bulb(s) while the lamp is plugged into a wall receptacle
CARE INSTRUCTIONS – Use only a soft cloth; do not use any chemicals or abrasive cleaners.
IMPORTANT SAFETY INSTRUCTIONS
This portable lamp has a polarized plug (one blade is wider than the other) as a safety feature to reduce the risk of electric shock. This plug will fit in a polarized outlet only one way. If the plug does not fit fully in the outlet, reverse the plug. If it still does not fit it, contact a qualified electrician. Never use with an extension cord unless plug can be fully inserted. Do not alter the plug.
E26 Type A.60W X 1 (Not included)
E26 CFL 13W X 1 (Not included)
