Contents
ricoo S7244 TV Wall Mount Bracket 32 65 Inches

Assembly Instructions
Warning: Do not exceed the listed load weight. Property damage or serious injury may occur!
WIGHT

- Please check BEFORE installation distance between VESA mounting holes on your display!
- This screen mount supports VESA hole distance in the minimum and maximum distance ranges given above.
- VESA – Hole distance = Distances between the mounting holes on the screen back.
Dear customer,
- we are pleased that you have decided on a product of the brand “RICOO”.
- Sometimes, despite our efforts to provide you with a high-quality product, it may happen that an accessory is missing or a part is damaged during transport. Please do not return the item in such a case, simply request replacement for the missing or damaged
- part at our customer hotline. Contact details from our customer hotline are listed below.
- When contacting us, please mention the article data (listed on top), article color as well as the required spare part numbers (including the required quantity of items), as indicated in the “Scope of delivery” section of this manual.
- Please keep ready your order number/order ID for our customer hotline. We will process your request immediately!
Scope of delivery
PARTS

The numbering on the plastic bag may differ/missing completely!
NOTE: Read the entire instruction manual before you start installation and assembly.
- EN ENGLISH NOTE: Read the entire instruction manual before you start installation and assembly
- Please note: Images in these assembly instructions are only technical presentations of the product. Actual product design may vary minimally.
- Do not begin the installation until you have read and understood all the instructions and warnings contained in this installation sheet. If you have any questions regarding any of the instructions or warnings, please contact your local distributor.
- This product was designed to be installed and used ONLY as specified in this manual. Improper installation of this product may cause damage or serious injury.
- This product may only be assembled/installed by the technical staff.
- Make sure that the supporting surface will safely support the combined weight of the equipment and all attached hardware and components.
- When mounting on the wooden beams wall, make sure that the fastening screws are anchored in the center of the beams. It is highly recommended to use a beam finder.
- Always use an assistant or mechanical lifting equipment to safely lift and position the equipment.
- Tighten screws firmly, but do not over-tighten. Over-tightening can cause damage the items, this greatly reduces their holding power.
- This product is intended for indoor use only. Using this product outdoors could lead to product failure and personal injury.
- By reason of the large television construction types on the market, we can’t adjust our screen installation materials for each screen type. Therefore it is possible that the screws which are numerously
delivered don’t fit with your TV/Monitor. We ask for your understanding that we can’t cover up all possibilities of many screen types. - Each wall is built up of different materials which can result from a special requirement. Therefore we are concentrating on the delivery of installation materials only for mass concrete walls. Use our
included installation accessories only for mass concrete walls. - If your walls have a special demand of materials, we advise you to ask in an expert shop for a suitable acquirement of the installation materials.
- Make sure that before and after the installation of the product neither you nor somebody else can be injured and other objects can be damaged. In case of doubt request for help from an expert.
- Make also sure that you and optionally the co-helper or representatives have registered the mounting instructions before the installation and also the warning notice.
Installation Instructions

Warning: Supplied plastic anchors are only suitable for solid concrete walls!


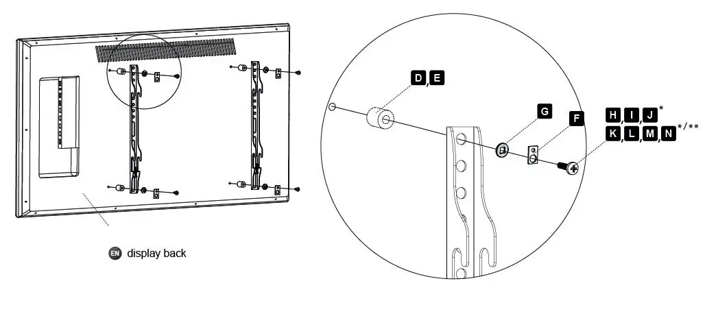
- Use the matching screws and spacers for your display.

- Use the matching screws and spacers for your display.
- If the screws “K, L, M, N” are too long, use the plastic spacers “D, E”. (like in Step 5 A)

- E.N.Z. Engineering GmbH, Salzmatten 6, 79341 Kenzingen (Germany)
- E-Mail: [email protected]. www.ricoo.eu.
