Contents
QAZQA jelena Fl 2 Modern Floor Steel Silver Lamp

Specifications
| Model | Jelena FL 2 |
|---|---|
| Product Codes | 105566 / 105567 / 105568 / 105569 / 105570 |
| Power Supply | 220-240V~ 50Hz |
| Ingress Protection | IP20 |
| Overall Sizes | Height: 150cm, Lampshade Diameter: 25cm, Lampshade Height: 29cm |
| Manufacturer | FittinQ LTD, 55 Baker Street, London, W1U 7EU, United Kingdom |
Safety Precautions and Symbols
Various symbols are present throughout the manual to denote specific safety precautions and product information. These include requirements for waterproof and dustproof rating (IP20), compliance marks (CE, UKCA), and safety instructions such as maximum distances from illuminated objects and maximum bulb wattage. The manual also specifies the fitting must be earthed (Protection Class I), and the armature is only compatible with the indicated voltage. Instructions for proper waste disposal are also included.
Symbol Descriptions
- IPXX – Indicates the level of water-proof and dust-proof.
- Protection Class I – The fitting must be earthed.
- Protection Class II – The fitting is doubled insulated and does not require earthing.
- Protection Class III – The fitting is low voltage.
- Minimum distance from lighted objects (meters) – Indicates required clearance from illuminated objects.
- The type of lamp and maximum size and wattage indicated must not be exceeded.
- The armature is designed to work only with the indicated voltage.
- The luminaire can be used in combination with a dimmer.
- The luminaire can be dimmed by wall switch.
- The reference light angle and light space of the luminaire.
- This luminaire cannot be disposed of with normal domestic waste.
Wire Connection Symbols
- DE (Germany) / GB (UK) / FR (France) / NL (Netherlands)
- L – Live conductor / Earth conductor / Conductor (terre) / Spannings-voerende draad
- SE (Sweden) / FI (Finland) / IT (Italy) / ES (Spain)
- N – Neutral conductor / Nolljohtadin / Conduttore neutro / Conductor neutro
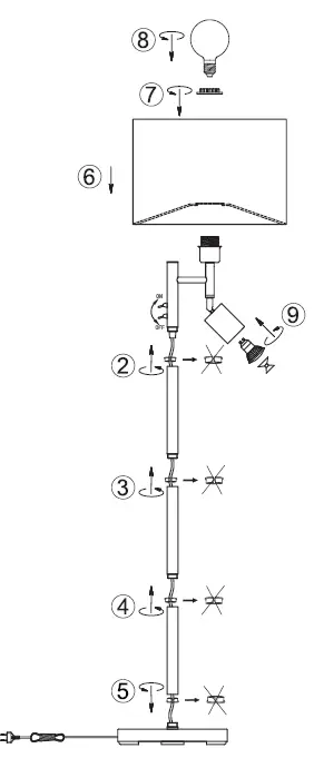
Installation Diagram
The installation diagram provides a visual representation of the assembly process for the Jelena FL 2 lamp. It includes a series of numbered steps, from mounting the bracket (1) to connecting the power supply (10). Specific attention should be given to the orientation and order of parts during assembly.
Overall Sizes
The diagram on the top right of the first page provides the overall dimensions of the lamp. The height is indicated as 150cm, the lampshade’s diameter is 25cm, and the height of the lampshade is 29cm. The dimensions are critical for ensuring that the lamp fits in the intended space.
Manufacturer Information
The manufacturer of the lamp is FittinQ LTD, located at 55 Baker Street, London, W1U 7EU, United Kingdom. There is also a mention of FittinQ B.V., located at Smaragdweg 52, 5527 LB Hapert, The Netherlands.
FAQ
- What is the IP rating of the Jelena FL 2 lamp?
- The Jelena FL 2 lamp has an IP rating of IP20.
- Can the Jelena FL 2 lamp be installed outdoors?
- No, the lamp is not suitable for outdoor installation, especially during rain, as indicated by the IP20 rating and the safety instructions.
- Is the Jelena FL 2 compatible with dimmer switches?
- Yes, the luminaire can be used with a dimmer and can be dimmed by a wall switch as per the symbols provided in the manual.
- How should I dispose of the Jelena FL 2 lamp?
- The luminaire cannot be disposed of with normal domestic waste and should be brought to a staging area for electrical waste.
- What should be considered when connecting wires?
- It is important to take note of the symbols when connecting wires to ensure proper electrical connection. The ‘L’ denotes the live conductor, while ‘N’ denotes the neutral conductor, with specific terms provided for various countries.
Safety Precautions and Symbols

Installation Diagram

Overall Sizes

ON/OFF


SAFETY INSTRUCTION
Please study the instruction manual and the below information carefully before installing or using this product. Please keep this user manual for further reference
- The luminaires may only be installed by authorized and qualified technicians according to the valid regulations for electrical installation.
- Maintenance of the luminaires is limited to their surfaces. During maintenance, no moisture can come into contact with any areas of the terminal connections or voltage control parts.
- The electrical supply must be switched off at the outset, preferably by means of a switch in the distribution box, before any installation, maintenance or repair work is undertaken.
- Exterior lighting must not be installed during rain.
- Take account of the minimal separation distance from other objects and the room required around the fitting.
- If in any doubt, consult a professional, taking local installation requirements into account. Some countries stipulate that lighting may be installed only by registered installers.
- Clamping screws in electrical connections must be adequately tightened. This is particularly the case with 12V low-voltage conductors.
- Clean with a clean, dry cloth or brush, use no solvents or abrasives. Avoid dampness on all electrical components
- Take account of all available technical information.
- Meaning of symbols
This icon indicates the level of water-proof and dust-proof
Protection Class I: the fitting must be earthed
Protection Class II: the fitting is doubled insulated and does not require earthing
Protection Class Ill: the fitting is low-voltage
Minimum distance from lighted objects (meters)
The type of lamp and maximum size and wattage indicated in each lighting unit must not be exceeded; different items require different kind of light sources with different bulb icons
The armature is designed to work only with the indicated voltage. Different items require different working voltage
The luminaire can be used in combination with a dimmer
The luminaire can be dimmed by a wall switch
The reference light angle and light space of the luminaire
This luminaire cannot be disposed of together with normal domestic waste in a standard rubbish can, but you have to bring it to a staging area for electrical waste
Take note of the symbols when connecting wires
Live conductor
Earth conductor
Neutra conductor

CONTACT
- FittinQ B.V.
- Smaragdweg 52, 5527 LB Haper!, The Netherlands
- www.qazqa.nl
- 55 Baker Street,
- Londo n, Wl U 7EU
- United Kingdom