Contents
QAZQA 96899 Facil CL Lampenlicht Light

Safety Precautions

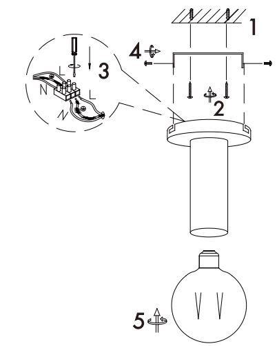
Wiring
Facil CL

DIMENSION

SAFETY INSTRUCTION
Please study the instruction manual and the below information carefully before installing or using this product. Please keep this user manual for further reference
- The luminaires may only be installed by authorized and qualified technicians according to the valid regulations for electrical installation.
- Maintenance of the luminaires is limited to their surfaces. During maintenance, no moisture can come into contact with any areas of the terminal connections or voltage control parts.
- The electrical supply must be switched off at the outset, preferably using a switch in the distribution box, before any installation, maintenance or repair work is undertaken.
- Exterior lighting must not be installed during rain.
- Take account of the minimal separation distance from other objects and the room required around the fitting.
- If in any doubt, consult a professional, taking local installation requirements into account. Some countries stipulate that lighting may be installed only by registered installers.
- Clamping screws in electrical connections must be adequately tightened. This is particularly the case with 12V low voltage conductors.
- Clean with a clean, dry cloth or brush, use no solvents or abrasives. Avoid dampness on all electrical components
- Take account of all available technical information.
- Meaning of symbols:
This icon indicates the level of water-proof and dust-proof
Protection Class I: the fitting must be earthed
Protection Class II: the fitting is doubled insulated and does not require earthing
Protection Class III: the fitting is low-voltage
Minimum distance from lighted objects (meters)
The type of lamp and maximum size and wattage indicated in each lighting unit must not be exceeded; different items require different kinds of light sources with different bulb icons
The armature is designed to work only with the indicated voltage. Different items require different working voltages.
The luminaire can be used in combination with a dimmer
The luminaire can be dimmed by a wall switch
The reference light angle and light space of the luminaire
This luminaire cannot be disposed of together with normal domestic waste in a standard rubbish can, but you have to bring it to a staging area for electrical waste
- Take note of the symbols when connecting wires:

CONTACT
- FittinQ B.V.
- Smaragdweg 52, 5527 LB Hapert,
- The Netherlands
- www.qazqa.nl.
- FittinQ LTD
- 55 Baker Street,
- London, WIU 7EU
- United Kingdom