
Contents
BLUETOOTH PORTABLE USB SUITCASE TURNTABLE

MODEL: JP-0303BB
PLEASE READ CAREFULLY BEFORE OPERATING THIS EQUIPMENT KEEP IT IN A SAFE PLACE FOR FUTURE REFERENCE
This product has been manufactured and sold under the responsibility of CURTIS INTERNATIONAL LTD.
PROSCAN, and the PROSCAN logo are trademarks used under license by CURTIS INTERNATIONAL LTD. – further information at www.proscan-brand.com.
All other products, services, companies, trademarks, trade or product names and logos referenced herein are the property of their respective owners.
IMPORTANT INSTRUCTIONS
![]() |
CAUTION | ![]() |
| RISK OF ELECTRIC SHOCK DO NOT OPEN |
||
| CAUTION: TO REDUCE THE ELECTRIC SHOCK, DO NOT REMOVE THE COVER (OR BACK). NO USER SERVICEABLE PARTS INSIDE. REFER SERVICING TO QUALIFIED SERVICE PERSONNEL. | ||
DANGEROUS VOLTAGE: The lightning flash with arrowhead symbol within an equilateral triangle is intended to alert the user to the presence of uninsulated “dangerous voltage” within the product’s enclosure that may be of sufficient magnitude to constitute a risk of electric shock to persons.
ATTENTION: The exclamation point within an equilateral triangle is intended to alert the user to the presence of important operating and maintenance (servicing) instructions in the literature accompanying the appliance.
FCC STATEMENT:
This device complies with part 15 of the FCC Rules. Operation is subject to the following two conditions:
(1)This device may not cause harmful interference, and
(2)This device must accept any interference received, including interference that may cause undesired operation. The antenna(s) used for this transmitter must be installed to provide a separation distance of at least 20cm. from all persons and must not be co-located or operated in conjunction with any other antenna or transmitter.
FCC NOTE:
This equipment has been tested and found to comply with the limits for a Class B digital device, pursuant to Part 15 of the FCC Rules. These limits are designed to provide reasonable protection against harmful interference in a residential installation. This equipment generates, uses and can radiate radio frequency energy and, if not installed and used in accordance with the instructions, may cause harmful interference to radio communications. However, there is no guarantee that interference will not occur in a particular installation. If this equipment does cause harmful interference to radio or television reception, which can be determined by turning the equipment off and on, the user is encouraged to try to correct the interference by one or more of the following measures:
— Reorient or relocate the receiving antenna.
— Increase the separation between the equipment and receiver.
— Connect the equipment into an outlet on a circuit different from that to which the receiver is connected.
— Consult the dealer or an experienced radio/TV technician for help.
To assure continued operation, follow the attached installation instructions and use only shielded cables when connecting to other devices. Changes or modifications not expressly approved by the party responsible for compliance could void the user’s authority to operate the equipment.
WARNING: TO PREVENT FIRE OR SHOCK HAZARD, DO NOT EXPOSE THIS UNIT TO RAIN OR MOISTURE.
WARNING: USE UNDER SUPERVISION OF AN ADULT DUE TO LONG CORD. This unit has a long cord that can be easily tripped on or pulled on, causing injury. Please make sure it is arranged no that it will not drape over a tabletop, etc., where it can be pulled on by children or tripped over accidentally.
INDUSTRY CANADA CONFORMITY
CAN ICES-3 (B)/NMB-3(B)
Industry Canada Notice
This device contains licence-exempt transmitter(s)/receiver(s) that comply with Innovation, Science and Economic Development Canada’s licence-exempt RSS(s). Operation is subject to the following two conditions:
(1) This device may not cause interference.
(2) This device must accept any interference, including interference that may cause undesired operation of the device.
Changes or modifications not expressly approved by the party responsible for compliance could void the user’s authority to operate the equipment.
ISED RF Exposure statement
This equipment complies with ISED radiation exposure limits net forth for an uncontrolled environment. In order to avoid the possibility of exceeding the ISED radio frequency exposure limits, human proximity to the antenna shall not be less than 20 cm (7.9 inches) during normal operation.
WARNING!
- The ventilation should not be impeded by covering the ventilation openings with items such as newspapers, table-cloths, curtains, etc.
- No naked flame sources, such as lighted candles, should be placed on the apparatus.
- The use of apparatus in moderate climates.
- The apparatus should not be exposed to dripping or splashing.
- Ensure a minimum distance of 5cm around the apparatus for sufficient ventilation.
- Do not place objects filled with liquids, such as vases, on the apparatus.
- The marking plate is located on the back of unit.
- Under the influence of electrical fast transient or/and electrostatic phenomenon, the product may malfunction and require user to power reset.
- The power plug is used as a disconnect device and must be easily accessible. To be completely disconnected from the power, the plug of the appliance should be disconnected completely. The socket must not be obstructed and should be easily accessible during intended use.
If at any time in the future you should need to dispose of this product please note that Waste electrical products should not be disposed of with household waste. Please recycle where facilities exist. Check with your Local Authority or retailer for recycling advice. (Waste Electrical and Electronic Equipment Directive)
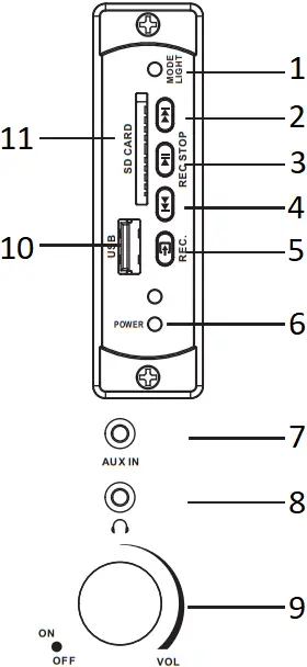
PRODUCT OVERVIEW

- Cue Lever
- Speed Indicator
- Speed Selector
- Tone Arm Rest
- Hold Down Clip
- Tone Arm
- Cartridge
- Spindle
- Platter

- MODE Lamp
- Next Button
- Play/Stop &REA STOP Button
- Previous Button
- Source/REC. Button
- POWER Lamp
- AUX IN Jack
- Earphone Jack
- POWER/VOL
- USB Slot
- SD CARD Slot

- Power Socket
- RCA Audio Out

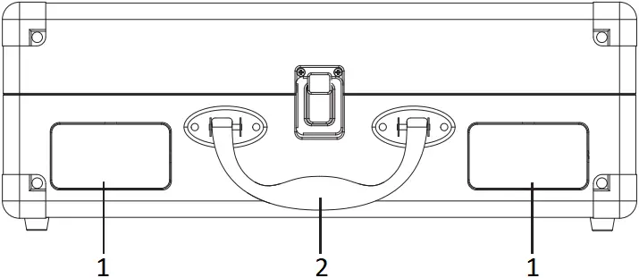
- Speaker
- Carry Handle
GENERAL OPERATIONS
Turn on/off the unit
1. Plug the small end of the power plug into your turntable, the big one to the well outlet.

- AC adaptor
- To AC outlet
Note: The supplied AC adaptor is suitable for use on AC main supplies of 100-240V AC and should only be connected to a mains supply within these parameters.
2. Rotate the POWER/VOL switch clockwise until a “click” is heard. then the POWER lamp will turn red, which means the unit is powered on.
3. To turn off the unit, rotate the POWER/VOL switch counter-clockwise until a “click” is heard to turn off the unit. The POWER lamp turns off, which means the unit is powered off.
During the playback (Turntable mode excluded)
- Press
button to pause; press it again to resume playback. - Press
button to skip forward to the next track or repeatedly to several tracks.
Press
button to previous track, or press repeatedly to skip backwards several tracks.
Using earphones
- Insert the plug of the earphones into the Earphone jack.
- Start playback in anyway supported by the unit
- Switch the POWER/VOL knob to a rather lower level, and then increase the volume to your preferred level.
To prevent possible hearing damage, do not listen at high volume levels for long periods.
Using an external amplifier
1. Insert one end of the RCA cable to the AUX IN port on an external amplifier or other devices the other into the LINE OUT ports on the unit. (cable not supplied)

2. Start playback in anyway supported by the unit.
3. Switch the POWER/VOL knob to a rather low level, and then increase the volume to your preferred level.
NOTE: Special attention should be paid to match the colors when inserting the Wo terminals into the LINE OUT ports (red to red, white to white).
STEP-BY-STEP OPERATIONS
If you are intend to use another audio input source make sure to stop and remove the current one first, or it will cause playback disorder.
Listen to the Turntable
- Remove the stylus cover from the stylus and release the Tone arm from the Tone arm rest.
- Place a record on the turntable platter and select the specified speed (33⅓ 45 or 78) according to the record. If you are playing 45RPM singles, place the 45 RPM adapter on the center spindle. The speed Indicator illuminates, indicating different speeds. Green: 33⅓ RPM; Maya blue: 45 RPM; Pale cyan: 78 RPM.
- Push up the lift lever to raise the tone arm and gently move the tone arm to the desired position onto the record. Push down the lift lever to let the tone arm slowly onto the record to start playing the record.
- Adjust the volume control to your desired level.
- The record will stop automatically when the played is finished, and you must return the tone arm to the arm rest manually.
IMPORTANT: Do not turn or stop the Turntable platter manually. Moving or jarring the Turntable platter without securing the Tone Arm Clamp could result in damage to the Tone Arm or Stylus.
Listen to the USB device/SD card
1. Connect a USB device/ SD card containing MP3 files or MP3 player to the USB port/ SD card slot.

2. The device will start to playback automatically (If not, press the
/REC. button until the unit begins to play) The MODE lamp will start to blink and keep blinking fairly fast until the playing is stopped.
3. Adjust the volume to your desired level.
Removing the USB device/SD card
Please be sure to press PLAY/PAUSE button and turn the unit OFF before removing the USB device/SD card to avoid damage the USB/SD card and system.
Note:
* The player is able to play the audio items stored in the USB device/SD card which is inserted into the corresponding slot before the player is turned on.
*There are many USB devices/SD card in the market. We cannot guarantee to support all different models. Please to another if it is not supported.
* The unit might not support all multimedia files stored in USB/SD card. Some special tracks may be not compatible and cannot be played.
Bluetooth operation
- Press the
/REC. button to switch between USB/SD and BT. The blue MODE lamp will blink when switching to the Bluetooth mode. - Activate the Bluetooth function on your external Bluetooth device (cell phone or other music device)
- Select the pairing name “Pro PTT105BT” from the devices list on your external device and tap it. If the pass code is required on some device, enter the password ‘0000’. If the pairing name does not appear in the device’s list, press the
/REC. button to switch to Bluetooth mode again. - Once paired successfully, the MODE lamp will stop blinking and turn to solid blue. Now you can enjoy the music from your cell phone or other devices with Bluetooth function.
- To disconnect the connection, tap “i” after the pairing name “Pro PTT105BT” and then “Disconnect”, or just turn off the Bluetooth function on the connected device, or press the
/REC. button on the unit to switch the input way. - Once the Bluetooth disconnected, the MODE lamp will go back to the blinking condition.
AUX IN mode
- Insert one end of the AUX cable to the earphone port on the external device, the other end into the AUX IN port on the unit. (cable not supplied)
- The MODE lamp will turn off, and the unit will switch to AUX IN mode automatically and start to play music from external device. (If not, press
/REC. button repeatedly until hearing music from the unit). - Adjust the volume to the desired level.
- To disconnect the connection, just turn off your external device and unplug the AUX cable from the unit. The MODE lamp start to blink, indicating the player is switching to Bluetooth mode.

Recording from Turntable Mode or AUX IN Mode
- Insert a USB/SD card into the USB port/SD card slot.(Make sure the USB device/SD card is rewritable and has enough space)
- Start playback in Turntable mode or AUX IN mode.
- Press and hold the
/REC. button for 3 seconds. Release the button and the the recording process starts. The MODE lamp will keep blinking rapidly when the recording is in process. - To stop recoding, press and hold the
REC button. The mode lamp lights up, indicating the recording process is stopped. The recorded track will be played automatically (put the tone arm away from the record and back to the arm net in Turntable mode)
OTHER INFORMATION
Replacing the Stylus Cartridge
Refer to figures 1-8

push the arm lock to release the tone-arm.

take an cap of the cartridge to expose the needle out.

separate the cartridge from the socket lightly.

take on the audio-line from the cartridges completely.

To fit a new cartridge, repeat process 3 & 4 in reverse order.
Note: Please exercise extreme care while performing this operation no as to avoid damaging the tone arm and audio line wires The Turntable’s cartridge needs to be replaced every 3 – 4 months after continuous playing. Replacement Ceramic type Cartridges are widely available from the internet.
Tips for better turntable performance
- When opening or closing the turntable cover, handle it gently, gripping it either at the center or at each side.
- Do not touch the needle tip with your fingers; avoid bumping the needle against the turntable platter or record edge.
- Frequently clean the needle tip-use a soft brush in a “back-to-front” motion only.
- If you must use a needle cleaning fluid, use very sparingly.
- Gently wipe the dust cover and turntable housing with a soft cloth. Use only a small amount of mild detergent to clean the turntable and dust cover.
- Never apply harsh chemicals or solvents to any part of the turntable system.
TROUBLESHOOTING
| PROBLEM | POSSIBLE CAUSE | POSSIBLE SOLUTION |
| No power | AC/DC Adapter not connected properly | Check the power connection and make sure it is in good condition. |
| No sound | Volume in minimum position | Raise volume level by switching the POWER/VOL knob (and raise the volume of connected/paired external device). |
| The paired/connected external device not in playback mode | Start playback on the external device. | |
| Input source unmatched | Press the /REC. button on the unit repeatedly to net the input source to the desired mode. |
|
| Sound distortion/rattle | Volume level too high | Reduce the volume level of the unit. Reduce the volume level of the paired/connected device. |
| Bad sound source | Replace with good sound source | |
| Stylus needle in had condition | Replace with a new one (it should be replaced every 3~4 months based on continues usage) | |
| Bluetooth connection failure | External device too far from the unit | Put the external BT device close to the unit. |
| Paired with another external device | Press the /REC button to disconnect the correct connection, and then pair the unit with the correct device by the steps stated in this manual. |
TECHNICAL SPECIFICATIONS
| Power input | AC 100 – 240V, 50/60Hz |
| Power output | 9V 1A |
| Dimensions | 350 x 255 x 127 mm |
| Speaker power | 5W x 2 |
| Speaker dimensions | 71 x 41 x 27 mm |
| Cartridge | Ceramic stereo |
| Speed | 33⅓, 45, 78 RPM |
| Sound input | Turntable, Bluetooth, USB/SD card, AUX IN |
| Sound output | Speakers, Earphones, RCA output |
| Net Weight | 2.4KGS |
| Gross Weight | 2.8KGS |
SPECIFICATIONS AND ACCESSORIES ARE SUBJECT TO CHANGE WITHOUT NOTICE
For service assistance and product information, please call: 1-800-968-9853.
Curtis International Ltd.
7045 BECKETT DRIVE, UNIT 15, MISSISSAUGA, ON, L5S 2A3
www.curtisint.com
To make a warranty claim, please email [email protected] or call 1-800-968-9853.
90 Day Warranty
This product is warranted to be free from defects in material and workmanship for a period of ninety (90) days from the date of original purchase. During this period, your exclusive remedy is repair or replacement of this product or component found to be defective, at our option; however, you are responsible for all costs associated with returning the product to us. If the product or component is no longer available, we will replace with a similar one of equal or greater value. Prior to a replacement being sent, the product must be rendered inoperable or returned to us.
This warranty does not cover glass, filters, wear from normal use, use not in conformity with the printed directions., or damage to the product resulting from accident, alteration, abuse, or misuse. This warranty extends only to the original consumer purchaser or gift recipient. Keep the original sales receipt, as proof of purchase is required to make a warranty claim. This warranty is void if the product is used for other than single-family household use or subjected to any voltage and waveform other than as on the specified rating on the label (e.g., 120V~60Hz).
We exclude all claims for special, incidental, and consequential damages caused by breach of express or implied warranty. All liability is limited to the amount of the purchase price. Every implied warranty, including any statutory warranty or condition of merchantability or fitness for a particular purpose, is disclaimed except to the extent prohibited by law, in which case such warranty or condition is limited to the duration of this written warranty. This warranty gives you specific legal rights. You may have other legal rights that vary depending on where you live. Some states or provinces do not allow limitations on implied warranties or special, incidental, or consequential damages, no the foregoing limitations may not apply to you.
For faster service, locate the model, type, and serial numbers on your appliance.
ATTACH YOUR PROOF OF PURCHASE HERE, PROOF OF PURCHASE IS REQUIRED TO OBTAIN WARRANTY SERVICE.
Please have the following information available when you contact the Support Team:
- Name, address and telephone number.
- Model number and serial number.
- A clear, detailed description of the problem.
- Proof of purchase including dealer or retailer name, address and date of purchase.
1A