PROGRESS LIGHTING P550134-31M 1 Light Matte Black Clear Glass Coastal Outdoor Hanging Lantern Instruction Manual

Home » PROGRESS LIGHTING » PROGRESS LIGHTING P550134-31M 1 Light Matte Black Clear Glass Coastal Outdoor Hanging Lantern Instruction Manual

PROGRESS LIGHTING P550134-31M 1 Light Matte Black Clear Glass Coastal Outdoor Hanging Lantern 

PROGRESS LIGHTING P550134-31M 1 Light Matte Black Clear Glass Coastal Outdoor Hanging Lantern

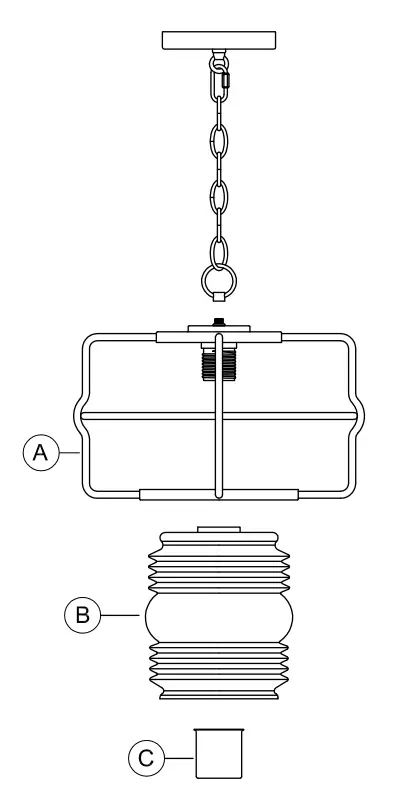
PACKAGE CONTENTS

Package Contents

PART

DESCRIPTION QUANTITY
A Fixture

1

B

Glass Shade 1
C Socket Ring

1

HARDWARE CONTENTS (not actual size)

  • Screw (#8-32) Qty:2
    Hardware Contents
  • Wire Nut Qty:3
    Hardware Contents
  • Swivel Mounting Strap Qty: 1
    Hardware Contents
  • Hex Nut {#8-32) Qty:2
    Hardware Contents
  • Cylinder Nut {#8-32) Qty:2
    Hardware Contents
  • Chain link Qty:1
    Hardware Contents
  • Chain (60″) Qty:1
    Hardware Contents
  • Quick link {#8-32) Qty:1
    Hardware Contents

THANK YOU for selecting Progress Lighting

Symbol We can assist you with questions regarding product information, assembly or missing parts

Icon 800-447-os73 8am-8pm (Eastern), Monday-Friday

Icon [email protected]

Symbol Safety Information

Please read and understand this entire manual before attempting to assemble, operate or install the product.
CAUTION: Read instructions carefully and turn electricity off at main circuit breaker panel before beginning installation.
CAUTION: Risk of fire. Min. 90°C supply conductors. Consult a qualified electrician to ensure correct branch circuit conductor.
WARNING: If any Special Control Devices are used with this fixture, follow instructions carefully to assure full compliance with
N.E.C. requirements. If there are any questions, contact a qualified electrical contractor.
CAUTION: All glass is fragile. Use care when handling glass shades and bulbs.

Preparation

  1. Before beginning installation, make sure all parts are included using the contents diagrams from page 1. If any part is missing
    or damaged, do not attempt to assemble, install or operate the product.
  2. Estimated assembly time: 30 minutes.
  3. Tools required for assembly (not included): Phillips screwdriver, pliers, wire stripper, safety glasses, electrical tape, ladder.

Care and Maintenance

Shut off main power supply before cleaning product or changing light bulbs. To clean, wipe with damp cloth. Do not use abrasive cleaners or cleaners that contain alcohol.

Assembly Instructions

  1. Loosely thread the screws (AA) and the hex nuts (DD) onto the swivel mounting strap (CC). You now need to adjust the screw length according to the fixture canopy depth.
    Assembly Instructions
  2. With the swivel bracket facing out, attach this assembly to the outlet box using the mounting screws supplied with the outlet box (not provided). Tighten securely.
    Assembly Instructions
    Lift up the fixture to the mounting surface and pass the screws (AA) through the two mounting holes in the fixture canopy. While holding the fixture with one hand, thread the screws (AA) in or out of the swivel mounting strap (CC) until 3/16″ of threads are showing. That should be enough to mount the fixture as instructed in step 4.
    Next, take the fixture down and go back and tighten the hex nuts (DD) up against the swivel mounting strap (CC). You now should have the correct length of threads for mounting the fixture.
    Assembly Instructions
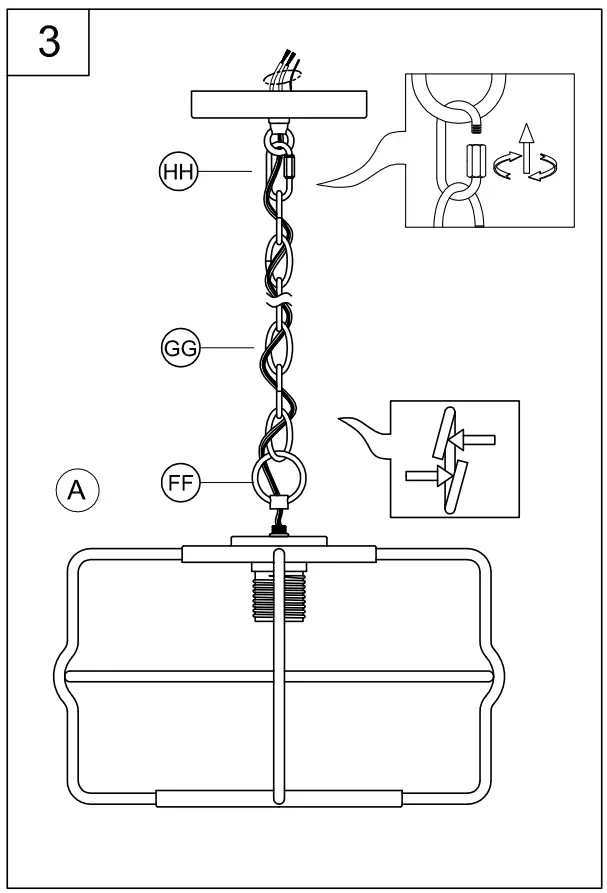
    NOTE: During this step, determine the hanging length of your fixture by removing chain links. The electrical and ground wire may also optionally be cut to length.
    Do NOT cut electrical or ground wires until this length is determined. Leave AT LEAST 6 inches MINIMUM of wire past the canopy loop to allow for easy connections in step 4.
    (Chain links can be spread open with 2 pairs of pliers. Twist the split link ends in opposite directions and close by squeezing them back together.)
  3. Once hanging length is determined, pass wires through chain loop (FF), then tighten the chain loop (FF) onto the fixture (A).
    Assembly Instructions
    Using pliers. open a chain link at one end of the chain (GG). Attach that end of the chain (GG) to the chain loop (FF) and close the chain links back together with the pliers. Attach the other end of the chain (GG) to the canopy loop using the quick link connector (HH). Continue to weave the wires through the chain links (GG) and up through the canopy.
  4. Strip 3/8″ of insulation from the electrical wire ends. Using wire nuts (BB), connect RIBBED fixture wire to the WHITE supply wire from the outlet box; connect the SMOOTH fixture wire to the BLACK supply wire.
    Assembly Instructions
    Connect the fixture ground wire and supply ground wire using a wire nut or by fastening to the ground screw on the round mounting plate. Push all wire connections into the outlet box.
  5. Slide the mounting holes in the fixture (A) over the screws (AA) and using the cylinder nuts (EE), tighten the fixture against the mounting surface.
    Assembly Instructions
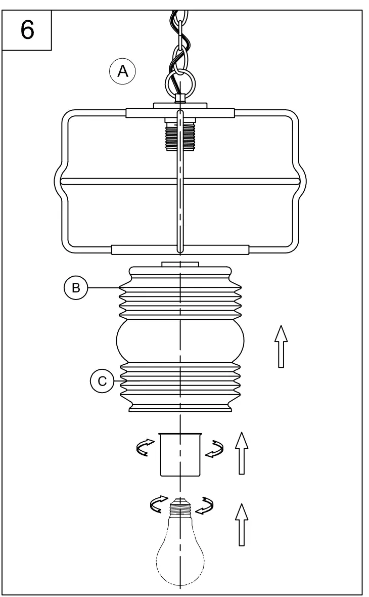
  6. Attach the glass shade (B) to the socket of fixture(A), use the socket ring (C) to secure tightly.
    Assembly Instructions
    Thread the lamps (not included) into the fixture sockets. Use 100-watt MAX incandescent medium base lamp, SBCFL or SBLED.

WARRANTY AND EXCLUSIVE REMEDY:

Progress products, when properly installed and under normal conditions of use, are warranted to our customers only to be free from defects in material and workmanship at time of shipment. All warranty claims must be asserted within one year from date of purchase of the subject items; thereafter, warranty claims will not be honored. Customers’ sole remedy for a warranty claim or otherwise shall be limited to repair or replacement of the subject product if it is shown to have been defective in material or workmanship at time of shipment. Progress’s sole and maximum liability for a defective product shall never exceed the cost of the subject product. EXCEPT FOR SUCH A WARRANTY AND EXCLUSIVE REMEDY AS STATED (AND THE EXPRESS WARRANTY OF TITLE), WE DISCLAIM ALL OTHER WARRANTIES, WHETHER EXPRESS OR IMPLIED, AND SPECIFICALLY DISCLAIM THE IMPLIED WARRANTIES OF MERCHANTABILITY AND FITNESS FOR A PARTICULAR PURPOSE. IN NO EVENT SHALL WE BE LIABLE TO CUSTOMER IN WARRANTY, CONTRACT, NEGLIGENCE, STRICT LIABILITY OR OTHERWISE, FOR ANY DAMAGES, WHETHER INCIDENTAL OR CONSEQUENTIAL, WHICH ARE ALLEGED TO BE CAUSED BY ONE OR MORE OF OUR PRODUCTS, BEYOND THE COST TO THE CUSTOMER OF THE SUBJECT PRODUCT OR PRODUCTS. Therefore, the customer’s sole and exclusive remedy against us for breach of the warranty, breach of contract or negligence or strict liability or otherwise shall be limited to repair or replacement of the subject product at our option (excluding installation and removal charges which shall not be our liability) or, if we choose, refund of the purchase price. In no case does our warranty and exclusive remedy extend to anybody other than our customers. Our customers are not authorized to extend warranties or remedies on our behalf to anyone. Such unauthorized extensions of warranties or remedies by the customer shall remain customer’s responsibility. Customer is responsible for determining the suitability of our products for customer’s use or resale, or for incorporating them into objects or for applications which customer designs, assembles, constructs or manufactures.

Logo

Leave a Comment