Contents
PROGRESS LIGHTING P350255-009 Parkhurst Flush Mount Ceiling Light

PACKAGE CONTENTS
| PART | DESCRIPTION | QUANTITY |
| A | Fixture | 1 |
| B | Glass shade | 1 |
| C | Screw | 3 |
HARDWARE CONTENTS (not actual size)

THANK YOU for selecting Progress Lighting
We can assist you with questions regarding product information, assembly or missing parts
- 800-447-os73
- 8am-8pm (Eastern), Monday-Friday
- [email protected]
& Safety Information
- Please read and understand this entire manual before attempting to assemble, operate or install the product. CAUTION: Read instructions carefully and turn electricity off at main circuit breaker panel before beginning installation.
- CAUTION: Risk of fire. Min. 90°C supply conductors. Consult a qualified electrician to ensure correct branch circuit conductor.
- WARNING: If any Special Control Devices are used with this fixture, follow instructions carefully to assure full compliance with N.E.C. requirements. If there are any questions, contact a qualified electrical contractor.
- CAUTION: All glass is fragile. Use care when handling glass shades and bulbs.
Preparation
- Before beginning installation, make sure all parts are included using the contents diagrams from page 1. If any part is missing or damaged, do not attempt to assemble, install or operate the product.
- Estimated assembly time: 30 minutes.
- Tools required for assembly (not included): Phillips screwdriver, pliers, wire stripper, safety glasses, electrical tape, ladder.
Care and Maintenance
Shut off main power supply before cleaning product or changing light bulbs. To clean, wipe with damp cloth. Do not use abrasive cleaners or cleaners that contain alcohol.
Assembly Instructions
- Loosely thread the screws (AA) and the hex nuts (DD) onto the round mounting plate (CC).

- Attach this assembly to the outlet box using the mounting screws supplied with the outlet box (not provided). Tighten securely.
- You now need to adjust the screw length (AA) according to the fixture canopy depth.
Lift up the fixture and pass the screws (AA) through the two mounting holes in the fixture canopy. While holding the fixture with one hand, thread the screws (AA) in or out of the round mounting plate (CC) until 3/16″ of threads are showing. That should be enough to mount the fixture as instructed in step 5.
Next, take the fixture down and go back and tighten the hex nuts (DD) up against the round mounting plate (CC). You now should have the correct length of threads for mounting the fixture.
- Strip 3/8″ of insulation from the electrical wire ends. Using wire nuts (BB), connect the WHITE fixture wire to the WHITE supply wire from the outlet box; connect the BLACK fixture wire to the BLACK supply wire from the outlet box.
Connect the fixture ground wire and supply ground wire using a wire nut or by fastening to the ground screw on the round mounting plate. Push all of the wire connections carefully into the outlet box.
- Slide the mounting holes in the fixture (A) over the screws (AA) and using the cylinder nuts (EE), tighten the fixture against the ceiling surface.

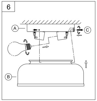
- Thread – lamps (not included) into the fixture sockets. Use 15 watt MAX medium base LED Lamps.
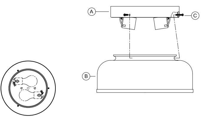
Attach the glass shade (B) into the canopy of the fixture (A) using the (3) thumb screws provided (C) to secure it tightly.
WARRANTY AND EXCLUSIVE REMEDY
Progress products, when properly installed and under normal conditions of use, are warranted to our customers only to be free from defects in material and workmanship at time of shipment. All warranty claims must be asserted within one year from date of purchase of the subject items; thereafter, warranty claims will not be honored. Customers’ sole remedy for a warranty claim or otherwise shall be limited to repair or replacement of the subject product if it is shown to have been defective in material or workmanship at time of shipment. Progress’s sole and maximum liability for a defective product shall never exceed the cost of the subject product. EXCEPT FOR SUCH A WARRANTY AND EXCLUSIVE REMEDY AS STATED (AND THE EXPRESS WARRANTY OF TITLEI, WE DISCLAIM ALL OTHER WARRANTIES, WHETHER EXPRESS OR IMPLIED, AND SPECIFICALLY DISCLAIM THE IMPLIED WARRANTIES OF MERCHANTABILITY AND FITNESS FOR A PARTICULAR PURPOSE. IN NO EVENT SHALL WE BE LIABLE TO CUSTOMER IN WARRANTY, CONTRACT, NEGLIGENCE, STRICT LIABILITY OR OTHERWISE, FOR ANY DAMAGES, WHETHER INCIDENTAL OR CONSEQUENTIAL, WHICH ARE ALLEGED TO BE CAUSED BY ONE OR MORE OF OUR PRODUCTS, BEYOND THE COST TO THE CUSTOMER OF THE SUBJECT PRODUCT OR PRODUCTS. Therefore, the customer’s sole and exclusive remedy against us for breach of the warranty, breach of contract or negligence or strict liability or otherwise shall be limited to repair or replacement of the subject product at our option (excluding installation and removal charges which shall not be our liability) or, if we choose, refund of the purchase price. In no case does our warranty and exclusive remedy extend to anybody other than our customers. Our customers are not authorized to extend warranties or remedies on our behalf to anyone. Such unauthorized extensions of warranties or remedies by the customer shall remain customer’s responsibility. Customer is responsible for determining the suitability of our products for customer’s use or resale, or for incorporating them into objects or for applications which customer designs, assembles, constructs or manufactures.
93165321 Page:3

