Contents
PENTAIR CSBURCXX CADDY Sway Bracing

Product Information: CADDY Sway Bracing
The CADDY Sway Bracing is available in various models:
- CSBURCXX
- CSBURCRXX
- CSBURC48XX
- CSBNPC12
Part Numbers and Article Numbers:
| Part Number | Article Number |
|---|---|
| CSBURC38 | 402198 |
| CSBURC12 | 402199 |
| CSBURC58 | 402200 |
| CSBURC4812 | 402204 |
| CSBURC4858 | 402205 |
| CSBURC4834 | 402206 |
| CSBURCR38 | 402201 |
| CSBURCR12 | 402202 |
| CSBURCR58 | 402203 |
| CSBNPC12 | 402208 |
Product Usage Instructions
Section 1: CSBURCXX, CSBURC48XX
- Step 1: Insert the fastener with washer through the fastener hole and tighten the CSBURC to the structure.
- Step 2: Insert the cable through a sleeve (ferrule), then through CSBURC, and back through the sleeve (ferrule).
- Note: Step 1 can be alternated with Steps 2 and 3, it is up to the installer’s preference.
- Step 3: The sleeve (ferrule) has to be swaged by using a swaging tool (CSB3346SB, CSB13SBHS, CSB48, or CSBHS02). Refer to the tool manufacturer’s instructions for the number of swages needed per cable.
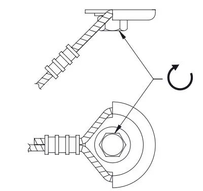
Section 2: CSBURCRXX
- Step 1: If using Red, #12, 3/32in (2.4mm) cable, use 1 each CSBURCR. If using White, #18, 1/8in (3.2mm) cable, use 2 each CSBURCR’s.
- Step 2: Loosen the nut on the fastener that the CSBURCR will be used with. Slide the CSBURCR in-between the washer and mounting surface.
- Step 3: Tighten the nut until tight.
- Step 4: Insert the cable through a sleeve (ferrule), then through CSBURCR, and back through the sleeve (ferrule).
- Note: Steps 2 and 3 can be alternated with Steps 4 and 5, it is up to the installer’s preference.
- Step 5: The sleeve (ferrule) has to be crimped by using a swaging tool (CSB3346SB, CSB13SBHS, CSB48, or CSBHS02). Refer to the tool manufacturer’s instructions for the number of swages needed per cable size.
Please refer to the product instruction sheets and training materials for detailed installation and usage guidelines. These materials can be found at www.erico.pentair.com.
WARNING:
- Pentair products shall be installed and used only as indicated in Pentair product instruction sheets and training materials. Instruction sheets are available at www.erico.pentair.com. Failure to follow these instructions may result in product damage, serious bodily injury, and/or death, and void your warranty.
- Products that are manufactured using spring steel components shall be used only in a non-corrosive indoor environment.
- All pipe supports, hangers, intermediate components, and structural attachments must ONLY be used as described herein and are NEVER to be used for any other purpose.
CADDY Sway Bracing
CSBURCXX, CSBURCRXX, CSBURC48XX, and CSBNPC12

| Part Number | Article Number |
| CSBURC38 | 402198 |
| CSBURC12 | 402199 |
| CSBURC58 | 402200 |
| CSBURC4812 | 402204 |
| CSBURC4858 | 402205 |
| CSBURC4834 | 402206 |
| Part Number | Article Number |
| CSBURCR38 | 402201 |
| CSBURCR12 | 402202 |
| CSBURCR58 | 402203 |
| Part Number | Article Number |
| CSBNPC12 | 402208 |
INSTRUCTION SHEET

WARNING:
- Pentair products shall be installed and used only as indicated in Pentair product instruction sheets and 1. training materials. Instruction sheets are available at www.erico.pentair.com and from your Pentair customer service representative.
- PENTAIR products must never be used for a purpose other than the purpose for which they were designed or in a manner that exceeds specified load ratings.
- All instructions must be completely followed to ensure proper and safe installation and performance.
- Improper installation, misuse, misapplication or other failure to completely follow Pantair’s instructions and warnings may cause product malfunction, property damage, serious bodily injury and/or death, and void your warranty.
- Products that are manufactured using spring steel components shall be used only in a non-corrosive indoor environment.
- All pipe supports, hangers, intermediate components and structural attachments must ONLY be used as described herein and are NEVER to be used for any other purpose.
NOTE: All load ratings are for static conditions and do not account for dynamic loading such as wind, water or seismic loads, unless otherwise noted.
The customer is responsible for:
- Conformance to all governing codes.
- The integrity of structures to which the products are attached, including their capability of safely accepting the loads imposed, as evaluated by a qualified engineer.
- Using appropriate industry standard hardware as noted above.
SAFETY INSTRUCTIONS
All governing codes and regulations and those required by the job site must be observed.
Always use appropriate safety equipment such as eye protection, hard hat, and gloves as appropriate to the application.
CSBURCXX, CSBURC48XX, 402198 – 402200, 402204 – 402206

Step 1- Insert fastener with washer through the fastener hole and tighten the CSBURC to the structure

Step 2 – Insert cable through a sleeve (ferrule), and then through CSBURC, and then back through the sleeve (ferrule).

Step 3 – The sleeve (ferrule) has to be swaged by using a swaging tool (CSB3346SB, CSB13SBHS, CSB48 or CSBHS02).
Refer to the tool manufacturers instructions for the number of swages needed per cable.
CSBURCRXX, 402201 – 402203

Step 1- If using Red, #12, 3/32in (2.4mm) cable, 1 each CSBURCR is used. If using White, #18, 1/8in (3.2mm) cable, 2 each CSBURCR’s are used.

Step 2 – Loosen the nut on the fastener that the CSBURCR will be used with. Slide the CSBURCR in-between the washer and mounting surface.

Step 3 – Tighten the nut until tight.

Step 4 – Insert cable through a sleeve (ferrule), and then through CSBURCR, and then back through the sleeve (ferrule).

Step 5 – The sleeve (ferrule) has to be crimped by using a swaging tool (CSB3346SB, CSB13SBHS, CSB48 or CSBHS02).
Refer to the tool manufacturers instructions for the number of swages needed per cable size.
CSBNPC12, 402208
Note: To be used with (Red, #12, 3/32in [2.4mm]), (White, #18, 1/8in [3.2mm]) and (Blue, #36, 3/16in [4.8mm]) cable.

Step 1 – Insert cable through a sleeve (ferrule), and then back through the sleeve (ferrule) to create a loop.

Step 2 – The sleeve (ferrule) has to be swaged by using a swaging tool (CSB3346SB, CSB13SBHS, or CSBHS02). Refer to the tool manufacturers instructions for the number of wages needed per cable size.

Step 3 – Insert fastener with washer through the fastener hole and screw into the structure. Leave space for cable loop to be inserted.

Step 4 – Put the loop in-between the CSBNPC12 and the structure. Then place the loop inside the recessed rim of CSBNPC12.

Step 5 – Tighten the CSBNPC12 to the structure.
Pentair, CADDY, ERICO CADWELD, ERICO CRITEC, ERICO, ERIFLEX, and LENTON are owned by Pentair or its global affiliates. All other trademarks are the property of their respective owners. Pentair reserves the right to change specifications without prior notice.
TECHNICAL SUPPORT: www.erico.pentair.com
© 2010 – 2017 Pentair All Rights Reserved


