Contents
peerless-AV KOP55XHB-A-EUK Smart City Digital Signage Display

Product Information
- Model: KOP55XHB-A-EUK, KOP55XHB-SA-EUK
- Screen Size: 55″ (140 cm)
- Maximum Weight: 150 lb (68 kg)
- Date: 2022-10-17
- Part Number: #150-9148-1
Product Usage Instructions
Warning
- ADVERTISSEMENT
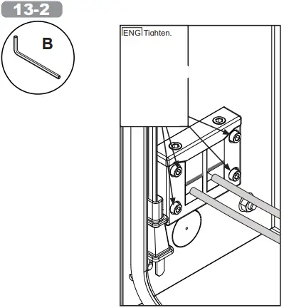
Tightening Screws
- To properly tighten screws: Tighten until screw head makes contact, then tighten another 1/2 turn. Do not overtighten screws.
Parts List
| Description | Qty | Part# |
|---|---|---|
| kiosk | 1 | 10013495-BLK (KOP55XHB-A) / 10013511-SLV (KOP55XHB-SA) |
| 4mm allen wrench | 1 | 560-9646 |
| cable tie | 12 | 560-1756 |
| adhesive cable tie mount pad | 8 | 600-1846 |
| display | 1 | XHB554 |
| M8 x 14mm screw | 8 | 520-0168 |
| velcro strap | 1 | 560-0931 |
| 6mm grommet | 1 | 410-1088-R |
| 5mm grommet | 1 | 410-1089-R |
| 8mm grommet | 1 | 410-1090-R |
| blank grommet | 3 | 410-1091-R |
| 4mm grommet | 1 | 410-1097-R |
Installation Requirements
- When installing Peerless mounts to threaded rods, the rods must be 1/2 diameter minimum, 70 KSI tensile strength. The hardware must be installed and supported per the manufacturer’s design specifications. Use only compatible hardware. Never exceed the maximum load capacity of threaded rods or their supporting surface. Consult a licensed and bonded professional engineer for requirements in your area.
FAQ
- What is the maximum weight this product can support?
The maximum weight this product can support is 150 lb (68 kg). - How should I tighten the screws?
To properly tighten the screws, tighten until the screw head makes contact, then tighten another 1/2 turn. Do not overtighten the screws. - What size threaded rods should I use when installing Peerless mounts?
When installing Peerless mounts to threaded rods, the rods must be at least 1/2 inch in diameter with a minimum tensile strength of 70 KSI.
WARNING
- Before installing make sure the supporting surface will support the combined load of the equipment and hardware. Screws must be tightly secured. Do not overtighten screws or damage can occur and product may fail. Never exceed the Maximum Load Capacity. Always use an assistant or mechanical lifting equipment to safely lift and position equipment. Although this product features a corrosion-resistant coating, it is not designed to withstand wind. In windy conditions, this product may fail, resulting in serious personal injury or death. For installations exposed to wind, contact customer care to select one of our wind-rated products. Be sure power cord is routed so that it will not be tripped on, stepped on, or pinched by heavy items. Avoid overloading electrical outlets or extension cords. Always disconnect the power cord from the power outlet when installing, servicing, or not using the product for an extended period of time. Do not block ventilation slots or fan exhaust on product. Blocking airflow could damage product. Arrange product to allow air to flow freely around product. For support please call 1-800-865-2112.
Symbols
WARNING
- Do not overtighten screws

- Front of mount

- Screws must get at least three full turns and fit snug.

Tools Needed for Assembly.

To properly tighten screws: Tighten until screw head makes contact, then tighten another 1/2 turn. Do not overtighten screws.
Parts (Before beginning, make sure you have all parts shown below
| Parts List
Description |
Qty |
KOP55XHB-A
Part# |
KOP55XHB-SA
Part# |
|
| A | kiosk | 1 | 10013495-BLK | 10013511-SLV |
| B | 4mm allen wrench | 1 | 560-9646 | 560-9646 |
| C | cable tie | 12 | 560-1756 | 560-1756 |
| D | adhesive cable tie mount pad | 8 | 600-1846 | 600-1846 |
| E | display | 1 | XHB554 | XHB554 |
| F | M8 x 14mm screw | 8 | 520-0168 | 520-0168 |
| G | velcro strap | 1 | 560-0931 | 560-0931 |
| H | 6mm grommet | 1 | 410-1088-R | 410-1088-R |
| I | 5mm grommet | 1 | 410-1089-R | 410-1089-R |
| J | 8mm grommet | 1 | 410-1090-R | 410-1090-R |
| K | blank grommet | 3 | 410-1091-R | 410-1091-R |
| L | 4mm grommet | 1 | 410-1097-R | 410-1097-R |
| M | 1 | 180-0620 | 180-0620 | |
| N | floor template | 1 | 10014011-TBLK | 10014011-TBLK |


INSTALLATION

- Caution: Remove bolts to disengage kiosk from pallet before installing product.

WARNING
- When installing Peerless mounts to threaded rods, the rods must be 1/2″ diameter minimum, 70 KSI tensile strength. The hardware must be installed and supported per the manufacturer’s design specifications. Use only compatible hardware. Never exceed maximum load capacity of threaded rods or their supporting surface. Consult a licensed and bonded professional engineer for requirements in your area




Remove

- This page intentionally left blank.


Replace.

Cable management





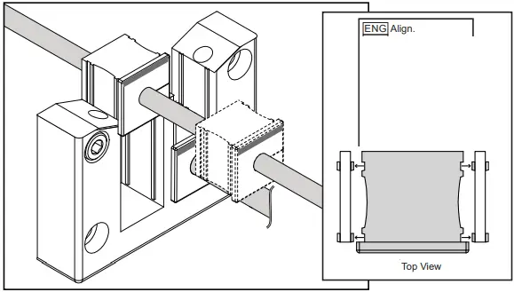
- Slide grommets into enclosure, aligning grooves of grommet with grooves in cable gland

CAUTION
- All spaces must be filled. Blank grommets must be used where no cable is inserted.


Replace
- This page intentionally left blank.
- Peerless-AV
- 2300 White Oak Circle
- Aurora, IL 60502
- Email: [email protected]
- Ph: 800-865-2112
- Fax: 800-359-6500
- www.peerless-av.com
- © 2022, Peerless Industries, Inc.
- Peerless-AV Europe
- Unit 3 Watford Interchange, Colonial Way, Watford, Herts, WD24 4WP, United Kingdom Customer Care
- 44 (0) 1923 200 100
- www.peerless-av.com
- © 2022, Peerless Industries, Inc.
