Contents
PARKSIDE PWS 125 F6 Angle Grinder

Product Information
- Product Name: Angle Grinder PWS 125 F6
- Manufacturer: Kompernass Handels GmbH
- Model Number: IAN 392682_2201
- Intended Use: Cutting and rough cutting of metal materials, concrete, and tiles without the use of water
- Commercial Use: Not intended for commercial use
Product Usage Instructions
- Familiarize yourself with the device: Before using the product, unfold the page containing the illustrations and familiarize yourself with all the functions of the angle grinder.
- Safety Precautions: Read the original operating instructions and safety instructions before using the appliance for the first time.
- Suitable Applications: The angle grinder is designed for cutting and rough cutting of metal materials, concrete, and tiles without the use of water. It is important to only use the product as described and for the specified range of applications.
- Improper Use: Any other usage or modification of the appliance is considered improper and carries a significant risk of accidents. The manufacturer does not accept responsibility for damage resulting from improper use.
- Commercial Use: The angle grinder is not intended for commercial use.
- Disc Safety: Using damaged cutting or roughing discs is dangerous and may cause serious injury. Always inspect the discs before use and replace any damaged discs.
- Maintenance and Cleaning: Refer to the maintenance and cleaning section in the user manual for instructions on how to properly maintain and clean the angle grinder.
- Disposal: Follow the disposal instructions provided in the user manual when disposing of the angle grinder.
- Warranty and Service: Contact Kompernass Handels GmbH for warranty and service-related inquiries.
- Translation of Conformity Declaration: Refer to the translated conformity declaration in the user manual for information on product compliance.
- Passing on Instructions: It is recommended to pass on these operating instructions to any future owner of the angle grinder. Please note that this is a general overview of the product information and usage instructions. For detailed instructions and safety guidelines, refer to the original operating instructions provided with the product.







Introduction
Congratulations on the purchase of your new appliance. You have chosen a high-quality product. The operating instructions are part of this product. They contain important information about safety, usage and disposal. Before using the product, please familiarize yourself with all of the operating and safety instructions. Use the product only as de-scribed and for the range of applications specified. Please also pass these operating instructions on to any future owner.
Intended use
The appliance is intended for the cutting and rough cutting of metal materials, concrete and tiles without the use of water. Any other usage or modification of the appliance is deemed to be improper and carries a significant risk of accidents. The manufacturer accepts no responsibility for damage resulting from improper use. The appliance is not intended for commercial use.
Explanation of the symbols used
![]() |
Before using the appliance for the first time, read the original operating instructions and safety instructions. |
![]() |
Using damaged cutting or roughing discs is dangerous and may cause serious injury! |
![]() |
Diameter of the disc |
![]() |
Angle grinder |
![]() |
Wear protective goggles! |
![]() |
Wear ear muffs! |
![]() |
Wear safety shoes! |
![]() |
Wear protective gloves! |
![]() |
Wear a dust mask! |
![]() |
Not approved for wet grinding |
![]() |
Not approved for side grinding |
![]() |
Suitable for grinding metal |
Features

- Speed setting wheel
- ON/OFF switch
- Safety lock-out
- Spare carbon brushes
- Carbon brush cover
- Additional handle
- 6a Tool holder for the two-hole assembly spanner
- Blade guard
- Mounting ring
- Screws
- Blade guard fixture
- Spindle locking button
- Thread (3x) for additional handle
- Clamping nut (see fig. B)

- Mounting spindle (see fig. B)
- Mounting flange (see fig. B)
- Two-hole assembly spanner (see fig. C)

- Bulges
- Plastic clip
- Protective cover
Package contents
- 1 angle grinder
- 1 additional handle
- 1 blade guard
- 1 two-hole assembly spanner
- 1 cutting disc
- 2 spare carbon brushes
- 1 set of operating instructions
Technical specifications
- Rated voltage 230 V ∼, 50 Hz (AC)
- Rated power consumption 1200 W
- Rated idle speed n 3000–12000 rpm
- Disc size Ø 125 mm
- Thread size M14
- Protection class II / (double insulation)
Noise and vibration data
Noise measurement value determined in accordance with EN 60745. The A-rated noise level of the power tool is typically as follows:
Noise emission value
- Sound pressure level LPA = 87.5 dB (A)
- Uncertainty K = 3 dB
- Sound power level LWA = 98.5 dB (A)
- Uncertainty K = 3 dB
Wear ear muffs!
Total vibration value
- Surface grinding ah, AG = 3.086 m/s2
- Uncertainty K = 1.5 m/s2
NOTE
- The vibration emission values and the noise emission values given in these instructions have been measured in accordance with a standardised test procedure and can be used for comparison of the power tool with another tool.
- The specified total vibration values and noise emission values can also be used to make a provisional load estimate.
WARNING!
- Depending on the manner in which the power tool is being used, and in particular the kind of workpiece being worked, the vibration and noise emission values can deviate from the values given in these instructions during actual use of the power tool.
- Try to keep the vibration load as low as possible. Measures to reduce the vibration load are, e.g. wearing gloves and limiting the working time. Wherein all states of oper-ation must be included (e.g. times when the power tool is switched off and times where the power tool is switched on but running without load).
General power tool safety warnings
WARNING!
Read all safety warnings and all instructions. Failure to follow the warnings and instructions may result in electric shock, fire and/or serious injury.
Save all warnings and instructions for future reference.
The term “power tool” in the warnings refers to your mains-operated (corded) power tool or battery- operated (cordless) power tool.
Work area safety
- Keep work area clean and well lit. Cluttered or dark areas invite accidents.
- Do not operate power tools in explosive atmospheres, such as in the presence of flammable liquids, gases or dust. Power tools create sparks which may ignite the dust or fumes.
- Keep children and bystanders away while operating a power tool. Distractions can cause you to lose control.
Electrical safety
- Power tool plugs must match the outlet. Never modify the plug in any way. Do not use any adapter plugs with earthed (grounded) power tools. Unmodified plugs and matching outlets will reduce risk of electric shock.
- Avoid body contact with earthed or grounded surfaces, such as pipes, radiators, ranges and refrigerators. There is an increased risk of electric shock if your body is earthed or grounded.
- Do not expose power tools to rain or wet conditions. Water entering a power tool will increase the risk of electric shock.
- Do not abuse the cord. Never use the cord for carrying, pulling or unplugging the power tool. Keep cord away from heat, oil, sharp edges or moving parts. Damaged or entangled cords increase the risk of electric shock.
- When operating a power tool outdoors, use an extension cord suitable for outdoor use. Use of a cord suitable for outdoor use reduces the risk of electric shock.
- If operating a power tool in a damp location is unavoidable, use a residual current device (RCD) protected supply. Use of an RCD reduces the risk of electric shock.
Personal safety
- Stay alert, watch what you are doing and use common sense when operating a power tool. Do not use a power tool while you are tired or under the influence of drugs, alcohol or medication. A moment of inattention while operating power tools may result in serious personal injury.
- Use personal protective equipment. Always wear eye protection. Protective equipment such as dust mask, non-skid safety shoes, hard hat, or hearing protection used for appropriate conditions will reduce personal injuries.
- Prevent unintentional starting. Ensure the switch is in the off-position before connecting to power source and/or battery pack, picking up or carrying the tool. Carrying power tools with your finger on the switch or energizing power tools that have the switch on invites accidents.
- Remove any adjusting key or wrench before turning the power tool on. A wrench or a key left attached to a rotating part of the power tool may result in personal injury.
- Do not overreach. Keep proper footing and balance at all times. This enables better control of the power tool in unexpected situations.
- Dress properly. Do not wear loose clothing or jewellery. Keep your hair, clothing and gloves away from moving parts. Loose clothes, jewellery or long hair can be caught in moving parts.
- If devices are provided for the connection of dust extraction and collection facilities, ensure these are connected and properly used. Use of dust collection can reduce dust-related hazards.
Power tool use and care
- Do not force the power tool. Use the correct power tool for your application. The correct power tool will do the job better and safer at the rate for which it was designed.
- Do not use the power tool if the switch does not turn it on and off. Any power tool that can-not be controlled with the switch is dangerous and must be repaired.
- Disconnect the plug from the power source and/or the battery pack from the power tool before making any adjustments, changing accessories, or storing power tools. Such preventive safety measures reduce the risk of starting the power tool accidentally.
- Store idle power tools out of the reach of children and do not allow persons unfamiliar with the power tool or these instructions to operate the power tool. Power tools are dangerous in the hands of untrained users.
- Maintain power tools. Check for misalignment or binding of moving parts, breakage of parts and any other condition that may affect the power tool’s operation. If damaged, have the power tool repaired before use.
Many accidents are caused by poorly maintained power tools. - Keep cutting tools sharp and clean. Properly maintained cutting tools with sharp cutting edges are less likely to bind and are easier to control.
- Use the power tool, accessories and tool bits etc. in accordance with these instructions, taking into account the working conditions and the work to be performed.
Use of the power tool for operations different from those intended could result in a hazardous situation.
Service
- Have your power tool serviced by a qualified repair person using only identical replace-ment parts. This will ensure that the safety of the power tool is maintained.
- Always arrange for the replacement of the plug or the power cord to be carried out by the manufacturer of the appliance or its cus-tomer service department. This will ensure that the safety of the power tool is maintained.
Safety instructions for all applications
Special safety instructions for grinding and abrasive cutting
- This power tool is to be used as a grinder and abrasive cutting appliance. Please follow all safety instructions, instructions, diagrams and data that you receive with the appliance. Failure to follow the instructions below may result in electric shock, fire, and/or serious injury.
- This power tool is not suitable for sandpaper sanding, working with a steel brush or burnishing. Using the power tool for applications for which it is not designed can lead to hazards and injuries.
- Do not use any accessories that have not been specifically provided or recommended by the manufacturer for this power tool. Just because you can attach the accessories to your power tool, this does not guarantee that they are safe to use.
- The maximum speed of the accessory tool used must be at least as high as the maximum speed specified for the power tool. Accessories which rotate faster than the maximum permissible rate can break and throw pieces into the air.
- The external diameter and thickness of the accessory tool used must correspond with the dimensions of the power tool.
Incorrectly dimensioned accessory tools cannot be sufficiently shielded or controlled. - Accessory tools with a thread insert must match the thread of the grinding spindle exactly. For accessory tools that are mounted using a flange, the diameter of the hole on the attachment tool must correspond to the width of the fitting on the flange. Accessory tools that cannot be firmly fitted to the power tool rotate unevenly, vibrate severely and can lead to a loss of control.
- Never use damaged accessory tools. Before each use, check accessory tools such as grinding discs for chips or cracks, grinding plates for cracks, scuffs or excessive wear and tear and wire brushes for loose or broken wires. If the power tool or the accessory tool in use is dropped, check to see whether it is damaged or use an undamaged accessory tool. When you have checked and inserted the accessory tool, ensure that you and any other people in the vicinity remain outside of the level of the rotating accessory tool and allow the tool to rotate at maximum speed for one minute. Damaged accessory tools usually break during the test period.
- Wear personal protective equipment. Depending on the application, ensure that you use full face protection, eye protection or goggles. As required, use a dust mask, hearing protection, protective gloves or a special apron that will protect you from grinding and material particles. Protect your eyes from flying debris that may be produced during certain applications. Dust or filter masks must be used to filter any dust produced by the application. If you are exposed to loud noise for any length of time, you can suffer hearing loss.
- Ensure that other people remain at a safe distance from your work area. Anyone who enters the work area must wear personal protective equipment.
Fragments of the workpiece or broken accessory tools can fly off and cause injury – even outside the immediate work area. - Hold the power tool only by the insulated handles when you are carrying out work
in which the accessory tool may come into contact with concealed power cables or the tool’s own power cord. Contact with a live cable can also make metal parts of the appliance live, and could result in an electric shock. - Keep the power cord away from any rotating accessories. If you lose control of the appliance, the cord may be captured or cut and your hand or arm could get caught in the rotating accessory tool.
- Never put the power tool down until the accessory tool being used has come to a complete standstill. The rotating accessory tool could come into contact with the surface and cause you to lose control of the power tool.
- Do not leave the power tool running whilst carrying it. Accidental contact between your clothing and the rotating accessory tool could lead to a physical injury.
- Clean the ventilation slits of your power tool regularly. The motor fan draws dust into the housing and a strong accumulation of metal dust can cause electrical hazards.
- Never use the power tool in the vicinity of inflammable materials. Sparks can ignite these materials.
- Do not use any accessory tools which require liquid coolant. The use of water or other liquid coolants may lead to electric shock.
Kickback and corresponding safety instructions
Kickback is a sudden reaction caused when a rotating accessory tool, e.g. grinding disc, grinding plate, wire brush, etc., catches or jams. Catching or jamming leads to an abrupt stop of the rotating accessory tool. If this happens, an uncontrolled pow-er tool turns rapidly against the direction of rotation of the accessory tool caught in the blockage. If, for example, a grinding disc catches or jams, the edge of the grinding disc that is projecting into the workpiece can get caught and break off the grinding disc or cause a kickback. The grinding disc can then fly in the direction of the operator or away from him, depending on the direction of rotation of the disc at the blockage. This can also break grinding discs.
A kickback is caused by improper or incorrect use of the power tool. This can be avoided by taking proper precautions as given below.
- Hold the power tool firmly in both hands and position your body and arms so they can absorb the force of A kickback. Always use the auxiliary handle, if available, so that you have the maximum possible control over the kick-back force or reaction forces at full speed. By taking adequate precautions, the operator can stay in control of the kickback and reaction forces.
- Never hold your hand close to a rotating accessory tool. The accessory tool could jump out of your hand if kickback occurs.
- Avoid having any part of your body in the region in which the power tool is likely to move in event of a kickback. The kickback will force the electrical tool in the opposite direction to the direction of rotation of the grinding disc at the blockage.
- Take special care when working near corners, sharp edges, etc. Do not allow the accessory tool to bounce back from the workpiece or jam. The rotating accessory tool is more likely to jam in corners or sharp edges or if it bounces. This can cause a loss of control or kickback.
- Do not use chains or toothed saw blades. Such accessories often cause a kickback or loss of control over the power tool.
Special safety instructions for grinding and abrasive cutting
- Use only the grinding accessories approved for your power tool and the appropriate blade guard for these grinding tools. Grinding tools which are not designed for the power tool cannot be sufficiently shielded and are unsafe.
- Offset grinding discs must be fitted so that the grinding surface does not protrude over the edge of the blade guard. An improperly fitted grinding disc which protrudes over the edge of the blade guard cannot be properly guarded.
- The blade guard must be securely mounted on the power tool and adjusted to ensure maximum safety so that the smallest possible amount of the grinding tool is exposed to the operator. The blade guard is designed to protect the operator from fragments, accidental contact with the grinding tool and sparks that could ignite clothing.
- Grinding tools should only be used for the recommended applications.
For example: never grind with the side sur-face of a cutting disc. Cutting discs are de-signed to remove material with the edge of the disc. Any lateral application of force on these grinding tools can lead to a breakage. - Always use an undamaged clamping flange of the correct size and shape for the selected grinding disc. Suitable flanges support the grinding disc and reduce the risk of disc break-age. Flanges for cutting discs can be different to flanges for other grinding discs.
- Do not use worn grinding discs from larger power tools. Grinding discs for larger power tools are not designed for the higher rotational speeds of smaller power tools and can break.
Additional special safety instructions for abrasive cutting
- Avoid any blockage to the cutting disc or excessive contact pressure. Do not make any excessively deep cuts. Overloading the cutting disc increases the stress and likelihood of jam-ming or blocking and thus the possibility of a kickback or a breakage of the grinding tool.
- Avoid the area in front of and behind the rotating cutting disc. When you move the cut-ting disc away from yourself in the workpiece, it is possible, in the event of a kickback, that the electrical tool will be thrown out directly towards you together with the rotating disc.
- If the cutting disc jams or you stop working, switch the tool off and hold it steadily in
the workpiece until the disc has completely stopped turning. Never attempt to pull a rotating cutting disc out of a cut. This could lead to a kickback. Identify and remove the cause of the jam. - Do not switch the power tool back on while it is located in the workpiece. Allow the cut-ting disc to reach its full speed before you carefully continue the cut. Otherwise, the disc can jam, jump out of the workpiece or cause a kickback.
- Support boards or large workpieces to re-duce the risk of the cutting disc jamming and causing a kickback. Large workpieces can bend under their own weight. The workpiece must be supported on both sides of the disc: both in the vicinity of the cutting disc and also at the edge.
- Be particularly careful when making pocket cuts into existing walls or other obscured areas. The inserted cutting disc may cut into gas or water pipes, electrical wiring or other objects that can cause a kickback.
Permissible accessories
| Max. diameter Ø (mm) | Max. thickness (mm) | Thread size (mm) | Speed (rpm) | Circumferential speed (m/s) | Tool | Protective cover | |
| Cutting disc | 125 | 3 | M14 | 12200 | 80 | Two-hole assembly spanner | Yes |
| Roughing disc | 125 | 6 | M14 | 12200 | 80 | Two-hole assembly spanner | No |
Storage and handling of the recommended accessory tools
- Grinding tools must be treated with care and transported carefully.
- Grinding tools should be stored in such a way that they are not exposed to mechanical dam-age or environmental influences (e.g. damp).
Working procedures
NOTE
- Grinding tools should only be used for the recommended applications. Otherwise, they can break, be damaged or cause injuries.
Rough grinding Never use cutting discs for rough grinding!
- Move the angle grinder with moderate pressure back and forth over the workpiece.
- For soft material, move the roughing disc at a flat angle over the workpiece; for hard material at a slightly steeper angle.
Abrasive cutting Never use roughing discs for cutting!
- Use only tested fibre-reinforced cutting or grinding discs that are approved for a peripheral speed of not less than 80 m/s.
CAUTION!
The grinder continues running after being turned off. Do not try to brake it by applying lateral counterpressure.-
- Secure the workpiece. Use clamps/vices to hold the workpiece firmly. This is much safer than simply holding it in your hand.
- Always switch off the appliance before put-ting it away and wait for the appliance to come to a complete standstill.
- Release the ON/OFF switch immediately in the event of a power failure or when the plug is pulled out. Move it into the OFF position. This prevents an uncontrolled restart.
- Use the appliance only for dry cutting or sanding.
- The additional handle 6 must be fitted to the appliance for all work.
- Materials containing asbestos may not be processed. Asbestos is a known carcinogen.
Tip! This symbol indicates proper behavior.
DANGER! ALWAYS GUIDE THE APPLIANCE THROUGH THE WORK-PIECE IN REVERSE ROTATION.
- In the opposite direction there is a risk of a kickback. The appliance can be pushed out of the cut.
- Always switch the appliance on before applying it to the workpiece. After completing the task, lift the appliance from the workpiece and then switch it off.
- Always hold the appliance firmly with two hands while working. Ensure that your stance is secure and stable.
- For an optimum grinding effect, move the appliance evenly at an angle of 15° to 30° (between grinding disc and workpiece) back-wards and forwards.
- When working on angled surfaces, do not exert too much force on the workpiece. If the rotational speed drops significantly, you must reduce the pressure exerted to allow safe and effective working. If the appliance suddenly brakes completely or jams, it must be switched off immediately.
- Cutting: Work at a moderate feed rate and do not tilt the cutting disc.
- Roughing and cutting discs become very hot – let them cool down completely before touching them.
- Never use the appliance for purposes other than the ones for which it was designed.
- Always make sure that the appliance is turned off before plugging it into the wall socket.
- In the event of danger, remove the mains plug from the socket immediately. Ensure that the appliance and the power socket are easily and quickly accessible in the event of an emergency.
- Always remove the plug from the power socket during work breaks, when adjusting the appliance and when it is no longer in use. The appliance must be kept clean, dry and free of oil and grease at all times.
- Remain alert at all times! Always pay attention to what you are doing and act with common sense. Do not use the appliance if you are dis-tracted or feeling unwell.
WARNING!
Always wear safety goggles.
WARNING!
Always wear a dust mask!
Operation
Fitting the protective cover for cutting
When cutting with bonded abrasives, always use the protective cover for cutting.
- Slide the protective cover onto the blade guard (see fig. F) until the plastic clip snaps into place at the end.
- To remove the protective cover , pull the plastic clip slightly forwards to release the protective cover .
Mounting/adjusting the blade guard
WARNING! RISK OF INJURY!
- Always remove the plug from the power socket before working on the appliance. RISK OF INJURY!
- Always use the angle grinder with the blade guard 7. The blade guard should be in-stalled securely. Set it so that the highest possible degree of safety is achieved, i.e. the smallest possible part of the grinding disc is exposed to the operator. The blade guard 7 is designed to protect the operator from frag-ments and accidental contact with the grinding tool.
- Make sure that the blade guard 7 is fitted at least at the same angle as the additional handle 6 (see fig. A). Otherwise, you could cut injure yourself on the roughing disc or cutting disc.
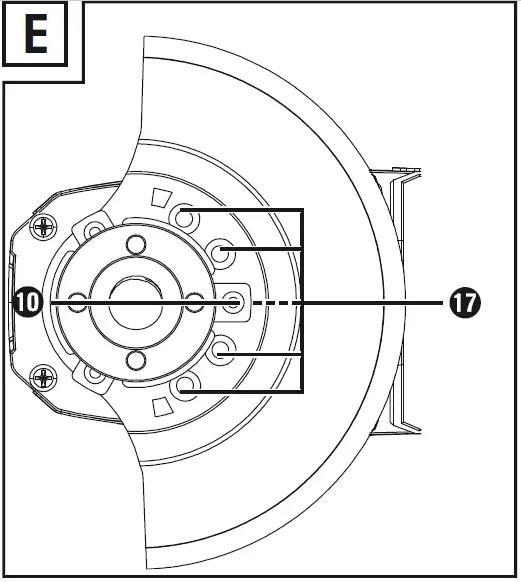
- Turn the blade guard 7 to the required position (working position). Make sure that the blade guard 7 is positioned in such a way that the blade guard fixture 0 is lying over one of the 5 bulges u on the blade guard 7 (see fig. E, fold-out page).
- Ensure that the blade guard fixture 0 is firmly seated in the respective bulge u.
Fitting the additional handle
- CAUTION!
For safety reasons, this appliance may only be used with the additional handle 6. Failure to do so can lead to serious injury. The additional handle 6 can be screwed onto the left, the right or the top, depending on the job at hand. - NOTE
You can leave the tool holder 6a inserted into the additional handle 6 or remove it as desired.
Fitting/changing the roughing/cutting disc
Always wear protective gloves when changing cutting/roughing discs. Roughing and cutting discs become very hot. Allow them to cool down com-pletely before touching them.
Pay attention to the dimensions of the roughing/cutting disc. The diameter of the hole must fit the mounting flange without any play. Do not use a reducer or adapter.
- Check the roughing/cutting disc. It should not be damaged or damp and have no cracks. Otherwise, it could break during use and cause injuries.
NOTE
Use only discs which are free of dirt.
- Use only grinding discs whose permissible speed rating is at least as high as that on the type plate on the power tool.
- RISK OF INJURY! Press the spindle locking button q only when the mounting spindle r is at a complete standstill.
- Press the spindle locking button q to lock the gearbox.
- Loosen the clamping nut e using the two-hole assembly key z (see fig. C).
- Place the rough grinding or cutting disc with the label side towards the appliance on the mounting flange t.
- Then replace the clamping nut e on the mounting spindle r with the raised side facing up.
With thin grinding discs (see fig. 1):
- The collar of the clamping nut e faces upwards so that a thin grinding disc can be fitted safely.

Fig. 1 - Press the spindle locking button q to lock the gearbox.
- Tighten the clamping nut e using the two-hole assembly spanner z.
With thick grinding discs (see fig. 2):

Fig. 2
The collar of the clamping nut e points down-wards, so that the thick grinding wheel can be securely mounted on the mounting spindle r.
- Lock the mounting spindle r.
- Tighten the clamping nut e in a clockwise direction using the two-hole assembly spanner z.
NOTE
- If the disc does not turn smoothly or vibrates after the change, the disc must be replaced immediately.
- ♦ For safety’s sake, run the appliance at maximum speed for 60 seconds after every disc change. Be aware of unusual noises and sparks.
♦ Check whether all fastening elements are correctly fitted.
♦ Make sure that the arrow showing the direction of rotation (if any) on the cutting or roughing discs (including diamond cutting discs) and the direction of rotation of the appliance (arrow showing the direction of rotation on the head) are aligned.
Switching on and off
Check the inserted tool before use. It must be properly fitted, may not be damaged or damp, should not have any cracks and must turn freely. Carry out a 60-second test run. Do not use non-circular or vibrating tools. Be aware of unusual noises and sparks. Check afterwards whether all the fastening elements are correctly fitted.
NOTE
Always switch on the angle grinder before making contact with the material, then apply it to the workpiece.
Switching on
- Activate the safety lock-out 3 (see fig. D).

- Then press the ON/OFF switch 2.
Switching off
- Press the ON/OFF switch 2 again.
Setting the rotational speed
- Set the speed setting wheel 1 to a position between 1 and 6.
Maintenance and cleaning
WARNING! RISK OF INJURY! Switch the appliance off and remove the power plug before starting any work on the appliance.
- Do not use any sharp objects to clean the appliance. Do not allow any liquids to get into the appliance. The appliance could be damaged.
- Replace worn out carbon brushes with the spare carbon brushes 4 via the carbon brush cover 5.
- Clean the appliance regularly, preferably immediately after completion of the work.
- Clean the housing with a dry cloth – do not use petrol, solvents or cleaners which can attack the plastic.
- A vacuum cleaner is required for thorough cleaning of the appliance.
- Ventilation openings must never be obstructed.
- Remove any adhering swarf with a brush.
NOTE
- Replacement parts not listed (such as carbon brushes, switch) can be ordered via our service hotline.
Disposal
Do not dispose of power tools in your normal domestic waste!
The adjacent symbol of a crossed-out dustbin means that this appliance is subject to Directive 2012/19/EU. This directive states that this appliance may not be disposed of in the normal household waste at the end of its useful life, but must be taken to specially set-up collection locations, recycling depots or disposal companies. The disposal is free of charge for the user. Protect the environment and dispose of this appliance properly.
Your local community or municipal authorities can provide information on how to dispose of the worn-out product.
The packaging is made from environ-mentally friendly material and can be disposed of at your local recycling plant.
Dispose of the packaging in an environmentally friendly manner. Note the labelling on the packaging and separate the packaging material components for disposal if necessary. The packaging material is labelled with abbreviations (a) and numbers (b) with the following meanings:
1–7: plastics, 20–22: paper and cardboard, 80–98: composites.
The product and its packaging are recyclable. They are subject to an extended manufacturer responsibility and will be collected separately.
Kompernass Handels GmbH warranty
Dear Customer,
This appliance has a 3-year warranty valid from the date of purchase. If this product has any faults, you, the buyer, have certain statutory rights. Your statutory rights are not restricted in any way by the warranty described below.
Warranty conditions
The warranty period starts on the date of purchase. Please keep your receipt in a safe place. This will be required as proof of purchase.
If any material or manufacturing fault occurs within three years of the date of purchase of the product, we will either repair or replace the product for you or refund the purchase price (at our discretion). This warranty service requires that you present the defective appliance and the proof of purchase (receipt) within the three-year warranty period, along with a brief written description of the fault and of when it occurred.
If the defect is covered by the warranty, your product will either be repaired or replaced by us. The repair or replacement of a product does not signify the beginning of a new warranty period.
Warranty period and statutory claims for defects
The warranty period is not prolonged by repairs effected under the warranty. This also applies to replaced and repaired components. Any damage and defects present at the time of purchase must be reported immediately after unpacking. Repairs carried out after expiry of the warranty period shall be subject to a fee.
Scope of the warranty
This appliance has been manufactured in accordance with strict quality guidelines and inspected meticulously prior to delivery.
The warranty covers material faults or production faults. The warranty does not extend to product parts subject to normal wear and tear or to fragile parts which could be considered as consumable parts such as switches or parts made of glass.
The warranty does not apply if the product has been damaged, improperly used or improperly maintained. The directions in the operating instructions for the product regarding proper use of the product are to be strictly followed. Uses and actions that are discouraged in the operating instructions or which are warned against must be avoided.
This product is intended solely for private use and not for commercial purposes. The warranty shall be deemed void in cases of misuse or improper handling, use of force and modifications / repairs which have not been carried out by one of our authorized Service centers.
The warranty period does not apply to
- Normal reduction of the battery capacity over time
- Commercial use of the product
- Damage to or alteration of the product by the customer
- Non-compliance with safety and maintenance instructions, operating errors
- Damage caused by natural hazards
Warranty claim procedure
To ensure quick processing of your case, please observe the following instructions:
- Please have the till receipt and the item number (IAN) 392682_2201 available as proof of purchase.
- You will find the item number on the type plate on the product, an engraving on the product, on the front page of the operating instructions (below left) or on the sticker on the rear or bottom of the product.
- If functional or other defects occur, please contact the service department listed either by telephone or by e-mail.
- You can return a defective product to us free of charge to the service address that will be provided to you. Ensure that you enclose the proof of purchase (till receipt) and information about what the defect is and when it occurred.
You can download these instructions along with many other manuals, product videos and installation software at www.lidl-service.com.
This QR code will take you directly to the Lidl service page (www.lidl-service.com) where you can open your operating instructions by entering the item number (IAN) 392682_2201.
NOTE
For Parkside tools, please send us only the defective item without the accessories (e.g. battery, storage case, assembly tools, etc.).
Service
- Service Great Britain
Tel.: 0800 404 7657
E-Mail: [email protected] - Service Ireland
Tel.: 1800 101010
E-Mail: [email protected]
Importer
Please note that the following address is not the service address. Please use the service address provided in the operating instructions.
KOMPERNASS HANDELS GMBH BURGSTRASSE 21
44867 BOCHUM
GERMANY
www.kompernass.com
Translation of the original Conformity Declaration
We, KOMPERNASS HANDELS GMBH, document officer: Mr Semi Uguzlu, BURGSTR. 21, 44867 BOCHUM, GERMANY, hereby declare that this product complies with the following standards, normative documents and EC directives:
Machinery Directive
(2006/42/EC)
Electromagnetic Compatibility
(2014/30/EU)
RoHS Directive
(2011/65/EU)*
* The manufacturer bears the full responsibility for compliance with this conformity declaration. The object of the declaration described above complies with the requirements of the Directive 2011/65/EU of the European Parliament and Council of 8 June 2011 on the limitations of use of certain dangerous substances in electrical and electronic appliances.
Applied harmonised standards
EN 60745-1:2009/A11:2010
EN 60745-2-3:2011/A13:2015
EN 55014-1:2017/A11:2020
EN 55014-2:2015
EN IEC 61000-3-2:2019
EN 61000-3-3:2013/A1:2019
EN 61000-3-2:2014
EN 61000-3-3:2013
EN IEC 63000:2018
- Type designation of machine: Angle grinder PWS 125 F6
- Year of manufacture: 05–2022
- Serial number: IAN 392682_2201
Bochum, 13/04/2022
Semi Uguzlu
– Quality Manager –
We reserve the right to make technical changes in the context of further product development.
KOMPERNASS HANDELS GMBH
BURGSTRASSE 21
44867 BOCHUM
GERMANY
www.kompernass.com
Last Information Update : 04 / 2022 · Ident.-No.: PWS125F6-042022-1












