TY-CSP1 360 Degree Camera Speakerphone
Instructions
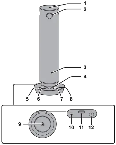
Part Names
On the 360 degree camera speaker

- Microphone
Attention
• Do not block the microphone hole as this may cause a reduction in performance. - Cameras (4 facing 4 directions)
- Speaker
- Indicator
- Audio muting button
- Speaker volume [—] button
- Speaker volume [+] button
- [Mode] button
- Camera mounting screw hole (screw: 1/4-20 UNC)
Used when mounting on a tripod, etc. - Security slot
You can connect a security cable that is compatible with Noble Wedge slots with mounting surfaces of 11 mm Φ or less. - USB-C terminal
Outputs video and audio to the PC. It also receives power supplied from the Type-C interface of the Listed PC (5 V/3 A). - Power input terminal
Connect the AC adaptor.
