
Installation and
Operation Manual
OSBURN 3500-I
(OB03510 Model)
Safety tested according to
ULC S628, UL 1482 and
UL 737 by an accredited
laboratory.
US Environmental Protection
Agency phase II certified
wood insert compliant with
2020 cord wood standard.![]()
Contents
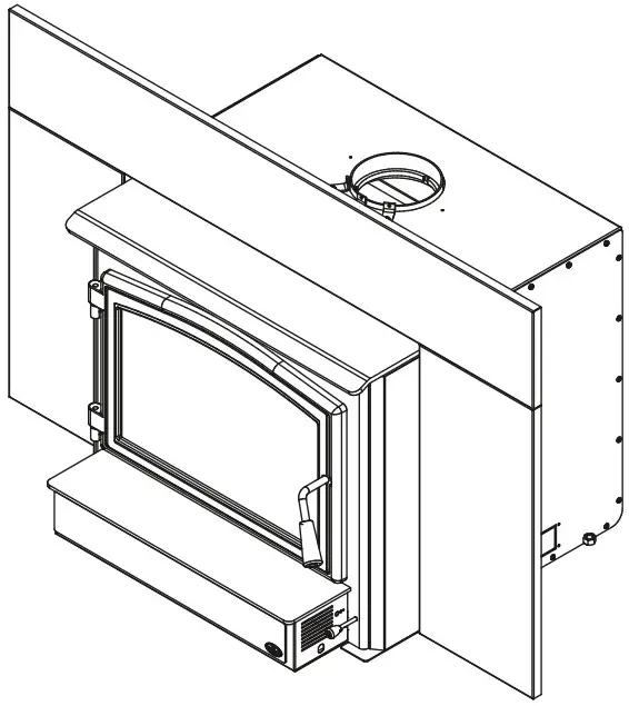
3500 Wood Insert
CONTACT LOCAL BUILDING OR FIRE OFFICIALS ABOUT RESTRICTIONS AND INSTALLATION INSPECTION REQUIREMENTS IN THE AREA.
READ THIS ENTIRE MANUAL BEFORE INSTALLATION AND USE OF THIS WOOD INSERT. FAILURE TO FOLLOW THESE INSTRUCTIONS COULD RESULT IN PROPERTY DAMAGE, BODILY INJURY OR EVEN DEATH.
READ AND KEEP THIS MANUAL FOR REFERENCE
THANK YOU FOR CHOOSING THIS WOOD INSERT.
If this insert is not installed properly, combustible materials near it may overheat and catch fire.
To reduce the risk of fire, follow the installation instructions in this manual.
As one of North America’s largest and most respected wood stove and fireplace manufacturers, Stove Builder International takes pride in the quality and performance of all its products.
The following pages provide general advice on wood heating, detailed instructions for safe and effective installation, and guidance on how to get the best performance from this insert.
It is highly recommended that this wood burning hearth product be installed and serviced by professionals who are certified by NFI (National Fireplace Institute®) or CSIA (Chimney Safety Institude of America) in the United States or in Canada by WETT (Wood Energy Technology Transfer) or in Quebec by APC (Association des Professionnels du Chauffage).
Contact local building or fire officials about restrictions and installation inspection requirements in the area.
A building permit might be required for the installation of this insert and the chimney that it is connected to. It is also recommended to inform your home insurance company.
Please read this entire manual before installing and using this insert.
A primary alternative heat source should be available in the home. This heating unit may serve as a supplementary heat source. The manufacturer cannot be responsible for additional heating costs associated with the use of an alternative heat source.
ONLINE WARRANTY REGISTRATION
If the unit requires repairs during the warranty period, proof of purchase must be provided. The purchase invoice must be kept. The date indicated on it establishes the warranty period. If it cannot be provided, the warranty period will be determined by the date of manufacture of the product. It is also highly recommended to register the warranty online at
https://www.osburn-mfg.com/en/warranty/warranty-registration/
Registering the warranty will help to quickly find the information needed on the unit.

www.osburn-mfg.com/en/warranty/warranty-registration/
![]()
CERTIFICATION PLATE

Safety Information
- This insert has been tested for use with an open door in conjunction with a fire screen, sold separately. The door may be opened, or fire screen removed only during lighting procedures or reloading. Always close the door or put back on the fire screen after ignition. Do not leave the insert unattended when the door is opened with or without a fire screen.
- WARNING : OPERATE ONLY WITH THE DOOR FULLY CLOSED OR FULLY OPEN WITH THE FIRE SCREEN IN PLACE. IF THE DOOR IS LEFT PARTLY OPEN, GAS AND FLAME MAY BE DRAWN OUT OF THE OPENING, CREATING RISKS FROM BOTH FIRE AND SMOKE.
- HOT WHILE IN OPERATION, KEEP CHILDREN, CLOTHING AND FURNITURE AWAY. CONTACT MAY CAUSE SKIN BURNS. GLOVES MAY BE NEEDED FOR INSERT OPERATION.
- Using an insert with cracked or broken components, such as glass, firebricks or baffle may produce an unsafe condition and may damage the insert.
- Open the air control fully before opening the loading door.
- NEVER USE GASOLINE, LANTERN FUEL (NAPHTHA), FUEL OIL, MOTOR OIL, KEROSENE, CHARCOAL LIGHTER FLUID, OR SIMILAR LIQUIDS OR AEROSOLS TO START A FIRE IN THIS INSERT. KEEP ALL SUCH LIQUIDS OR AEROSOLS WELL AWAY FROM THE INSERT WHILE IT IS IN USE.
- Do not store fuel within heater minimum installation clearances.
- Burn only seasoned natural firewood.
- This wood heater needs periodic inspection and repair for proper operation. It is against federal regulations to operate this wood heater in a manner inconsistent with operating instructions in this manual.
- This appliance should always be maintained and operated in accordance with these instructions.
- Do not elevate the fire by means of grates, andirons or other means.
- A smoke detector, a carbon monoxide detector and a fire extinguisher should be installed in the house. The location of the fire extinguisher should be known by all family members.
- Do not use makeshift materials or make any compromises when installing this insert.
This product can expose you to chemicals including carbon monoxide, which is known to the State of California to cause cancer, birth defects or other reproductive harm. For more information go to www.P65warnings.ca.gov/
General Information
2.1 Performances
Values are as measured per test method, except for the recommended heating area, firebox volume, maximum burn time and maximum heat output.
| Models | Osburn 3500-I (OB03510) | |
| Fuel Type | Dry Cordwood | |
| Combustion technology | Non-catalytic | |
| Recommended heating area (sq. ft..)1 | 1,000 to 2,700 ft2 (93 to 251 m2) | |
| Overall Firebox Volume2 | 3.5 ft3 (0.099 m3) | |
| EPA loading volume | 2.88 ft3 (0.082 m3) | |
| Maximum burn time1 | 10 hours | |
| Maximum heat output (dry cordwood)3 | 110,000 BTU/h (32.2 kW) | |
| Overall heat output rate (min. to max.)2 4 | 17,200 BTU/h to 57,800 BTU/h
(5.0 kW to 16.9 kW) |
|
| Average overall efficiency3 Dry cordwood | 71 % (HHV)5 | 76 % (LHV)6 |
| Optimum overall efficiency7 | 77 % | |
| Optimum heat transfer efficiency8 | 75 % | |
| Average particulate emissions rate9 | 1.6 g/h (EPA / CSA B415.1-10)10 | |
| Average CO11 | 73 g/h | |
- Recommended heating area and maximum burn time may vary subject to location in home, chimney draft,heat loss factors, climate, fuel type and other variables. The recommended heated area for a given appliance is defined by the manufacturer as its capacity to maintain a minimum acceptable temperature in the designated area in case of a power failure.
- The overall firebox calculation is an approximation and is not intended to be used for loading. This volume includes a buffer zone to allow an easier fuel insertion, prevent ash spillage and allow the air wash to work properly.
- The maximum heat output (dry cordwood) is based on a loading density varying between 15 lb/ft3 and 20 lb/ft3 Other performances are based on a fuel load prescribed by the standard. The specified loading density varies between 7 lb/ft³ and 12 lb/ft3 . The moisture content is between 19% and 25%.
- As measured per CSA B415.1-10 stack loss method.
- Higher Heating Value of the fuel.
- Lower Heating Value of the fuel.
- Optimum overall efficiency at a specific burn rate (LHV).
- The optimum heat transfer efficiency is for the low burn rate and represents the appliance’s ability to convert the energy contained in the wood logs into energy transferred to the room in the form of heat and does not take into account the chemical losses during combustion.
- This appliance is officially tested and certified by an independent agency
- Tested and certified in compliance with CFR 40 part 60, subpart AAA, section 60.534(a)(1(ii) and ASTM E3053-17
- Carbon monoxide.
2.2 Specifications
| Recommended log length | 16 in (406 mm) east-west |
| Maximum log length12 | 22 in (560 mm) east-west |
| Flue outlet diameter | 6 in (150 mm) |
| Recommended connector pipe diameter | 6 in (150 mm) |
| Type of chimney | ULC S635, CAN/ULC-S640, UL 1777 |
| Minimum chimney height | 12 feet |
| Baffle material | C-Cast or equivalent |
| Approved for alcove installation | Not applicable |
| Approved for mobile home installation13 | No |
| Type of door | Simple, glass with cast iron frame |
| Type of glass | Ceramic glass |
| Blower | Included (Up to 144 CFM) |
| Particulate emission standard | EPA / CSA B415.1-1014 |
| USA Standard (Safety) | UL 1482, UL 737 |
| Canada Standard (Safety) | ULC-S628 |
12 North-south: ends of the logs visible, East-west: sides of the logs visible.
13 Mobile homes (Canada) or manufactured homes (USA): The US Department of Housing and Urban Development describes “manufactured homes” better known as “mobile homes” as follows; buildings built on fixed wheels and those transported on temporary wheels/axles and set on a permanent foundation. In Canada, a mobile home is a dwelling for which the manufacture and assembly of each component is completed or substantially completed prior to being moved to a site for installation on a foundation and connection to service facilities and which conforms to the CAN/CSAZ240 MH standard.
14 Tested and certified in compliance with CFR 40 part 60, subpart AAA, section 60.534(a)(1(ii) and ASTM E3053-17 based on the ATM send by EPA on October 12th, 2017.
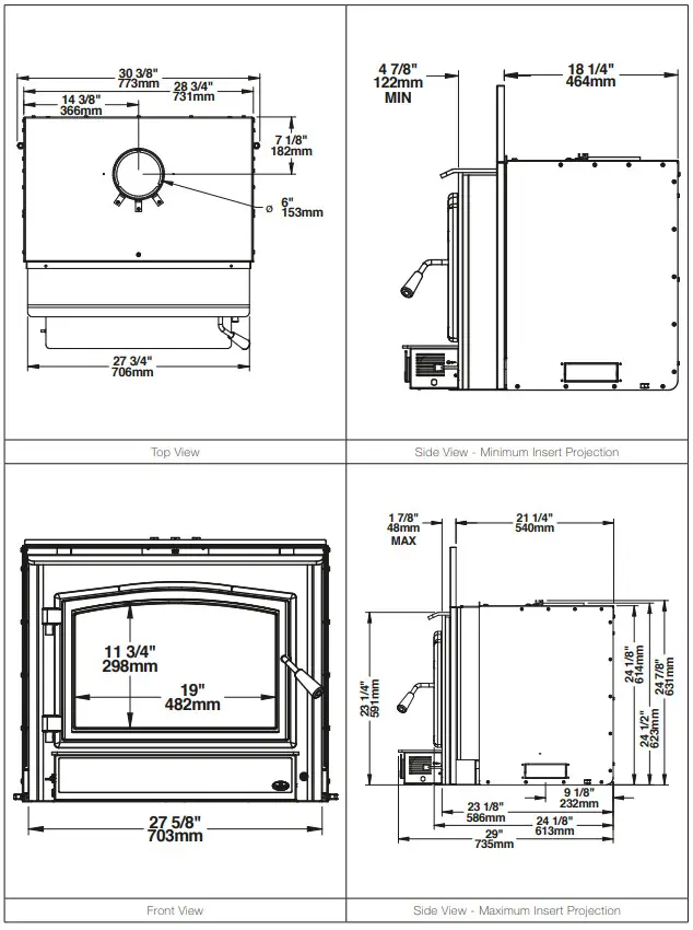
2.3 Dimensions


2.4 EPA Certification Loading
For EPA Certification testing, wood logs were 16 ± 1 inches long and the specie used was beech.
2.4.1 Air control
The air control is located underneath the ash shelf. To open the air control, pull the air control handle completely (High).
This will increase the burn rate. To close the air control, push the air control handle completely (Low). This will decrease the burn rate.

2.4.2 High burn rate
Open the air control completely. Place height small pieces (2 1/2″ x 2 1/2″ approximately) of wood in two layers in the firebox crossing them at the greatest possible angle. Criss cross 15 to 20 kindling wood pieces (1″x1″ approximately) on the small pieces of wood in three or four layers at the greatest possible angle. Tie knot with five sheets of paper and place them on top of the kindling wood. Light up the paper and let the door ajar at 90° until all the kindling wood is on fire. Close the door. When there is no more fire in the front of the firebox and there are only faint flames on the wood in the back of the firebox, break ashes, level the coal bed and put six logs in the firebox. Put 3 pieces centered on the coal bed, without air space between them.
Leave one inch of air space between the rear firebrick and the first piece. The three other pieces should be added on top of the first 3, still in an East-West configuration. Let the door ajar at 90° for 1 minute and then close the door.
2.4.3 Medium and low burn rate
On a two inches thick coal bed that is still red, place three logs centered on the coal bed in an East-West orientation. There should be air space between each log and between the logs and the bricks. The three other pieces should be added on top of the first three, in an East-West orientation but slightly angled of 10° still with air space between each log and the bricks. Let the door ajar at 90° for approximately 5 min. Then, close the door with the primary air control open. Leave to burn with the primary air control open for approximately 10 more minutes and then close the primary air control completely for the low burn rate and halfway for the medium burn rate. For better results, close the air control gradually from the closing of the door to the complete closing of the air control.
2.4.4 Logs placement
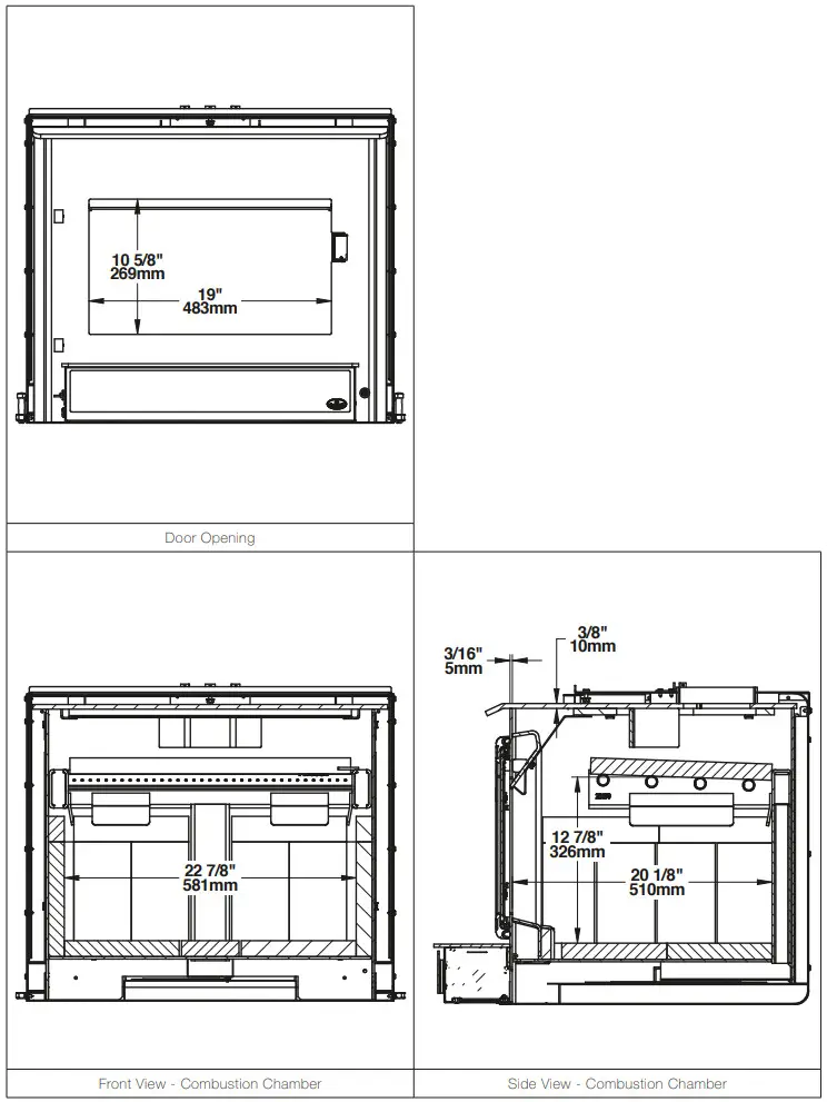
The images below show how to place the logs in the combustion chamber as described previously.

2.5 Materials
The SBI team is committed to protecting the environment, so they do everything they can to use only materials in their products that will have no lasting negative impact on the environment.
The body of this insert, which is most of its weight, is carbon steel. Should it ever become necessary many years in the future, almost the entire insert can be recycled into new products, thus eliminating the need to mine new materials.
The paint coating on the insert is very thin. Its VOC content (Volatile Organic Compounds) is very low. VOCs can be responsible for smog, so all the paint used during the manufacturing process meets the latest air quality requirements regarding VOC reduction or elimination.
The air tubes are stainless steel, which can also be recycled.
The C-Cast baffle is made of aluminosilicate fibre material that is compressed with a binder to form a rigid board. C-Cast can withstand temperatures above 2,000 °F. It is not considered hazardous waste. Disposal at an ecocentre is recommended.
The firebricks are mainly composed of silicon dioxide, also known as silica, a product processed from a mined mineral. It is most commonly found in nature in the form of sand and clay. Disposal at an ecocentre is recommended.
The door and glass gaskets are fibreglass which is spun from melted sand. Black gaskets have been dipped into a solvent-free solution. Disposal at an ecocentre is recommended.
The door glass is a 5/32″ (4 mm) thick ceramic material that contains no toxic chemicals. It is made of natural raw materials such as sand and quartz that are combined in such a way to form a high temperature glass. Ceramic glass cannot be recycled in the same way as normal glass, so it should not be disposed of with the regular household products. Disposal at an ecocentre is recommended.
2.6 Zone Heating
This insert is a space heater, which means it is intended to heat the area it is installed in, as well as spaces that connect to that area, although to a lower temperature. This is called zone heating and it is an increasingly popular way to heat homes or spaces within homes.
Zone heating can be used to supplement another heating system by heating a particular space within a home, such as a basement, a family room or an addition that lacks another heat source.
Houses of moderate size and relatively new construction can be heated with a properly sized and located wood insert. Whole house zone heating works best when the insert is in the part of the house where the family spends most of its time. This is normally the main living area where the kitchen, dining and living rooms are located.
Locating the insert in this area will give the maximum benefit of the heat it produces and will achieve the highest possible heating efficiency and comfort. The space where the most time is spent will be warmest, while bedrooms and basement (if there is one) will stay cooler. In this way, less wood is burned than with other forms of heating.
Although the insert may be able to heat the main living areas of the house to an adequate temperature, it is strongly recommended to also have a conventional oil, gas or electric heating system to provide backup heating.
The success of zone heating will depend on several factors, including the correct sizing and location of the insert, the size, layout and age of the home and the climate zone. Three-season vacation homes can usually be heated with smaller inserts than houses that are heated all winter.
2.7 Emissions and Efficiency
The low smoke emissions produced by the special features inside this insert firebox means that the household will release up to 90% less smoke into the outside environment than if an older conventional insert was used. But there is more to the emission control technologies than protecting the environment.
The smoke released from wood when it is heated contains about half of the energy content of the fuel. By burning the wood completely, this insert releases all the heat energy from the wood instead of wasting it as smoke up the chimney. Also, the features inside the firebox allow control of the air supply meaning controlling the heat output, while maintaining clean and efficient flaming combustion, which boosts the efficient delivery of heat to the home.
The emission control and advanced combustion features of this insert can only work properly if the fuel used is in the correct moisture content range of 15% to 20%. Refer to the following section for suggestions on preparing fuelwood and judging its moisture.
3. Fuel
Good firewood has been cut to the correct length for the insert, split to a range of sizes and stacked in an open area until its moisture content is down to 15% to 20%.
DO NOT BURN:
- Coal;
- Garbage;
- Lawn clippings or yard waste;
- Materials containing rubber, including tires;
- Materials containing plastic;
- Waste petroleum products, paints or paint thinners, or asphalt products;
- Materials containing asbestos;
- Construction or demolition debris;
- Railroad ties or pressure-treated wood;
- Manure or animal remains;
- Salt water driftwood or other previously salt water saturated materials;
- Unseasoned wood; or
- Paper products, cardboard, plywood, or particleboard. the prohibition against burning these materials does not prohibit the use of fire starters made from paper, cardboard, saw dust, wax and similar substances for the purpose of starting a fire in an affected wood heater.
Burning these materials may result in release of toxic fumes or render the heaterineffective and cause smoke.
3.1 Tree Species
The tree species the firewood is produced from is less important than its moisture content. The main difference in firewood from various tree species is the density of the wood. Hardwoods are denser than softwoods.
Homeowners with access to both hardwood and softwood use both types for different purposes.
Softer woods make good fuel for mild weather in spring and fall because they light quickly and produce less heat. Softwoods are not as dense as hardwoods so a given volume of wood contains less energy. Using softwoods avoids overheating the house, which can be a common problem with wood heating in moderate weather. Harder woods are best for colder winter weather when more heat and longer burn cycles are desirable.
Note that hardwood trees like oak, maple, ash and beech are slower growing and longer lived than softer woods like poplar and birch. That makes hardwood trees more valuable. The advice that only hardwoods are good to burn is outdated. Old, leaky cast iron inserts wouldn’t hold a fire overnight unless they were fed large pieces of hardwood. That is no longer true.
3.2 Log Length
Logs should be cut at least 1″ (25 mm) shorter than the firebox so they fit in asily. Pieces that are even slightly too long makes loading the insert very difficult. The most common standard length of firewood is 16″ (400 mm).

3.3 Piece Size
Firewood dries more quickly when it is split. Large unsplit rounds can take years to dry enough to burn. Even when dried, unsplit logs are difficult to ignite because they don’t have the sharp edges where the flames first catch.

Wood should be split to a range of sizes, from about 3″ to 6″ (75 mm to 150 mm) in cross section. Having a range of sizes makes starting and rekindling fires much easier.
3.4 Compressed Wood Logs
Compressed wood logs made of 100% compressed sawdust can be burned with caution in the number of these logs burned at once. Do not burn compressed logs made of wax impregnated sawdust or logs with any chemical additives. Follow the manufacturer’s instructions and warnings.
3.5 Drying Time
Firewood that is not dry enough to burn is the cause of most complaints about wood inserts.
Continually burning green or unseasoned wood produces more creosote and involves lack of heat and dirty glass door.
Firewood with a moisture content between 15% and 20% will allow the insert to produce its highest possible efficiency.
Here are some facts to consider in estimating drying time:

- Firewood bought from a dealer is rarely dry enough to burn, so it is advisable to buy the wood in spring and dry it yourself;
- Drying happens faster in dry weather than in a damp climate;
- Drying happens faster in warm summer weather than in winter weather;
- Small pieces dry more quickly than large pieces;
- Split pieces dry more quickly than unsplit rounds;
- Softwoods like pine, spruce, poplar, and aspen take less time to dry than hardwoods. they can be dry enough to burn after being stacked to air dry only for the summer months;
- Hardwoods like oak, maple and ash can take one, or even two years to dry fully, especially if the pieces are big;
- Firewood dries more quickly when stacked outside in a location exposed to sun and wind; it takes much longer to dry when stacked in a wood shed.
Use these guidelines to find out if the firewood is dry enough to burn:

- Cracks form at the ends of logs as they dry;
- The wood turns from white or cream colored to grey or yellow;
- Two pieces of wood struck together sounds hollow;
- Dry wood is much lighter in weight than wet wood,
- The face of a fresh cut feels warm and dry;
- The moisture content read by a moisture meter is between 15% to 20%.
Operating the Insert
This wood heater has a manufacturer-set minimum low burn rate that must not be altered. It is against federal regulations to alter this setting or otherwise operate this wood heater in a manner inconsistent with operating instructions in this manual.
Before using the insert, the following steps should be completed :
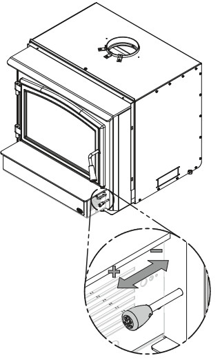
- Empty the combustion chamber and install the air control handle (A) with the set screw (B) as shown below:


- Install the combustion chamber side bricks as shown below.
- Install the ash lip and the blower (see «Appendix 1: Blower and Ash Lip Installation»);
- Install the door overlay (see «Appendix 2: Door Overlay Installation»);
- Install the faceplate (See «Appendix 5: Faceplate And Trims Installation»).
The following step is optional :
- Install the fresh air intake (See «Appendix 3: Fresh Air Intake Kit Installation»).
4.1 Blower

A blower is already installed on this insert. It is located underneath the ash lip, in front of the insert. Its function is to increase airflow through the heat exchanger and improve hot air circulation in the room. When used regularly, the blower can provide a small increase in efficiency, up to 2%. However, the use of a blower should not be used as a way to gain more output from an insert that is undersized for the space it is intended to heat.
Ensure the blower cord is not in contact with any surface of the insert to prevent electrical shock or fire damage. Do not run cord beneath the insert.
The blower has a rheostat that can be adjusted in three different positions; either from high (HI) to low (LO) or closed (OFF).
Allow the insert to reach operating temperature (approximately one hour) before turning on the blower, since increased airflow from the blower will remove heat and affect the start up combustion efficiency.

The blower is also equipped with a heat sensor. When the blower is ON, it will start automatically when the insert is hot enough and it will stop when the insert has cooled down.
Therefore, the blower speed control can be left at the desired setting.
4.2 Fire Screen
In the United States or in provinces with a particulate emission limit (eg. US EPA), the use of woodstoves with the door open with a rigid firescreen is prohibited. This insert has been tested for use with an open door in conjunction with a fire screen, sold separately. The fire screen must be properly secured on the insert to avoid any risk of sparks damaging the flooring. When the fire screen is in use, do not leave the insert unattended to respond promptly in the event of smoke spillage into the room. Potential causes of smoke spillage are described in Section «10. The Venting System» of this manual. See ««Appendix 7:
Optional Fire Screen Installation» for installation instructions.
OPERATING THE INSERT WITH A FIRE SCREEN INCREASES POSSIBILITIES OF GENERATING CARBON MONOXIDE. CARBON MONOXIDE IS AN ODOURLESS GAS THAT IS HIGHLY TOXIC WHICH CAN CAUSE DEATH AT HIGH CONCENTRATION IN AIR.
Burning Wood Efficiently
5.1 First Use
Two things happen when burning the first few fires; the paint cures and the internal components areconditioned. As the paint cures, some of the chemicals vaporize. The vapors are not poisonous,but they smell bad. Fresh paint fumes can also trigger false alarms in smoke detectors.
When lighting the heater for the first few times, it may be wise to open doors and windows toventilate the house.
Burn two or three small fires to begin the curing and conditioning process. Then build biggerand hotter fires until there is no longer paint smell from the insert. As hotter and hotter fires areburned, more of the painted surfaces reach the curing temperature of the paint. The smell ofcuring paint does not disappear until one or two very hot fires have been burned.
5.2 Lighting Fires
Each person heating with wood develops its own favorite way to light fires. Regardless of themethod chosen, the goal should be to have a hot fire burning, quickly. A fire that ignites fastproduces less smoke and deposits less creosote in the chimney.
Never use gasoline, gasoline-type lantern fuel (naphtha), fuel oil, motor oil, kerosene, charcoal lighter fluid, or similar liquids or aerosols to start or ‘freshen up’ a fire in this wood insert. Keep all such liquids well away from the insert while it is in use.
Here are three popular and effective ways to ignite wood fires.
5.2.1 Conventional Method
The conventional method to build a wood fire is to crumple 5 to 10 sheets of newspaper and place them in the firebox and hold them in place with ten pieces of kindling wood. The kindling should be placed on and behind the newspaper.
Then add two or three small pieces of firewood. Open the air intake control completely and ignite the newspaper. Leave the door slightly ajar.Once the fire has ignited, the door can be closed with the air control still fully open. When the kindling is almost completely burned, standard firewood pieces can be added.

Do not leave the insert unattended when the door is slightly open. Always close and latch the door after the fire ignites.
5.2.2 The Top Down Method
This method is the opposite of the conventional method and only works properly if well-seasoned wood is used.
Place three or four small, split, dry logs in the firebox. Arrange the kindling wood on the logs in two layers at right angles and place a dozen finely split kindling on the second row.
It is possible to use ragged paper but it may not hold in place since it tends to roll while it is burning. The best is to wrap a sheet on itself, grab the ends of the roll and make a knot.
Use four or five sheets of paper tied together and put them on top and around the kindling. Open the air intake control completely, ignite the paper and close the door.
The down fire method has two advantages over the traditional method: first, the fire does not collapse on itself, and it is not necessary to add wood gradually since the combustion chamber is full before the fire is lit.
5.2.3 Two Parallel Logs Method
Two spit logs are placed in the firebox with a few sheets of twisted newspapers in between the logs. Fine kindling is added across the two logs and some larger kindling across those, log cabin style. Newspaper is lit.
5.2.4 Using Fire Starters
Commercial fire starters can be used instead of a newspaper. Some of these starters are made of sawdust and wax and others are made of specialized flammable solid chemicals. Always follow the package directions when using.
Gel starters can also be used, but only to light a fire, in a cold combustion chamber without hot embers inside.
5.3 Combustion Cycles
Wood heating with a space heater is very different than other forms of heating. There will be temperature variations in different parts of the house and there will be temperature variations throughout day and night. This is normal, and for experienced wood burners these are advantages of zone heating wood burning.
Wood heaters don’t have a steady heat output. It is normal for the temperature to rise after a new load of wood is ignited and for its temperature to gradually decrease throughout the burning cycle. This increasing and decreasing temperature can be matched with the household routines. For example, the temperature in the area can be cooler when the household is active, and it can be warmer when it is inactive.
Wood burns best in cycles. A cycle starts when a new load of wood is ignited by hot coals and ends when that load has been consumed down to a bed of charcoal about the same size as it was when the wood was loaded.
Trying to produce a steady heat output by placing a single log on the fire at regular intervals is not recommended. Always place at least three, and preferably more pieces on the fire at a time so that the heat radiated from one piece helps to ignite the pieces next to it. Each load of wood should provide several hours of heating. The size of each load may vary depending on the amount of heat required.
Burning in cycles means the loading door does not need to be opened while the wood is flaming.
This is an advantage since it is preventing smoke leaking from the heater when the door is opened as a full fire is burning. This is especially true if the chimney is on the outside wall of the house.
If the door must be opened while the fire is flaming, fully open air control for a few minutes then open the door slowly.
5.4 Rekindling a Fire
When the temperature of the room is lower and all that remains is embers, it is time to reload.
Remove excess ash from the front of the firebox and bring the ashes forward. Place a new loadof wood on, and at the back of the embers. Open the air control completely and close the door.

Raking the coals is useful for two reasons. First, it brings them near where most of the combustion air enters the firebox. This will ignite the new load quickly. Secondly, the charcoal will not be smothered by the new load of wood. When the embers are simply spread inside the combustion chamber, the new load smoulder for a long time before igniting.
Close the air control only when the firebox is full of bright turbulent flames, the wood is charred, and its edges are glowing.
The heater should not be left unattended during ignition and the fire should not burn at full intensity for more than a few minutes.
When lighting a new load, the appliance produces a heat surge. This heat surge is pleasant when the room temperature is cool but can be unpleasant when the room is already warm. Therefore, it is best to let each load of wood burn completely so that the room cools down before putting a load of wood back on.
5.5 Removing Ashes
Ash should be removed from the firebox every two to three days of full time heating. Ash should not accumulate excessively in the firebox since it will affect the proper operation of the appliance.
The best time to remove ash is in the morning, after an overnight fire when the insert is relatively cold, but there is still a little chimney draft to draw the ash dust into the insert and prevent going out into the room.
Ashes almost always contain live embers that can stay hot for days and which release carbon monoxide gas. Ashes should be placed in a tightly covered metal container. The container must be placed on a non-combustible floor or on the ground well away from all combustible materials.
If the ashes are disposed of by burial in soil or otherwise locally dispersed, they should be kept in a closed metal container until they are completely cooled. No other waste should be placed in this container.
NEVER STORE ASHES INDOORS OR IN A NON-METALLIC CONTAINER OR ON A WOODEN DECK.
5.6 Air Intake Control
Once the firewood, firebox and chimney are hot, air intake can be reduced to achieve a steady burn.

As the air intake is reduced, the burn rate decreases. This has the effect of distributing the thermal energy of the fuel over a longer period of time. In addition, the flow rate of exhaust through the appliance and flue pipe slows down, which increases the duration of the energy transfer of the exhaust gases. As the air intake is reduced, the flame slows down.
If the flames diminish to the point of disappearing, the air intake has been reduced too early in the combustion cycle or the wood used is too wet. If the wood is dry and the air control is used properly, the flames should decrease, but remain bright and stable.
On the other hand, too much air can make the fire uncontrollable, creating very high temperatures in the unit as well as in the chimney and seriously damaging them. A reddish glow on the unit and on the chimney components indicates overheating. Excessive temperatures can cause a chimney fire.
5.7 Fire Types
Using the air intake control is not the only way to match the insert heat output to the desired temperature in the house. A house will need far less heating in October than in January to maintain a comfortable temperature. Filling the firebox full in fall weather will overheat the space.
Otherwise, the combustion rate will have to be reduced to a minimum and the fire will be smoky and inefficient. Here are some suggestions for building fires suitable for different heating needs.
5.7.1 Flash Fire
To build a small fire that will produce a low heat output, use small pieces of firewood and load them crisscross in the firebox. The pieces should only be 3″ to 4″ in diameter. After raking the coals, lay two pieces parallel to each other diagonally in the firebox and lay two more across them in the other direction. Open the air control fully and only reduce the air after the wood is fully flaming.
This kind of fire is good for mild weather and should provide enough heat for up to four hours.
Small fires like this are a good time to use softer wood species and avoid overheating the house.
5.7.2 Low and Long Output Fires
For a fire that will last up to eight hours but will not produce intense heat, use soft wood and place the logs compactly in the firebox. Before reducing the air intake, the load will have to burn at full heat for long enough for charring the surface of the logs. The flame must be bright before letting the fire burn by itself.
5.7.3 High Output Fires
When heating needs are high during cold weather, the fire should burn steadily and brightly. This is the time to use larger pieces of hardwood. Place the biggest pieces at the back of the firebox and place the rest of the pieces compactly. A densely built fire like this will produce the longest combustion this insert is capable of. Special attention must be paid when building fires like this since if the air intake is reduced too quickly, the fire could smoulder. The wood must be flaming brightly before leaving the fire to burn.
5.7.4 Maximum Burn Cycle Times
The burn cycle time is the period between loading wood on a coal bed and the consumption of that wood back to a coal bed of the same size. The flaming phase of the fire lasts for roughly the first half of the burn cycle and the second half is the coal bed phase during which there is little or no flame. The burning time expected from this insert, including both phases, will vary depending on a number of things, such as:
- firebox size,
- the amount of wood loaded,
- the species of wood,
- the wood moisture content,
- the size of the space to be heated,
- the climate zone where the house is, and
- the time of the year.
The table below gives an approximate maximum burn cycle times, based on firebox volume.
Table 1 : Approximate Maximum Burn Cycle Time
| FIREBOX VOLUME | MAXIMUM BURN CYCLE TIME |
| <1.5 cubic feet | 3 to 5 hours |
| 1.5 c.f. to 2.0 c.f | 5 to 6 hours |
| 2.0 c.f. to 2.5 c.f. | 6 to 8 hours |
| 2.5 c.f. to 3.0 c.f. | 8 to 9 hours |
| >3.0 c.f. | 9 to 10 hours |
A longer burning time is not necessarily an indication of efficient insert operation. It is preferable to build a smaller fire that will provide three or four hours of heating than to fully load the firebox for a much longer burn. Shorter burn cycles make it easier to match the heat output of the insert to the heat demand of the space.
5.7.5 Logs Orientation
In a relatively square firebox, the wood can be loaded north-south (ends of the logs visible) or east-west (sides of the logs visible).
North-south loads allow more wood to be loaded at the same time. On the other hand, they break into smaller pieces faster. North-south loading is good for high output, long lasting fires for cold weather.
East-west loads allow a limited amount of wood since too many logs could cause them to fall on the glass. East-west loads, placed in a compact way, take a long time before breaking down.
They are excellent for low-intensity, long-lasting fires in relatively mild weather.
5.7.6 Carbon Monoxide
When there is no more flame in the firebox and there are still some unburned logs, check outside if there is smoke coming out of the chimney. If this is the case, it means that the fire is out of air to burn properly. In this situation, the level of CO increases and it is important to react. Open the door slightly and move the logs with a poker. Create a passage for the air below by making a trench with the ember bed. Add small pieces of wood to restart the combustion.
Maintenance
This heater will give many years of reliable service if used and maintained properly. Internal components of the firebox such as firebricks or refractory panels, baffle and air tubes will wear over time. Defective parts should always be replaced with original parts see «Appendix 10:
Exploded Diagram and Parts List». To avoid premature deterioration, follow the lighting and reloading procedures in section «5. Burning Wood Efficiently» and also avoid letting the heater run with the air intake fully open for entire burn cycles.
6.1 Insert
6.1.1 Cleaning and Painting
Painted and plated surfaces can be wiped down with a soft, damp cloth. If the paint is scratched or damaged, it is possible to repaint the insert with a heat-resistant paint. Do not clean or paint the insert when it is hot. Before painting, the surface should be sanded lightly with sandpaper and then wiped off to remove dust. Apply two thin layers of paint.
6.1.2 Refractory Material and Baffle
Inspect the firebricks or the refractory panels and the baffle for damage periodically and replace anything that is cracked or broken.
Operation of the heater with a cracked or missing baffle may cause unsafe temperatures and hazardous conditions and will void the warranty.
6.2 Glass Door
6.2.1 Cleaning
Under normal conditions, the door glass should stay relatively clear. If the firewood is dry enough and the operating instructions in this manual are followed, a whitish, dusty deposit will form on the inner surface of the glass after a week or so of use. This is normal and can be easily removed when the heater is cold by wiping with a damp cloth or paper towel and then drying.
When the insert runs at a low combustion rate, light brown stains may form, especially in the lower corners of the glass. This indicates that the fire has been smoky and some of the smoke has condensed on the glass. It also indicates incomplete combustion of the wood, which also means more smoke emissions and faster formation of creosote in the chimney.

The deposits that form on the glass are the best indication of the fuel quality and success in properly using the insert. These stains can be cleaned with a special wood insert glass cleaner. Do not use abrasive products to clean the glass.
The goal should be having a clear glass with no brown stains. If brown stains appear regularly on the glass, something about the fuel or the operating procedure needs to be changed.
When brown streaks are coming from the edge of the glass, it is time to replace the gasket around the glass. Always replace the gasket with a genuine one. see «Appendix 10: Exploded Diagram and Parts List».
Do not clean the glass when the insert is hot.
Do not abuse the glass door by striking or slamming shut.
Do not use the insert if the glass is broken.
6.2.2 Replacement
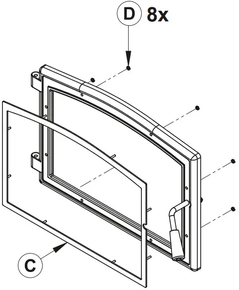
The glass used is a ceramic glass, 5/32″ (4 mm) thick, 16 ¾” x 10 7/16″ (415 mm x 265 mm) tested to reach temperatures up to 1400º F. If the glass breaks, it must be replaced with one having the same specification. Tempered glass or ordinary glass will not withstand the high temperatures of this unit.
To remove or replace the glass (D):

- Remove the door from its hinges and lay it on a soft, flat surface.
- Remove the screws (A), the glass retainers (B), and the metal frames (C).
- Remove the glass (D). If it is damaged install a new one in place. The replacement glass must have a gasket all around (see procedure below).
- Reinstall the glass, being careful to centre the glass in the door and not to over-tightening the retaining screw.
The two main causes of broken door glass are uneven placement in the door and overtightening the retaining screws.
6.2.3 Gasket
The glass gasket is flat, adhesive-backed, woven fibreglass. The gasket must be centred on the edge of the glass.
- Follow the steps of the previous section to remove the glass.
- Remove the old gasket and clean the glass thoroughly.
- Peel back a section of the paper covering the adhesive and place the gasket on a table with the adhesive side up.
- Stick the end of the gasket to the middle of one edge, then press the edge of the glass down onto the gasket, taking care that it is perfectly centred on the gasket.
- Peel off more of the backing and rotate the glass. The gasket must not be stretched during installation.
- Cut the gasket to the required length.
- Pinch the gasket onto the glass in a U shape, all around the glass.
6.3 Door
In order for the insert to burn at its best efficiency, the door must provide a perfect seal with the firebox. Therefore, the gasket should be inspected periodically to check for a good seal. The tightness of the door seal can be verified by closing and latching the door on a strip of paper.
The test must be performed all around the door. If the paper slips out easily anywhere, either adjust the door or replace the gasket.

6.3.1 Adjustment
The gasket seal may be improved with a simple latch mechanism adjustment:
- Remove the split pin by pulling and turning it using pliers.
- Turn the handle one counterclockwise turn to increase pressure.
- Reinstall the split pin with a small hammer.

6.3.2 Gasket
It is important to replace the gasket with another having the same diameter and density to maintain a good seal.

- Remove the door and place it face-down on something soft like a cushion of rags or a piece of carpet.
- Remove the old gasket from the door. Use a screwdriver to scrape the old gasket adhesive from the door gasket groove.
- Apply a bead of approximately 3/16″ (5 mm) of high temperature silicone in the door gasket groove. Starting from the middle, hinges side, press the gasket into the groove. The gasket must not be stretched during installation.
- Leave about ½” long of the gasket when cutting and press the end into the groove.
Tuck any loose fibers under the gasket and into the silicone. - Close the door. Do not use the insert for 24 hours.
6.3.3 Door Alignment
To align, open the door and loosen the pressures screws located on the lower and upper hinges of the door using a 3/32” Allen key to free the adjustable hinge rods.
To align, open the door and loosen the pressures screws located on the lower and upper hinges of the door using a 3/32” Allen key to free the adjustable hinge rods.

Using a flat screwdriver, turn the adjustable hinge rods in the direction shown to adjust the doors.
Tighten all door hinge pressure screws when they are at the desired positions. Configurations 1-2-34-5-6, show in which direction these act on the adjustment of the door.

6.4 Exhaust System
Wood smoke can condense inside the chimney, forming a inflammable deposit called creosote.
If creosote builds up in the system, it can ignite when a hot fire is burned in the insert. A very hot fire can progress to the top of the chimney. Severe chimney fires can damage even the best chimneys. Smouldering, smoky fires can quickly cause a thick layer of creosote to form. When the insert is operated properly, the exhaust from the chimney is mostly clear and creosote builds up more slowly.
«Creosote – Formation and Need to Removal
When wood is burned slowly, it produces tar and other organic vapors, which combine with expelled moisture to form creosote. The creosote vapors condense in the relatively cooler chimney flue of a slow-burning fire. As a result, creosote residue accumulates on the flue lining. When ignited this creosote makes an extremely hot fire.
The chimney connector and chimney should be inspected at least once every two months during the heating season to determine if a creosote buildup has occurred. If creosote has accumulated (⅛” [3mm] or more it should be removed to reduce the risk of a chimney fire.
6.4.1 Cleaning frequency
It is not possible to predict how much or how quickly creosote will form in the chimney. It is important, therefore, to check the build-up in the chimney monthly until the rate of creosote formation is determined. Even if creosote forms slowly in the system, the chimney should be cleaned and inspected at least once each year.
Establish a routine for the fuel, wood burner and firing technique. Check daily for creosote build-up until experience shows how often you need to clean to be safe. Be aware that the hotter the fire, the less creosote is deposited and weekly cleaning may be necessary in mild weather even though monthly cleaning may be enough in the coldest months. Contact your local municipal or provincial fire authority for information on how to handle a chimney fire. Have a clearly understood plan to handle a chimney fire.
6.4.2 Sweeping the Chimney

Chimney sweeping can be a difficult and dangerous job.People with no chimney sweeping experience will oftenprefer to hire a professional chimney sweep to inspectand clean the system for the first time. After seeing thecleaning process, some will choose to do it themselves.
The chimney should be checked regularly for creosotebuild-up. Inspection and cleaning of the chimney can befacilitated by removing the baffle. See «Appendix 8: AirTubes and Baffle Installation» for more details.
6.4.3 Chimney Fire
Regular chimney maintenance and inspection can prevent chimney fires. If you have a chimney fire, follow these steps:
- Close the insert door and the air intake control;
- Alert the occupants of the house of the possible danger;
- If you require assistance, alert the fire department;
- If possible, use a dry chemical fire extinguisher, baking soda or sand to control the fire. Do not use water as it may cause a dangerous steam explosion.
Do not use the appliance again until the insert and its chimney have been inspected by a qualified chimney sweep or a fire department inspector.
Masonry Fireplace Requirements
The masonry fireplace must meet the minimum requirements found in the building code enforced locally, or the equivalent, for a safe installation. Contact the local building inspector for requirements in the area. An inspection of the fireplace should include the following:
7.1 Fireplace and Chimney Condition
The masonry fireplace and chimney should be inspected prior to installation, to confirm that they are free from cracks, loose mortar, creosote deposits, blockage, or other signs of deterioration.
If evidence of deterioration is noted, the fireplace or chimney should be upgraded and cleaned prior to installation.
Masonry or steel, including the damper plate, may be removed from the smoke shelf and adjacent damper frame if necessary to accommodate the insert’s chimney liner, provided that their removal will not weaken the structure of the fireplace and chimney, and will not reduce protection for combustible materials to less than what is required by the building code.
Removal of any parts, which render the fireplace unfit for use with solid fuel, requires the fireplace to be permanently labelled by the installer as being no longer suitable for solid fuel, until the removed parts are replaced and the fireplace is restored to its original certified condition.
Also, any air vents, grilles, or louvers that allow air circulation around the fireplace must not be removed or blocked.
7.2 Chimney Caps
Mesh type chimney caps must have provision for regular cleaning, or the mesh should be removed to eliminate the potential of plugging.
7.3 Adjacent Combustibles
The fireplace should be inspected to make sure that there is adequate clearance to combustibles, both exposed combustibles to the top, side, and front as well as concealed combustibles, in the chimney and mantle area. The local inspector should have information on whether older fireplaces are of adequate construction.
7.4 Opening Size
Refer to section «9.3 Minimum Masonry Opening and Clearances to Combustibles» for suitable size fireplace openings.
7.5 Masonry Fireplace Throat Damper
If the fireplace draft control system is to remain in the masonry fireplace, it must be locked open for easy access to the chimney liner or removed entirely. If it is removed from the masonry hearth, the notice plate 27009 must be installed in a visible place, inside the masonry hearth.
The plate can be found in the owner’s manual kit.
THIS FIREPLACE MAY HAVE BEEN ALTERED TO ACCOMMODATE A FIREPLACE INSERT AND SHOULD BE INSPECTED BY A QUALIFIED PERSON PRIOR TO RE-USE AS A CONVENTIONAL FIREPLACE.
Safety Information and Standards
- The information given on the certification label affixed to the appliance always overrides the information published, in any other media (owner’s manual, catalogues, flyers, magazines and web sites).
- Mixing of appliance components from different sources or modifying components may result in hazardous conditions. Where any such changes are planned, SBI should be contacted in advance.
- Any modification of the appliance that has not been approved in writing by the testing authority violates CSA B365 (Canada), and ANSI NFPA 211 (USA).
- Connect this insert only to a listed stainless steel chimney liner for use with solid fuel.
- If required, a supply of combustion air shall be provided to the room.
- CAUTION: DO NOT CONNECT TO OR USE IN CONJUNCTION WITH ANY AIR DISTRIBUTION DUCTWORK UNLESS SPECIFICALLY APPROVED FOR SUCH INSTALLATION.
- CAUTION: DO NOT CONNECT THIS UNIT TO A CHIMNEY FLUE SERVING ANOTHER APPLIANCE.
- The insert and its stainless steel chimney liner are to be installed only within a lined masonry chimney and masonry fireplace conforming to building codes for use with solid fuel. Do not remove bricks or mortar from the existing fireplace when installing the insert.
- This stove must be installed as a free-standing heater with the clearances listed in the manufacturer’s installation instructions. It is strictly forbidden to install this stove in a factory-built fireplace.
8.1 Regulations Covering Insert Installation
When installed and operated as described in these instructions, this wood insert is suitable for use in residential installations but is not intended for installation in a bedroom.
In Canada, the CSA B365 Installation Code for Solid Fuel Burning Appliances and Equipment and the CSA C22.1 Canadian National Electrical Code are to be followed in the absence of local code requirements. In the USA, the ANSI NFPA 211 Standard for Chimneys, Fireplaces, Vents and Solid Fuel-Burning Appliances and the ANSI NFPA 70 National Electrical Code are to be followed in the absence of local code requirements.
This insert must be installed with a continuous chimney liner of 6″ diameter extending from the insert to the top of the chimney. The chimney liner must conform to the Class 3 requirements of CAN/ULC-S635, Standard for Lining Systems for Existing Masonry or Factory-built Chimneys and Vents, or CAN/ULC-S640, Standard for Lining Systems for New Masonry Chimneys or UL 1777,Standard for Safety for Chimney Liners.
The insert is not approved for use with a so-called “positive flue connection” to the clay tile of a masonry chimney.
8.2 Certification Label
Since the information given on the certification label attached to the appliance always overrides the information published in any other media, it is important to refer to it to have a safe and compliant installation. The model and the serial number can also be found on the label.
The certification label is located at the bottom of the insert, behind the blower. It is recommended to note the insert serial number on page 5 of this manual. It will be needed to identify the version of the appliance in the event replacement parts or technical assistance is required.
Clearances to Combustible Material
When the insert is installed so that its surfaces are at or beyond the minimum clearances specified, combustible surfaces will not overheat under normal and even abnormal operating conditions.
NO PART OF THE INSERT MAY BE LOCATED CLOSER TO THE COMBUSTIBLE THAN THE MINIMUM CLEARANCE FIGURES GIVEN.
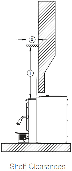
9.1 Installation of a Combustible Mantel Shelf
It is possible to install a combustible shelf with a maximum depth of 12″ (305 mm) at a height ofat least 27″ (686 mm) above the insert. At a height of more than 27″ (686 mm), the shelf muststill have a maximum depth of 12″ (305 mm).
Table 2 : Mantel Shelf Clearances
| MAXIMUM MANTEL SHELF DIMENSION (X) | MANTEL SHELF CLEARANCES (I) |
| 12″ (305mm) max. | 27″ (686 mm) min. |

9.2 Floor Protection
It is necessary to have a floor protection made of non-combustible materials that meets the measurements specified in the «Table 3 : Floor Protection» below.
Table 3 : Floor Protection
| FLOOR PROTECTION | ||
| Canada | USA | |
| B15 | 18″ (457 mm) | 16″ (406 mm) |
| M | 8″ (203 mm) | N/A |
| N | N/A | 8″ (203 mm) |

15From door opening. The depth of the hearth extension in front of the insert is included in the calculation of the floor protector’s dimensions. The masonry hearth should be at least 6″ (152 mm) higher than the combustible floor in front of it and a floor protection must extend at least 16″ (406 mm USA) and at least 18″ (457 mm Canada) without an R value. If the hearth elevation is lower than 6″ (152 mm), the non-combustible (B) floor protection in front of the insert should have an R value equal or greater than 2.00 and shall extend 27″ (686 mm) in front of the unit.
To determine the need to add floor protection (D) beyond the hearth extension (A), the following calculation must be done using the data in «Table 4 : Data for Floor Protection Calculation» of this section: D = B – G, where G = A-C.

Table 4 : Data for Floor Protection Calculation
| A | B | C | D | E | Air Jacket | |
| Maximum Extended | Dimension of the hearth extension | See section 9.2.1 and 9.2.2 |
3 ⅝” (93 mm) |
G = (A-C) D=B- G | 7 ⅛” (181 mm) |
Back from fireplace facing 1 ⅜” |
| Minimum Extended | Dimension of the hearth extension | See section 9.2.1 and 9.2.2 |
2 ¼” (57 mm) |
G = (A-C) D=B- G | 8 ½” (216 mm) |
Back from fireplace facing 2 ¾” |
If the value (D) is negative or zero, additional floor protection in front of the unit is not needed because the masonry fireplace hearth extension is long enough. If the value (D) is positive, an additional floor protection in front of the hearth extension at least equivalent to the result (D) must be added.
9.2.1 Installation Raised of 6″ (152 mm) and Less
If non-combustible material floor protection needs to be added in front of and level with the hearth extension of the masonry fireplace (F = 6″ [152 mm) or less), an R-value equal to or greater than 2.00 is required and should extend at least 27″ (686 mm) in front of the unit (B).
Refer to «Additional Floor Protection – Not Raised Installation»
9.2.2 Installation Raised of More Than 6″ (152 mm)
If the extension of the masonry hearth is raised at least 6″ (152 mm) from the floor protection, a noncombustible material, without an R-value, must extend at least 16″ (406 mm in USA) or 18″ (457 mm in Canada) in front of the unit (B). Refer to «Additional Floor Protection – Raised Installation».
9.2.3 R Value
There are two ways to calculate the R-value of the floor protection. First, by adding the R-values of materials used, or by the conversion if the K factor and thickness of the floor protection are given.
To calculate the total R value from R values of the materials used, simply add the R-values of materials.
If the result is equal to or greater than the R-value requirements, the combination is acceptable.
R-values of some selected materials are shown below :
Table 5 : Thermal Characteristics of Common Floor Protection Materials16
| MATERIAL | CONDUCTIVITY (K) PER INCH | RESISTANCE (R) PER INCH THICKNESS |
| Micore® 160 | 0.39 | 2.54 |
| Micore® 300 | 0.49 | 2.06 |
| Durock® | 1.92 | 0.52 |
| Hardibacker® | 1.95 | 0.51 |
| Hardibacker® 500 | 2.3 | 0.44 |
| Wonderboard® | 3.23 | 0.31 |
| Cement mortar | 5.00 | 0.2 |
| Common brick | 5.00 | 0.2 |
| Face brick | 9.00 | 0.11 |
| Marble | 14.3 – 20.00 | 0.07 – 0.05 |
| Ceramic tile | 12.5 | 0.008 |
| Concrete | 1.050 | 0.950 |
| Mineral wool insulation | 0.320 | 3.120 |
| Limestone | 6.5 | 0.153 |
| Ceramic board (Fibremax) | 0.450 | 2.2 |
| Horizontal still air (⅛”thick)17 | 0.135 | 0.920** |
Example:
Required floor protection R of 1.00. Proposed materials: four inches of brick and one inch of Durock® board.
Four inches of brick (R = 4 x 0,2 = 0,8) plus 1 inch of Durock® (R = 1 x 0.52 = 0.52).
0.8 + 0.52 = 1.32.
This R value is larger than the required 1.00 and is therefore acceptable.
In the case of a known K and thickness of alternative materials to be used in combination, convert all K values to R by dividing the thickness of each material by its K value. Add R values of the proposed materials as shown in the previous example.
Example:
K value = 0.75
Thickness = 1
R value = Thickness/K = 1/0.75 = 1.33
16 Information as reported by manufacturers and other resources
17 Horizontal still air can’t be «stack» to accumulate R-values; each layer must be separated with another non-combustible material.
9.3 Minimum Masonry Opening and Clearances to Combustibles

| MINIMUM CLEARANCES | |
| F | 19″ (483 mm) |
| G | 9″ (229 mm) |
| H | 27″ (686 mm) |
| I | 27″ (686 mm) |
| Q | 84″ (213 cm) |
| MINIMUM MASONRY OPENING | |
| J | 26 ¼” (660 mm) |
| K18 | 31″ (787 mm) |
| L | 18 3/8″ (457 mm) |
| MAXIMUM THICKNESS | |
| O | 5″ (127 mm) |
| P | 12″ (305 mm) |
18 If a fresh air intake is required, it is recommended to add at least 4″ to the width of the minimum opening of the hearth.
The Venting System
10.1 General
The venting system, made of the chimney and the liner inside the chimney, acts as the engine that drives the wood heating system. Even the best insert will not function safely and efficiently as intended if it is not connected to a suitable chimney and liner system.
The heat in the flue gases that pass from the insert into the chimney is not waste heat. This heat is what the chimney uses to make the draft that draws in combustion air, keeps smoke inside the insert and safely vents exhaust to outside. The heat in the flue gas can be seen as the fuel the chimney uses to create draft.
10.2 Block-off Plate
To reduce the possibility of a cold air back draft from the masonry chimney into the room, theinstallation of a sheet metal block-off plate (A) is recommended. When fabricating the block-offplate, cut the pipe hole slightly larger than the liner diameter and pass the liner through the hole.Install the block-off plate and secure it with masonry nails. Seal the joints between the plate andthe chimney with high temperature silicone and use stove cement to seal between the pipe andthe plate.
In Canada, the CSA B365 Standard permits «Roxul» type wool to be stuffed around the liner asit passes through the throat area as an alternative to a sheet metal block-off plate. However, thismethod is less efficient than using a plate.

10.3 Suitable Chimneys
This wood insert will provide optimum efficiency and performance when connected to a 6″ diameter chimney liner. The connection to a chimney having a diameter of at least 5″ (Canada only) is permitted if it allows the proper venting of combustion gases and that such application is verified and authorized by a qualified installer. Otherwise, the diameter of the flue should be 6″. The reduction of the liner diameter to less than 6″ should only be done if the total height of the masonry chimney is greater than 20 feet.
10.4 Chimney Liner Installation
The use of a chimney liner (rigid or flexible) is recommended to ensure the best performance. To ensure an optimal draft, it is also strongly recommend adding a minimum of 12″ rigid liner between the top of the masonry chimney and the rain cap. In all cases, liners should be installed in accordance with the liner manufacturer’s instructions, including instructions for extension above the masonry.

Use chimney liners listed UL 1777, ULC S635 or CAN/ ULC S640.
In order to connect the insert to the liner, refer to section «10.5 Liner Connection».
ATTENTION INSTALLER:
When positioning the unit in a fireplace opening, prior to the flue installation, install the insert into the opening until the top lip of air jacket is flush with fireplace facing.
If lag bolts or anchors are to be used to secure the insert, the holes location should be marked with the unit in place. Remove the insert and locate the anchors.
10.5 Liner Connection
Two options are possible to connect the liner to the insert :
10.5.1 Liner Starter Adaptor
Install the chimney liner starter adapter, provided with the chimney liner. Follow the chimney liner starter adapter manufacturer’s instructions.
In order to connect the chimney liner starter adapter to the flue outlet, install three brackets with the three screws, all provided in the user manual, on top of the insert. The long end of the brackets must be attached to the insert. Insert the chimney liner into the flue collar of the unit and secure the liner to the brackets with three self-tapping screws (not included).

The dealer may offer a liner fastening system, sold separately. Follow the installation instructions provided with the liner fastening system.

10.5.2 Liner Offset Adapter
A liner offset adapter, sold separately, can also be installed. This should only be installed if no other option is possible and if the total height of the fireplace and chimney is at least 20 feet.
This kind of adaptor is restricting the free flow of exhaust gases and may result in smoke rollout from the insert when the door is open for reloading. When installing a liner offset adapter, secure the three brackets provided in the user manual on top of the insert.
The long end of the brackets must be attached to the insert. Then, follow the instructions in the manual provided with the liner offset adapter kit.

10.6 Minimum Chimney Height
The top of the chimney should be tall enough to be above the air turbulence caused when wind blows against the house and its roof. The chimney must extend at least 3 ft. (1 m) above the highest point of contact with the roof, and at least 2 ft.(60 cm) higher than any roof line or obstacle within a horizontal distance of 10 ft. (3 m).

10.7 Chimney Location
Because the venting system is the engine that drives the wood heating system, it must have the right characteristics. The signs of bad system design are cold back drafting when there is no fire in the insert, slow kindling of new fires, and smoke roll-out when the door is open for loading.
When it is cold outside, the warm air in the house is buoyant so it tends to rise. This creates a slight pressure difference in the house. Called ‘stack effect’, it produces a slightly negative pressure in the lower part of the house (compared to the outside) and a slightly positive pressure zone in the high part of the house. If there is no fire burning in a heater connected to a chimney that is shorter than the warm space inside the house, the slight negative pressure in the lower part of the house will compete against the desired upward flow in the chimney. This occurs for the two following reasons:
First, the chimney runs up the outside of the house, so the air in it is colder and denser than the warm air in the house.
And second, the chimney is shorter than the heated space of the house, meaning the negative pressure in the lower part of the house will draw cold air down the chimney, through the insert and into the room. Even the finest insert will not work well when connected to this chimney.

10.8 Supply of Combustion Air
In Canada, wood inserts are not required to have a combustion air supply from outside. Research has shown that outside air supply do not compensate for the depressurization of the house and may not be sufficient to provide a supply of combustion air in windy weather. However, to reduce the risks against smoke spillage due to house depressurization, a carbon monoxide (CO) detector is required in the room where the insert is installed. The CO detector will provide warning if for any reason the wood insert fails to function correctly.
10.8.1 Air Supply in Conventional Houses
The safest and most reliable supply of combustion air for a wood insert is from the room in whichit is installed. Room air is already preheated so it will not chill the fire, and its availability is notaffected by wind pressures on the house. Contrary to commonly expressed concerns, almostall tightly sealed new houses have enough natural leakage to provide a small amount of airneeded by the insert. The only case in which the wood insert may not have adequate access tocombustion air is if the operation of a powerful exhaust device (such as a kitchen range exhaust)causes the pressure in the house to become negative relative to outdoors.

If an air intake is installed through the wall of the house, its pressure can vary during windy weather. If there are changes in wood insert performance in windy weather, and in particular if smoke puffs from the insert, the air duct should be disconnected from the insert to determine if it is the cause of the problem. In some windy conditions, negative pressure at the duct weather hood outside the house wall may draw hot exhaust gases from the insert backwards through the duct to outdoors. Check the outdoor air duct for soot deposits when the full system is cleaned and inspected at least once each year.
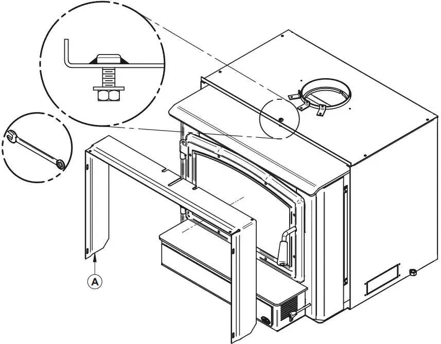
APPENDIx 1: BLOWER AND ASH LIP INSTALLATION
- Install the ash lip (A) on the insert with three screws (B).

- Center the blower on the ash lip and push it against the firebox. Then push it until it clips.

APPENDIx 2: DOOR OVERLAY INSTALLATION
Position the overlay (C) on the door frame and secure it in place from behind using the screws (D). To ease the installation, do not tighten the screws until they are all installed.
Note: It is not necessary to remove the glass to install the overlay.

APPENDIx 3: FRESH AIR INTAKE KIT INSTALLATION
Note : The fresh air intake kit may be installed on the right or left end side of the unit.

- Using pliers, remove the rectangular metal plate (A) retained by the micro-seals to clear the opening for the outside air intake.

- Install the fresh air intake adapter (B) with four screws (C) then secure the flexible pipe 19 (E) (not included) to the adapter (B) using one of the pipe clamps (D). Secure the other end of the pipe to the outside wall termination (F) using the other pipe clamp (D). The outside wall termination (F) must be installed outside of the home.
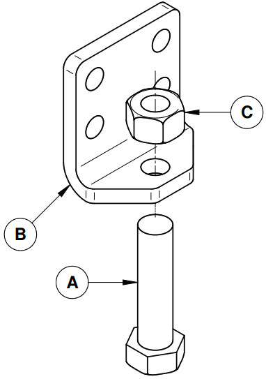
APPENDIx 4: INSTALLATION AND SETTING OF THE LEVELING SYSTEM
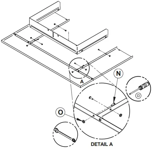
- With the 2x bolts (A – 30051), 2x supports (B – 31365), 2x nuts (C – 30423) and 4 screws (D – 30094) supplied with the insert’s manual kit. Pre-assemble the leveling systems by screwing the bolt (A) to the maximum into the support (B). Then screw the nut (C) without tightening it.

- Install the leveling system on both side at the back of the unit with 2 screws (D) using a powerdrill with a 5/16″ hex head.

- With a 9/16″ wrench, adjust the bolt (A) on both sides to level the insert in its masonry hearth.
Once the unit leveled, secure it in place by tightening the nuts (C).

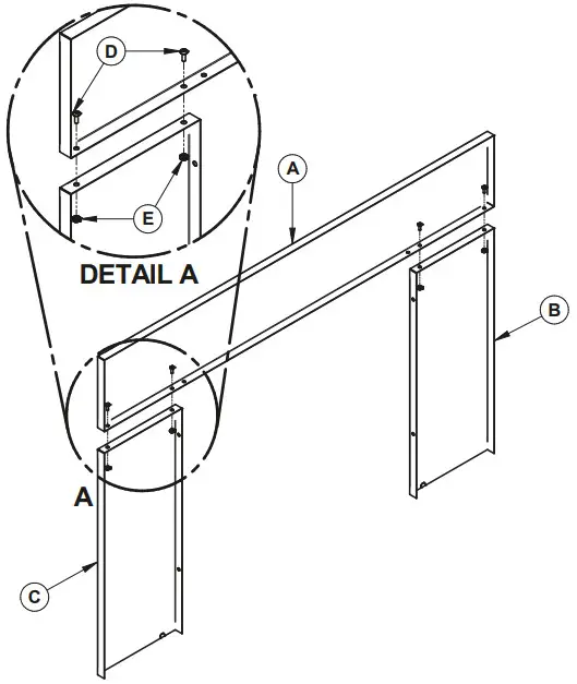
APPENDIx 5: FACEPLATE AND TRIMS INSTALLATION
Illustrations may vary by model, but the assembly method remains the same.
Hardware included with the faceplate :
- Bolts #10-24 x 1/2″ (8x)
- Decorative molding fasteners (2x)
- Kit of molding brackets and screws (2x)
- Nuts #10-24 (8X)

- Remove the faceplate extension (K) secured between the firebox and the convection air jacket.

- Place the faceplate panels with the finished side down on a flat, soft, non-abrasive surface.
Line up the holes of the upper faceplate panel (A) with the holes of the side panels (B) and (C).
Secure them together using four bolts (D) and nuts (E) provided.

- Partially thread the screws (H) on the trim’s corner bracket (G) then superimpose the corner brackets (F) and (G) as shown.

- Insert the superimposed brackets in the groove of each decorative trim (T), (U) and (V). Align the corners of the angled side of each trim, and then tighten the screws (S) to secure the trims.

- Align the trim assembly with the left and right edge of the faceplate and slowly slide it down over the faceplate.

- Secure the trim to the faceplate by squeezing the eight trim retainers (L) between the inner edge of the trim and the front of the faceplate.

- Align the holes in the faceplate extension (M) with the holes in each faceplate side panels.

- Secure both assemblies together using 6 bolts (N) and nuts (O) provided.

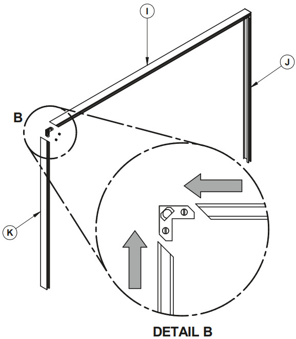
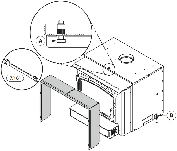
- Center the insert into the fireplace opening.
- Align the notch in the faceplate extension with the bolt (A) fastened underneath the top of the air jacket. Slide the faceplate extension between the top of the air jacket and the bolt head (A) to the desired distance.
If necessary, adjust the height of the insert using the levelling system (B) on each side of the insert until the faceplate is properly seated on the floor of the hearth extension. - Once the faceplate is in place, secure the assembly by tightening the bolt (A) using a 7/16″ open end wrench.
APPENDIx 6: LOG RETAINERS INSTALLATION


APPENDIx 7: OPTIONAL FIRE SCREEN INSTALLATION
In the United States or in provinces with a particulate emission limit (eg. US EPA), the use of woodstoves with the door open with a rigid firescreen is prohibited.
- Open the door.

- Hold the fire screen by the two handles and bring it close to the door opening.

- Lean the upper part of the fire screen against the top door opening making sure to insert the top fire screen brackets behind the primary air deflector.
- Lift the fire screen upwards and push the bottom part towards the insert then let the fire screen rest on the bottom of the door opening.
Warning: Never leave the insert unattended while in use with the fire screen.

APPENDIx 8: AIR TUBES AND BAFFLE INSTALLATION
- Starting with the rear tube, lean and insert the right end of the secondary air tube into the rear right channel hole. Then lift and insert the left end of the tube into the rear left channel.

- Align the notch in the left end of the tube with the key of the left air channel hole. Using a « Wise grip » hold the tube and lock it in place by turning the tube as shown. Make sure the notch reaches the end of the key way.
- Install the baffle.
- Repeat steps 1 and 2 for the three other tubes.
- To remove the tubes use the above steps in reverse order.

Note that secondary air tubes (A) can be replaced without removing the baffle board (B) and that all tubes are identical.

APPENDIx 9: REMOVAL INSTRUCTIONS
For inspecting purposes, the insert may need to be removed. To remove the insert, follow these instructions:
- Unscrew the faceplate fastener (C) holding the faceplate (B) on the insert.
- Remove faceplate (B) by pulling on it.
- Remove the blower assembly (A).
- Remove the three screws securing the pipe connector (D).
- Unscrew the bolts securing the insert to the floor on each side of the unit (E).

APPENDIx 10: ExPLODED DIAGRAM AND PARTS LIST

IMPORTANT: THIS IS DATED INFORMATION. When requesting service or replacement parts for this unit, please provide the model number and the serial number. We reserve the right to change parts due to technology upgrades or availability. Contact an authorized dealer to obtain any of these parts. Never use substitute materials. Use of non-approved parts can result in poor performance and safety hazards.
| # | Item | Description | Qty |
| 1 | AC01281 | RIGID FIRESCREEN | 1 |
| 2 | 30898 | ROUND WOODEN BLACK HANDLE DULL BLACK FINISH | 3 |
| 3 | OA10163 | BLACK DOOR OVERLAY | 1 |
| 4 | SE24297 | OSBURN 3500 DOOR ASSEMBLY | 1 |
| 5 | AC06500 | SILICONE AND 5/8″ X 8′ BLACK DOOR GASKET KIT | 1 |
| 6 | SE65024 | REPLACEMENT HANDLE WITH LATCH KIT | 1 |
| 7 | AC09185 | DOOR LATCH KIT | 1 |
| 8 | 30187 | STAINLESS WASHER ID 17/64″ X OD 1/2″ | 2 |
| 9 | 30025 | 1/4-20 X 1/2″ PAN-HEAD QUADREX BLACK SCREW | 1 |
| 10 | SE70902 | OSBURN DOOR GLASS | 1 |
| 11 | AC06400 | 3/4″ (FLAT) X 6′ BLACK SELF-ADHESIVE GLASS GASKET | 1 |
| 12 | PL70814 | GLASS FRAME | 2 |
| 13 | SE53585 | GLASS RETAINER KIT WITH SCREWS (12 PER KIT) | 1 |
| 14 | SE70933 | ASH LIP ASSEMBLY | 1 |
| 15 | 30206 | ZINC WASHER 5/16″ ID X 3/4″OD | 1 |
| 16 | 30064 | 3/16″ X 1″ CLEVIS PIN | 1 |
| 17 | PL70921 | AIR CONTROL DAMPER | 1 |
| 18 | 30059 | 5/32″ ID PUSHNUT | 1 |
| 19 | 30506 | SCREW PAN TORX TYPE F 1/4-20 X 1″ BLACK | 1 |
| 20 | 30102 | 1/4″ CAST STEEL AIR CONTROL HANDLE INCLUDES MOUNTING SCREW | 1 |
| 21 | SE70920 | AIR CONTROL ROD ASSEMBLY | 1 |
| 22 | 30060 | METAL SCREW #8 X 3/4″ QUADREX SELF TAPPING TEK BLACK | 1 |
| 23 | PL75315 | AIR CONTROL ROD BRACKET | 1 |
| 24 | PL70937 | RIGHT OR LEFT DECORATIVE SIDE PANEL | 2 |
| 25 | 30337 | SQUARE HEAD SET SCREW 1/2-13 X 1-3/4″ | 2 |
| 26 | SE31365 | INSERT LEVELING BRACKET SYSTEM | 2 |
| 27 | PL70939 | FACEPLATE EXTENSION | 1 |
| 28 | 30507 | BLACK TORX SCREW WITH FLAT HEAD TYPE F 1/4-20 X 3/4″ | 3 |
| 29 | 29011 | 4″ X 9″ X 1 1/4″ REFRACTORY BRICK HD | 4 |
| 30 | 29020 | 4 1/2″ X 9» X 1 1/4″ REFRACTORY BRICK HD | 17 |
| 31 | PL36056 | 2″ X 9″ 1 1/4″ REFRACTORY BRICK HD | 8 |
| 32 | PL36910 | 4 1/2» X 7 1/4» X 1 1/4″ REFRACTORY BRICK HD | 1 |
| 33 | PL70864 | SECONDARY AIR TUBE | 4 |
| 34 | 21565 | C-CAST 3.5 SERIE BAFFLE 22″ X 14″ X 1 1/4″ | 1 |
| 35 | OA10128 | BLACK LARGE FACEPLATE TRIMS (32″ X 50″) | 1 |
| 36 | OA10125 | BLACK FACEPLATE TRIMS (32″ X 44″) | 1 |
| 37 | OA10033 | LARGE FACEPLATE (32″ X 50″) | 1 |
| 38 | PL70943 | FACEPLATE TOP PANNEL 32 X 50 | 1 |
| 39 | PL70944 | FACEPLATE SIDE PANNEL 32 X 50 | 2 |
| 40 | OA10032 | MEDIUM FACEPLATE (32″ X 44″) | 1 |
| 41 | PL70942 | FACEPLATE TOP PANNEL 32 X 44 | 1 |
| 42 | PL70941 | FACEPLATE SIDE PANNEL 32 S 44 | 2 |
| 43 | SE18286 | BLOWER ASSEMBLY | 1 |
| 44 | 60013 | POWER CORD 96″ X 18-3 type SJT (50 pcs per carton) | 1 |
| 45 | 44028 | CERAMIC THERMODISC F110-20F | 1 |
| 46 | 44089 | DOUBLE CAGE BLOWER 144 CFM 115V – 60Hz – 1.1A | 1 |
| 47 | 44085 | RHEOSTAT KNOB | 1 |
| 48 | 44087 | RHEOSTAT NUT | 1 |
| 49 | 44080 | RHEOSTAT WITHOUT NUT (MODEL KBMS-13BV) | 1 |
| 50 | SE46180 | OSBURN 3500 ONSERT INSTRUCTION MANUAL KIT | 1 |
| 51 | 21564 | C-CAST 3.5 SERIE INSULATION TOP | 1 |
| 52 | PL34052 | LINER FIXATION BRACKET | 3 |
| 53 | AC01298 | 5″Ø FRESH AIR INTAKE KIT | 1 |
| 54 | AC05959 | METALLIC BLACK STOVE PAINT – 342 g (12oz) AEROSOL | 1 |
OSBURN LIMITED LIFETIME WARRANTY
The warranty of the manufacturer extends only to the original retail purchaser and is not transferable. This warranty covers brand new products only, which have not been altered, modified nor repaired since shipment from factory. Proof of purchase (dated bill of sale), model name and serial number must be supplied when making any warranty claim to your OSBURN dealer.
This warranty applies to normal residential use only. This warranty is void if the unit is used to burn material other than cordwood (for which the unit is not certified by EPA) and void if not operated according to the owner’s manual. Damages caused by misuse, abuse, improper installation, lack of maintenance, over firing, negligence or accident during transportation, power failures, downdrafts, venting problems or under-estimated heating area are not covered by this warranty. The recommended heated area for a given appliance is defined by the manufacturer as its capacity to maintain a minimum acceptable temperature in the designated area in case of a power failure.
This warranty does not cover any scratch, corrosion, distortion, or discoloration. Any defect or damage caused by the use of unauthorized or other than original parts voids this warranty. An authorized qualified technician must perform the installation in accordance with the instructions supplied with this product and all local and national building codes. Any service call related to an improper installation is not covered by this warranty.
The manufacturer may require that defective products be returned or that digital pictures be provided to support the claim. Returned products are to be shipped prepaid to the manufacturer for investigation. Transportation fees to ship the product back to the purchaser will be paid by the manufacturer. Repair work covered by the warranty, executed at the purchaser’s domicile by an authorized qualified technician requires the prior approval of the manufacturer. All parts and labour costs covered by this warranty are limited according to the table below.
The manufacturer, at its discretion, may decide to repair or replace any part or unit after inspection and investigation of the defect. The manufacturer may, at its discretion, fully discharge all obligations with respect to this warranty by refunding the wholesale price of any warranted but defective parts. The manufacturer shall, in no event, be responsible for any uncommon, indirect, consequential damages of any nature, which are in excess of the original purchase price of the product. A one-time replacement limit applies to all parts benefiting from lifetime coverage. This warranty applies to products purchased after June 1 st , 2015.
| DESCRIPTION | WARRANTY APPLICATION* | |
| PARTS | LABOUR | |
| Combustion chamber (welds only) and cast iron door frame | Lifetime*** | 5 years |
| Ceramic glass**, plating (manufacturing defect**), and convector air-mate | Lifetime*** | N/A |
| Surrounds, heat shields, ash drawer, steel legs, pedestal, trims (aluminum extrusions), vermiculite, C-Cast or equivalent baffle**, secondary air tubes**, removable stainless steel combustion chamber, deflectors, and supports | 7 years*** | N/A |
| Handle assembly, glass retainers and air control mechanism | 5 years | 3 years |
| Removable carbon steel combustion chamber components | 5 years | N/A |
| Standard and optional blower, heat sensors, switches, rheostat, wiring, and electronics | 2 years | 1 year |
| Paint (peeling**), gaskets, insulation, ceramic fiber blankets, refractory bricks (fireplace only***), and other options | 1 year | N/A |
| All parts replaced under the warranty | 90 days | N/A |
*Subject to limitations above **Picture required ***limited to one replacement
Labour cost and repair work to the account of the manufacturer are based on a predetermined rate schedule and must not exceed the wholesale price of the replacement part.
Shall your unit or a components be defective, contact immediately your OSBURN dealer. To accelerate processing of your warranty claim, make sure to have on hand the following information when calling:
- Your name, address and telephone number
- Bill of sale and dealer’s name
- Installation configuration
- Serial number and model name as indicated on the nameplate fixed to the back of your unit
- Nature of the defect and any relevant information
Before shipping your unit or defective component to our plant, you must obtain an Authorization Number from your OSBURN dealer. Any merchandise shipped to our plant without authorization will be refused automatically and returned to sender.
This document is available for free download on the manufacturer’s website. It is a copyrighted document.
Resale is strictly prohibited. The manufacturer may update this document from time to time and cannot be responsible for problems, injuries, or damages arising out of the use of information contained in any document obtained from unauthorized sources.

Stove Builder International inc.
250, rue de Copenhague,
St-Augustin-de-Desmaures (Québec) Canada
G3A 2H3
1-877-356-6663
www.osburn-mfg.com/en
[email protected]