
HORIZONTAL POURING BASIN, SIDE FILL, EXTENDED, 3.75″ DIA, 23″
CATALOG NUMBER
RBHSC23075M
Extended side fill horizontal pouring basins are used when interferences of the structure will not allow top filling of the sleeve and the interferences are directly next to the tap hole in the sleeve.
Contents
FEATURES
Made from heat-resistant graphite
Durable, re-usable and long lasting
Designed for use with T-Series and B-Series horizontal side fill sleeves
PRODUCT ATTRIBUTES
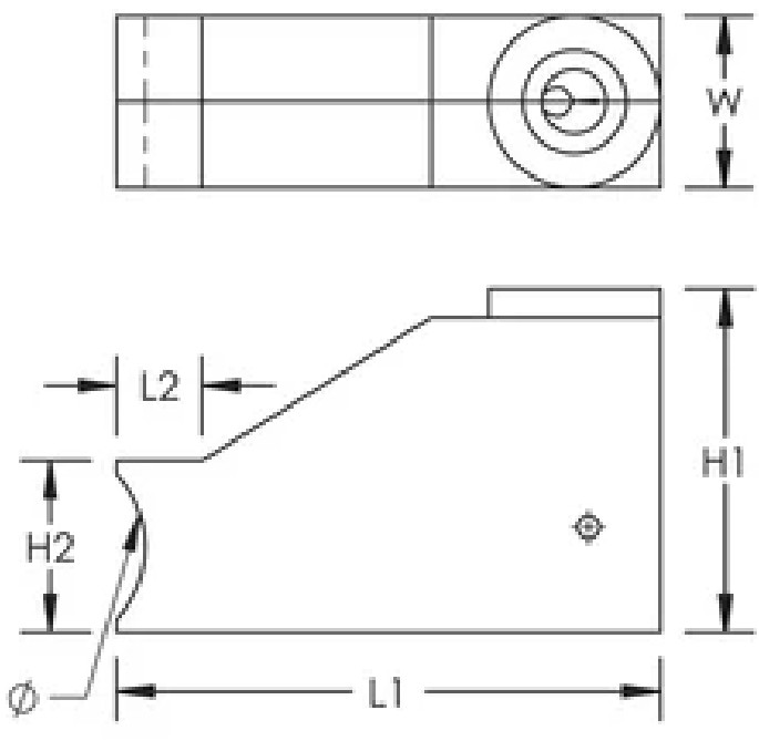
Material: Graphite
Diameter: 3.75″
Length 1: 23″
Length 2: 1.5″
Width: 3″
Height 1: 7 1/2″
Height 2: 3″
Unit Weight: 35 lb
ADDITIONAL PRODUCT DETAILS
RBHSA pouring basins require one RBW332 pouring basin frame and two RBS5000 bolt retainers. RBHSB pouring basins require one RBW3321 pouring basin frame and one RBS5000 bolt retainer. RBHSC pouring basins require one RBW3322 pouring basin frame and one RBS5000 bolt retainer (all sold separately).
Prior to installation, please read and understand all of the detailed instructions and safety notices provided in the nVent LENTON Cadweld Rebar Splicing System Instruction Manual.
Sizes not shown may be available by special order. Contact your nVent LENTON representative for more information.
DIAGRAMS

WARNING
nVent products shall be installed and used only as indicated in nVent’s product instruction sheets and training materials.
Instruction sheets are available at www.nvent.com and from your nVent customer service representative. Improper installation, misuse, misapplication or other failure to completely follow nVent’s instructions and warnings may cause product malfunction, property damage, serious bodily injury and death and/or void your warranty.
| North America +1.800.753.9221 Option 1 – Customer Care Option 2 – Technical Support |
Europe Netherlands: +31 800-0200135 France: +33 800 901 793 |
| Europe Germany: 800 1890272 Other Countries: +31 13 5835404 |
APAC Shanghai: + 86 21 2412 1618/19 Sydney: +61 2 9751 8500 |
Our powerful portfolio of brands: nVent.com CADDY ERICO HOFFMAN RAYCHEM SCHROFF TRACER
© 2023 nVent. All nVent marks and logos are owned or licensed by nVent Services GmbH or its affiliates. All other trademarks are the property of their respective owners.
nVent reserves the right to change specifications without notice.
