nVent HOFFMAN ECM19TD2U Tie-Down Bracket Instructions

Home » nVent HOFFMAN » nVent HOFFMAN ECM19TD2U Tie-Down Bracket Instructions

nVent-HOFFMAN-LOGO

nVent HOFFMAN ECM19TD2U Tie-Down Bracket

nVent-HOFFMAN-ECM19TD2U-Tie-Down-Bracket-PRODUCT

Product Information

  • Product Name: Tie-Down Bracket
  • Model Number: P/N 87791229
  • Revision: B
  • Part Numbers: 87791229, 87791492

Product Usage Instructions

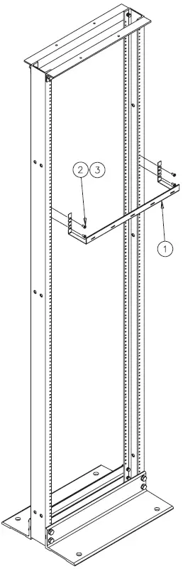
  1. Identify the Tie-Down Bracket in your product package. It should be labeled as “1”.
  2. Check if you have the following screws:
    • 12-24x.625 screws (typically used for open frame rack mounting)
    • 10-32x.625 screws (typically used for cabinet mounting)

    Note: Select the appropriate screws based on your rack or cabinet mounting requirements. Only one type of screw may be supplied.

  3. You should have four 10-32x.625 screws, labeled as “3”. These are used for mounting the Tie-Down Bracket.
  4. You should have four additional screws, labeled as “4”. Theseare not specifically mentioned in the instructions, but they might be required for certain installations.

Overview

nVent-HOFFMAN-ECM19TD2U-Tie-Down-Bracket-FIG-2

Installation

nVent-HOFFMAN-ECM19TD2U-Tie-Down-Bracket-FIG-1

Note: Select screws to match rack angle thread pattern, typically 12−24 screws for open frame rack mounting or 10−32 screws for cabinet mounting. Only one type of screw may be supplied.

Contact

Leave a Comment