nVent HOFFMAN ALFSWD Light Package Switches

Contents
GENERAL SAFETY INFORMATION
- Before installing switches, read these instructions carefully. Failure to follow instructions could damage the product or cause a hazardous condition.
- Route supply wires away form door hinge, sharp edges, etc.
![]() |
To avoid electric shock and equipment damage, disconnect any power supplies to the enclosure before installing the switch. Do not energize any circuits before all internal and external electrical and mechanical clearances are checked to assure that all assembled equipment functions safely and properly
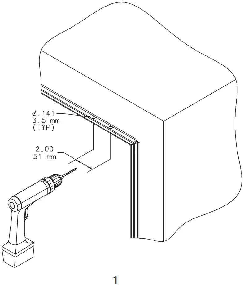
Before drilling mounting holes, check all mechanical and electrical clearances to verify latch rods and other enclosure accessories will operate freely without interference. |
PACKAGE CONTENT

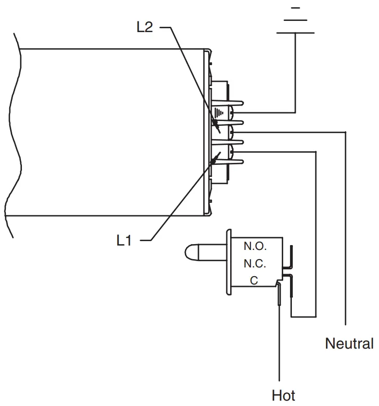
WIRING

LOCATION AND MOUNTING
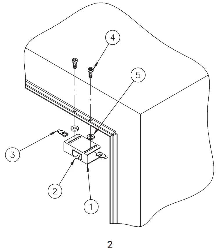
Door Switch (ALFSWD) Manual Switch (ALFSWM)
Note: Spacers (item 5) may have to be used if gasket or retainer interferes with the switch.


Door Switch (ALFSWD) Manual Switch (ALFSWM)
Note: Spacers (item 5) may have to be used if gasket or retainer interferes with the switch.


NOTE: For the door to properly activate the door switch, the bracket (item 1) must be positioned to enable the door to push the plunger of the switch (item 2) a minimum of .13 inches (3 mm), but no more than .50 inches (13 mm).
Customer Support
© 2018 Hoffman Enclosures Inc.
PH 763 422 2211 • nVent.com/HOFFMAN
87566341

