
Request a Quote
CLICk HERE
USB-6210
DAQ GETTING STARTED GUIDE
PCI/PCI Express
This document provides basic installation instructions for National Instruments PCI and PCI Express DAQ devices. Refer to the documentation specific to your DAQ device for more information.
Contents
Unpacking the Kit
Caution To prevent electrostatic discharge (ESD) from damaging the device, ground yourself using a grounding strap or by holding a grounded object, such as your computer chassis.
- Touch the antistatic package to a metal part of the computer chassis.
- Remove the device from the package and inspect the device for loose components or any other sign of damage.
Caution Never touch the exposed pins of connectors.
Note Do not install a device if it appears damaged in any way. - Unpack any other items and documentation from the kit.
Store the device in the antistatic package when the device is not in use.
Installing the Software
Back up any applications before upgrading your software. You must be an Administrator to install NI software on your computer. Refer to the NI-DAQmx Readme on the software media for supported application software and versions.
- If applicable, install an application development environment (ADE), such as LabVIEW, Microsoft Visual Studio .
- Install the NI-DAQmx driver software. ® , or LabWindows ™ ™ /CVI
Installing the Device
- Power off and unplug the computer.
- Access the computer system expansion slots. This step might require you to remove one or more access panels on the computer case.
- Locate a compatible slot and remove the corresponding slot cover on the computer back panel.
- Touch any metal part of the computer to discharge any static electricity.
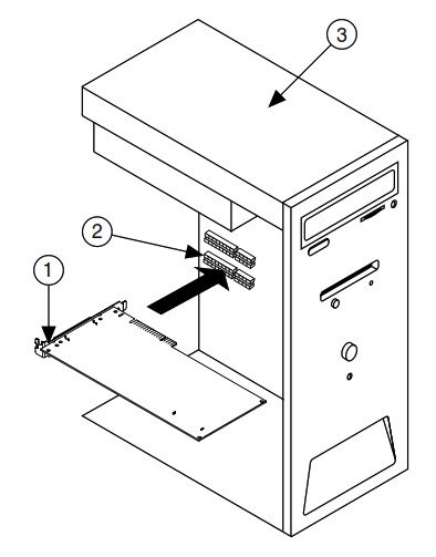
- Insert the device into the applicable PCI/PCI Express system slot. Gently rock the device into place. Do not force the device into place.
Per the PCI standard, NI PCI DAQ devices with the Universal PCI connector are supported in PCI-compliant buses, including PCI-X. You cannot install PCI Express devices in PCI slots and vice versa. PCI Express devices support up-plugging into a
PCI Express slot of higher lane width. For more information, refer to ni.com/pciexpress.
Figure 1. Installing a PCI/PCI Express Device
1. PCI/PCI Express DAQ Device
2. PCI/PCI Express System Slot
3. PC with PCI/PCI Express Slot - Secure the module mounting bracket to the computer back panel rail.
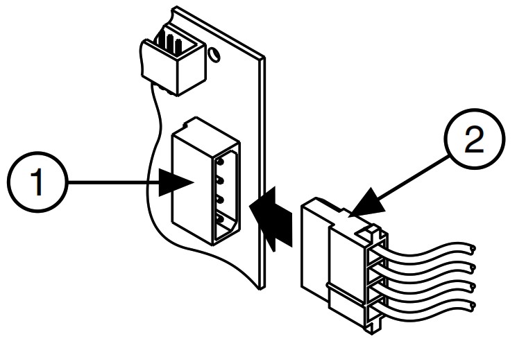
Note Tightening the top and bottom mounting screws increases mechanical stability and also electrically connects the front panel to the chassis, which can improve the signal quality and electromagnetic performance. - On PCI Express devices, such as the NI PCIe-625x/63xx, connect the PC and the device disk drive power connectors. Refer to the device user manual for information about when to use the disk drive power connector. Use a disk drive power connector that is not in the same power chain as the hard drive.
Figure 2. Attaching Disk Drive Power to the PCI Express Device
1. Device Disk Drive Power Connector
2. PC Disk Drive Power Connector
Note Connecting or disconnecting the disk drive power connector can affect the analog performance of your device. To compensate for this, NI recommends that you self-calibrate the PCI Express DAQ device in MAX after connecting or disconnecting the disk drive power connector; refer to the Configuring the
Device in NI MAX section. - Replace any access panels on the computer case.
- Plug in and power on your computer.
- If applicable, install accessories and/or terminal blocks as described in the installation guides.
- Attach sensors and signal lines to the device, terminal block, or accessory terminals. Refer to the documentation for your DAQ device or accessory for terminal/pinout information.
Configuring the Device in NI MAX
Use NI MAX, installed automatically with NI-DAQmx, to configure your National Instruments hardware.
- Launch NI MAX.
- In the Configuration pane, double-click Devices and Interfaces to see the list of installed devices. The module is nested under the chassis.
If you do not see your device listed, press <F5> to refresh the list of installed devices. - Right ‑click the device and select Self-Test to perform a basic verification of hardware resources.
- (Optional) Right‑click the device and select Configure to add accessory information and configure the device.
- Right-click the device and select Test Panels to test device functionality.
Click Start to test the device functions, and then Stop and Close to exit the test panel. If the test panel displays an error message, refer to ni.com/support. - If your device supports Self-Calibration, right-click the device and select Self-Calibrate.
A window reports the status of the calibration. Click Finish. For more information about Self-Calibration, refer to the device user manual.
Note Remove all sensors and accessories from your device before SelfCalibrating.
Programming
Complete the following steps to configure a measurement using the DAQ Assistant from NI MAX.
- In NI MAX, right-click Data Neighborhood and select Create New to open the DAQ Assistant.
- Select NI-DAQmx Task and click Next.
- Select Acquire Signals or Generate Signals.
- Select the I/O type, such as analog input, and the measurement type, such as voltage.
- Select the physical channel(s) to use and click Next.
- Name the task and click Finish.
- Configure individual channel settings. Each physical channel you assign to a task receives a virtual channel name. Click Details for physical channel information. Configure the timing and triggering for your task.
- Click Run.
Troubleshooting
For software installation problems, go to ni.com/support/daqmx.
For hardware troubleshooting, go to ni.com/support and enter your device name, or go to ni.com/kb.
Find device terminal/pinout locations in MAX by right-clicking the device name in the Configuration pane and selecting Device Pinouts.
To return your National Instruments hardware for repair or device calibration, go to ni.com/info and enter rdsenn, which starts the Return Merchandise Authorization (RMA) process.
Where to Go Next
Additional resources are online at ni.com/gettingstarted and in the NI-DAQmx Help. To access NI-DAQmx Help, launch NI MAX and go to Help»Help Topics»NI-DAQmx»NI-DAQmx Help.
Examples
NI-DAQmx includes example programs to help you get started developing an application.
Modify example code and save it in an application, or use examples to develop a new application or add example code to an existing application.
4 | ni.com | DAQ Getting Started Guide for PCI/PCI Express
To locate LabVIEW, LabWindows/CVI, Measurement Studio, Visual Basic, and ANSI C examples, go to ni.com/info and enter the Info Code daqmxexp. For additional examples, refer to ni.com/examples.
Related Documentation
To find the documentation for your DAQ device or accessory—including safety, environmental, and regulatory information documents—go to ni.com/manuals and enter the model number.
Worldwide Support and Services
The National Instruments website is your complete resource for technical support. At ni.com/support, you have access to everything from troubleshooting and application development self-help resources to email and phone assistance from NI Application Engineers.
Visit ni.com/services for NI Factory Installation Services, repairs, extended warranty, and other services.
Visit ni.com/register to register your National Instruments product. Product registration facilitates technical support and ensures that you receive important information updates from NI.
National Instruments corporate headquarters is located at 11500 North Mopac Expressway, Austin, Texas, 78759-3504. National Instruments also has offices located around the world. For telephone support in the United States, create your service request at ni.com/support or dial 1 866 ASK MYNI (275 6964). For telephone support outside the United States, visit the Worldwide Offices section of ni.com/niglobal to access the branch office websites, which provide up-to-date contact information, support phone numbers, email addresses, and current events.
Refer to the NI Trademarks and Logo Guidelines at ni.com/trademarks for information on NI trademarks. Other product and company names mentioned herein are trademarks or trade names of their respective companies. For patents covering NI products/technology, refer to the appropriate location: Help»Patents in your software, the patents.txt file on your media, or the National Instruments Patent Notice at ni.com/patents. You can find information about end-user license agreements (EULAs)
and third-party legal notices in the readme file for your NI product. Refer to the Export Compliance Information at ni.com/legal/export-compliance for the NI global trade compliance policy and how to obtain relevant HTS codes, ECCNs, and other
import/export data. NI MAKES NO EXPRESS OR IMPLIED WARRANTIES AS TO THE ACCURACY OF THE INFORMATION
CONTAINED HEREIN AND SHALL NOT BE LIABLE FOR ANY ERRORS. U.S. Government Customers: The data contained in this manual was developed at private expense and is subject to the applicable limited rights and restricted data rights as set forth
in FAR 52.227-14, DFAR 252.227-7014, and DFAR 252.227-7015.
© 2016 National Instruments. All rights reserved.
DAQ Getting Started Guide for PCI/PCI Express | © National Instruments | 5
COMPREHENSIVE SERVICES
We offer competitive repair and calibration services, as well as easily accessible documentation and free downloadable resources.
SELL YOUR SURPLUS
We buy new, used, decommissioned, and surplus parts from every NI series. We work out the best solution to suit your individual needs. Sell For Cash Get Credit Receive a Trade-In Deal
OBSOLETE NI HARDWARE IN STOCK & READY TO SHIP
We stock New, New Surplus, Refurbished, and Reconditioned NI Hardware.
Request a Quote
Z CLICK HERE
Bridging the gap between the manufacturer and your legacy TESS AT CUIE
1-800-915-6216
www.apexwaves.com
[email protected]
At trademarks, orands, and brand names are the property of thei respective owners,