

CONTACT US:
If you have any questions about the installation of MXARLTR products, please just feel free to contact us at email: [email protected]
Alternative method to contact us (amazon.com orders only)
- Log into your amazon account
- Go to “Your Orders” and find the purchase
- Click on “Contact Seller”
Assembly instructions
Model: 10030034/10030035

BATHROOM LINEN CABINET
Notice:
- Follow the installation instructions. Please confirm all accessories are preset before installation.
- Do not fully tighten the screws during initial assembly. Fully tighten screws only once all pieces which are correctly assembled.
- If you encounter any problems during installation. please contact our customer service.
|
Item no. |
Reference Image | Qty. |
| (A) | ![]() |
x1 |
|
(B) |
![]() |
x2 |
| (C) | ![]() |
x1 |
|
(D) |
![]() |
x1 |
| (E) | ![]() |
x1 |
|
(F) |
![]() |
x1 |
| (G) | ![]() |
x1 |
|
(H) |
![]() |
x2 |
| (I) | ![]() |
x2 |
|
(J) |
![]() |
x2 |
| (K) | ![]() |
x2 |
|
(L) |
![]() |
x2 |
|
Item no. |
Reference Image | Qty. |
| (a) | ![]() |
x16 |
|
(b) |
![]() |
x16 |
| (c) | ![]() |
x8 |
|
(d) |
![]() |
x12 |
| (e) | ![]() |
x1 |
|
(f) |
![]() |
x2 |
| (g) | ![]() |
x8 |
|
(h) |
![]() |
x1 |
| (i) | ![]() |
x2 |
|
(j) |
![]() |
x8 |
| (k) | ![]() |
x1 |
|
(l) |
![]() |
x1 |
| (m) | ![]() |
x1 |
|
(n) |
![]() |
x4 |
Explosion Diagram

1

(B) 2PCS (a) 8PCS

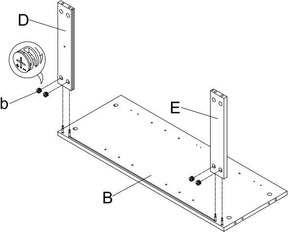
2

(D) 1PCS (E) 1PCS (b) 4PCS

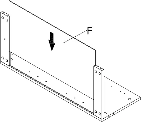
3

(F) 1PCS

4

(b) 4PCS

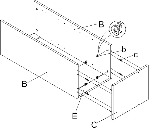
5

(A) 1PCS (C) 1PCS (a) 8PCS

6

(b) 4PCS (c) 4PCS

7

(b) 4PCS (c) 4PCS

8

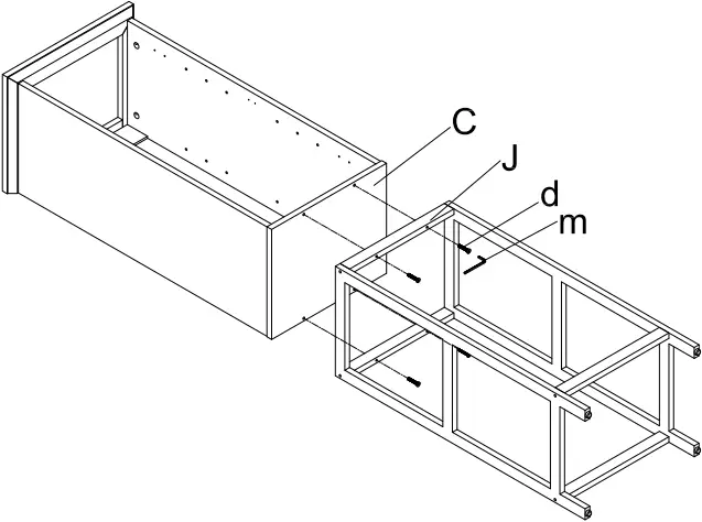
(I) 2PCS (J) 2PCS (K) 2PCS (d) 8PCS (m) 1PCS

9

(n) 4PCS

10

(d) 4PCS (m) 1PCS

11

(L) 2PCS

12

(G) 1PCS (e) 1PCS (f) 2PCS (g) 4PCS

13

(g) 4PCS (h) 1PCS (i) 2PCS

14

(k) 1PCS (l) 1PCS

Notes: Highly recommend you to secure the anti-tip accessories to wall to prevent the storage shelf tipping, avoiding injury and property damage.
15

(H) 2PCS (j) 8PCS
