Contents
MONTE CARLO 3ERHR44XXXD Series Ceiling Fan

Product Information
- The 3ERHR44XXXD Series Fan by Monte Carlo is a ceiling fan with a total weight of 7.1 kg (15.62 lbs) including the light. It is CUL Model NO. 3ERHR44XXXD, and the date of purchase and model number should be recorded for reference. To register the fixture, visit the website www.montecarlofans.com. The fan is designed to operate on AC 120V/60HZ power supply.
- For customer service inquiries, contact 800-969-3347 or visit the Customer Service Center at 7400 Linder Ave. Skokie, IL 60077. More information can also be found on the website www.montecarlofans.com.
Product Usage Instructions
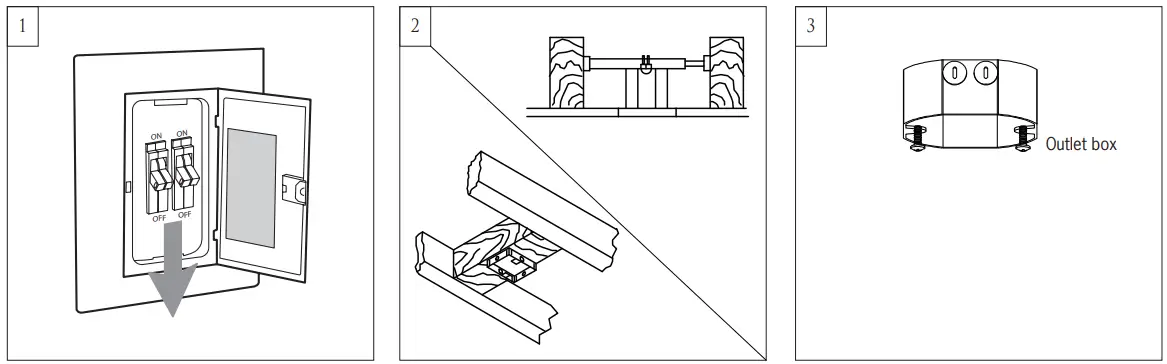
- Before beginning the installation, switch off the power at the service panel and lock the service disconnecting means to prevent accidental power activation. If locking is not possible, securely attach a warning device to the service panel.
- Ensure that the outlet box is properly installed to the house structure before mounting the fan. The outlet box or supporting system used for fan support must be acceptable and capable of supporting at least 35 lbs to reduce the risk of fire, electric shock, or personal injury.
- Use a metal outlet box suitable for fan support and only use the screws provided with the outlet box (must support 35 lbs). Before attaching the fan to the outlet box, confirm that the outlet box is securely fastened to a structural ceiling member with at least two points to prevent wobbling.
- To install the safety cable, remove the two set screws provided with the box. Align the holes of the mounting plate with the holes of the outlet box and securely reinstall the two outlet box screws.
- Hang the motor assembly onto the hook of the mounting plate for hands-free wiring and safety cable installation.
- Install the safety cable into the house structure using the three lag screws, washers, and lock washers provided. This step is required for outdoor applications, all fans installed in Canada, and for USA fan and light kit combinations over 35 lbs. Ensure that when the safety cable is fully extended, the lead wires are longer than the cable and no stress is placed on the lead wires. Note: Do not remove knockouts in the outlet box when installing the secondary support safety cable in the U.S.
- Refer to page 7 for wiring, installation, and operation of the wall controller. Do not operate the fan or light until it is completely installed.
- After making the wire connections, spread apart the wires with the grounded conductor and equipment-grounding conductor on one side of the outlet box and the ungrounded conductor on the other side of the outlet box. Push the splices upward carefully into the outlet box.
WARRANTY CARD
Cautions and Warnings
WARNING: TO REDUCE THE RISK OF FIRE, ELECTRIC SHOCK, OR INJURY TO PERSONS, OBSERVE THE FOLLOWING READ AND SAVE THESE INSTRUCTIONS
- Installation work and electrical wiring must be done by qualified person(s) in accordance with applicable codes and standards (ANSI/NFPA 70), including fire-rated construction.
- Use this unit only in the manner intended by the manufacturer. If you have any questions contact the manufacturer.
- After making the wire connections, the wires should be spread apart with the grounded conductor and the equipment-grounding conductor on one side of the outlet box and ungrounded conductor on the other side of the outlet box. The splices, after being made, should be turned upward and pushed carefully up into the outlet box.
- WARNING: Before you begin installing the fan, servicing or cleaning unit, Switch power off at Service panel and lock service disconnecting means to prevent power from being switched on accidentally. When the service disconnecting means cannot be locked, securely fasten a prominent warning device, such as a tag, to the service panel.
- Be cautious! Read all instructions and safety information before installing your new fan. Review the accompanying assembly diagrams. When cutting or drilling into wall or ceiling, do not damage electrical wiring and other hidden utilities.
- Make sure the installation site you choose allows the fan blades to rotate without any obstructions. Allow a minimum clearance of 7 feet from the floor to the trailing edge of the blade.
- WARNING: To Reduce The Risk Of Fire, Electric Shock, or Personal Injury, Mount To Outlet Box Marked “Acceptable for Fan Support of 15.9 kg (35 lbs) or less” And Use Mounting Screws Provided With The Outlet Box.
- WARNING: To reduce the risk of personal injury, do not bend blade holders during installation to motor, balancing or during cleaning. Do not insert foreign object between rotating blades.
- CAUTION: For Compliance with Local Codes and Regulations, If Installing The Secondary Support Safety Cable in the U.S., Do Not Remove Knockouts In The Outlet Box. Mount the secondary support safety cable through the reserved nail/screw hole on the outlet box to the building structure (or the ceiling joist).
- Attach the mounting bracket using only the hardware supplied with the outlet box.
- WARNING: To Reduce The Risk Of Electric Shock, This Fan Must Be Installed With a general use, isolating Wall Control/Switch. WARNING: To reduce the risk of fire or electric shock, this fan should only be used with fan speed control part no. BFR-G4F66B10G1 manufactured by Chungear Industrial Co. Ltd.
- WARNING: To reduce the risk of fire or electric shock, do not use this fan with any other solid state fan speed control device, or variable speed control.
- If this unit is to be installed over a tub or shower, it must be marked as appropriate for the application.
- Never place a switch where it can be reached from a tub or shower.
- The combustion airflow needed for safe operation of fuel-burning equipment may be affected by this unit’s operation. Follow the heating equipment manufacturer’s guideline safety standards such as those published by the National Fire Protection Association (NFPA), and the American Society for Heating, Refrigeration and Air Conditioning Engineers (ASHRAE) and the local code authorities.
- CAUTION: To Reduce the Risk of Electric Shock, Disconnect the electrical supply circuit to the fan before installing the light kit. CAUTION: The light source is designed for this specific application and can overheat
- if serviced by untrained personnel. If any servicing is required, the product should be returned to an authorized service facility for examination or repair.
- All set screws must be checked, and re-tightened where necessary, before installation.
- Note: Suitable for use in damp locations. Install the fan under covered or enclosed patios or porches.
- Tools Required for Assembly (not included): Electrical Tape, Phillips Screwdriver, Pliers, Safety Glasses, Stepladder and Wire Strippers
- Customer Service
- 800-969-3347
- Customer Service Center
- 7400 Linder Ave.
- Skokie, IL 60077
- www.montecarlofans.com
INSTALLATION INSTRUCTION
- Before you begin installing the fan, Switch power off at Service panel and lock service disconnecting means to prevent power from being switched on accidentally. When the service disconnecting means cannot be locked, securely fasten a warning device, such as a tag, to the service panel.
Use AC 120V/60HZ power supply only. - Before installing this fan make sure the outlet box is properly installed to the house structure. To reduce the risk of fire, electric shock, or personal injury, mount to outlet box or supporting system acceptable for fan support.
(Mounting must support at least 35 lbs.) - Use metal outlet box suitable for fan support and use only the screws provided with the outlet box (must support 35 lbs). Before attaching fan to outlet box, ensure the outlet box is securely fastened by at least two points to a structural ceiling member ( a loose box will cause the fan to wobble).

- Remove the two set screws provided with the box, aligning the holes of the mounting plate with the holes of the outlet box and reinstall the 2 outlet box screws securely.
- As shown in the illustration, hang the motor assembly onto the hook of mounting plate for hands-free wiring and safety cable installation.
- Safety cable must be installed into the house structure using 3” lag screws, washers, and lock washers provided, required for outdoor applications and in Canada (All fans installed in Canada), and for USA fan and light kit combinations over 35lbs.
Make sure that when the safety cable is fully extended the lead wires are longer than the cable and no stress is placed on the lead wires.
Note: If Installing The Secondary Support Safety Cable in the U.S., Do Not Remove
Knockouts In The Outlet Box.
- Refer to page 7 for wiring, installation and operation of Wall controller. Do not operate the fan or light until it is installed completely.
- After making the wire connections, the wires should be spread apart with the grounded conductor and the equipment-grounding conductor on one side of the outlet box and ungrounded conductor on the other side of the outlet box. The splices after being made should be turned upward and pushed carefully up into the outlet box.
- Lift motor assembly, aligning the captured screws on the plate on top of fan assembly with the screw holes on mounting plate. Install set screws to fix them. Tighten all screws securely.

- Align the three notches on the mounting plate with the three lock tabs on the housing and turn the housing clockwise until the lock tabs locked in place.
- Install the flywheel onto the motor. Position the alignment posts on the flywheel to the round holes in the motor as shown in the inset.
install the provided set screws to the other 5 holes in the motor to fix the flywheel. Tighten all set screws securely. - Insert a blade into the slot in the flywheel.

- Install blade with screws and washers provided, aligning each of the holes as shown and tighten all screws securely. Repeat this process for remaining blades. Tighten all screws securely.
- Loosen 2 and remove 1 preassembled screw from the plate on motor. Save screw for later use.
- Connect the quick connector to the connector from the light pan. Be sure plugs connection clasped together firmly.
Attach light pan onto the plate on motor, Place light pan over the lead wires from fan, aligning the keyhole slots on the light pan with the preassembled screws on the plate. Twist clockwise till lock. Reinstall the other screw. Tighten all screws securely.
- Loosen 2 and remove 1 preassembled screw from light pan. Save screw for later use.
- Connect white wire from fan to white wire from light fixture and then connect blue (or black) wire from fan to black (or blue) wire from light fixture. Be sure plugs connection clasped together firmly. Attach light fixture onto the light pan, aligning the keyhole slots on the light fixture with the preassembled screws on the light pan. Twist clockwise till lock. Reinstall the other screw. Tighten all screws securely.
- Install 2 x 9-watt medium base enclosed type of LED lamps.
Caution: Approved for use with LED light bulb only (Part No. 97512S).
Do not use incandescent light bulb.
Caution: Do not replace bulb until it cools down.
- Attach glass by locating dimples in light pan with grooves on the glass and twist clockwise until tight.
- Setting the reverse switch on the left hand side will result in downward airflow and setting the switch on the right hand side will result in upward airflow.
Note: Reverse switch must be set either way completely. If the reverse switch is set in the middle position, fan will not operate.
Wall Control Wiring, Installation and Operation
- Warning: Before proceeding, be sure to shut off electricity at main switch or circuit breaker in order to avoid electrical shock.
- Note: Before installing the wall transmitter, place it in OFF position. (Fig.2)
- Make series-wound connection for the wall controller with HOT wire from house and lead wires from fan.
- Connect the black/white wire marked “AC IN L” from wall controller to the HOT wire from house and then connect the black wire marked “TO MOTOR L” of wall controller to the fan lead wire from fan in outlet box. Connect the blue wire marked “FOR LIGHT” from wall controller to the light lead wire from fan (fan with light)
- Connect green/yellow grounded wire to grounded wire from outlet box.
- Install the wall controller to outlet box using machine screws provided.
- Attach wall plate to wall control unit with screws provided. (Fig.1)

Operation
his wall controller provides 4 fan speeds, light on/off and light dimming control.(Fig.2)


Troubleshooting
If you have difficulty operating your new ceiling fan, it may be the result of incorrect assembly, installation, or wiring. In some cases, these installation errors may be mistaken for defects. If you experience any faults, please check this Troubleshooting Chart. If a problem cannot be remedied, or you are experiencing difficulty in installation, please call our Customer Service Center at the number printed on your parts list insert sheet.
Warning: Before you begin installing, servicing or cleaning the fan unit, switch the power off at the service panel and lock the service panel to prevent the power from being switched back on accidentally. If the service panel cannot be locked to prevent the power from being switched on accidentally, securely fasten a warning sign to the service panel.