MINKA LAVERY 2795-695 Auresa 5-Light Coal Globe Pendant Light Instruction Manual

INSTALLATION INSTRUCTIONS
WARNING ! SHUTPOWER OFF AT FUS EORCI RCUIT BREAKER.
AVERTISSEMENT! COUPER LE COURANT AU NIVEAU DES FUSIBLES OU DU DISJONCTEUR.
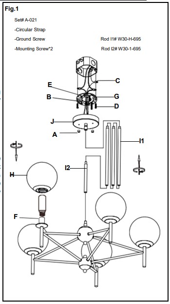
MOUNTING THE FIXTURE (Fig.1)

- Shut off power at the fuse box or circuit breaker and remove the old fixture including the mounting hardware.
- Carefully unpack your new fixture and lay out all the parts on a clean area. Take care not to lose any small parts necessary for installation.
- Thread screws (B) into pre-drilled holes on circular strap (G) spaced same distance apart as holes in canopy (J) and tighten with nuts (E). The length of screws (B) may be adjusted if necessary.
- Attach circular strap (G) to junction box (not included) using mounting screws (D). The side of circular strap marked “GND” must face out.
- Determine desired hanging height and thread rods (I2, and I1) to all thread of fixture’s body. Then secure canopy (J) to rod (I1). Pass wires carefully through each rod and canopy (J) as you assemble.
CONNECTING THE WIRES (Fig.2)

- Connect the electrical wires as shown in Fig.2, making sure that all wire connectors (C) are secured. If your junction box has a ground wire (green or bare copper), connect the fixture’s ground wire to it. Otherwise, connect the fixture’s ground wire directly to the circular strap (G) using the green screw provided.
- Tuck wire connectors neatly into the junction box. FINISHING THE INSTALLATION (Fig.1)
- Place canopy (J) over screws (B) and secure with finials (A).
- Install (5) five candelabra (T8) bulbs (not included) up to 40 watts each (not included) in accordance with the fixture specification—DO NOT EXCEED THE MAXIMUM WATTAGE RATING! (NE PAS DEPASSER LA PUISSANCE NOMINALE MAXIMALE!).
- Screw glass (H) onto fixture (F). Don’t over tighten.
Your installation is now complete. Return power to the Fig.1 Set# A-021 -Circular Strap -Ground Screw Rod I1# W30-H-695 -Mounting Screw*2 Rod I2# W30-1-695 junction box and test the fixture.
Note: Illustration (Fig.1) on this installation purposes only. It may identical to the fixture purchased. manual is for or
