INSTALLATION INSTRUCTIONS
Item#2454-695 (New. 2021/8/13)
2454-695 Bishop Crossing 33.5 Inch 4-Light Soft Brass Vanity Light
WARNING! SHUT POWER OFF AT FUSE OR CIRCUIT BREAKER.
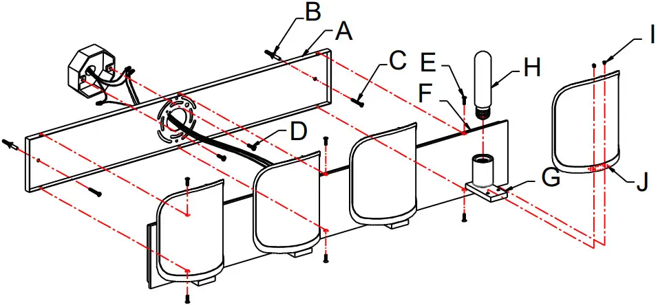
MOUNTING THE FIXTURE (Fig.1)
Fig. 1
Set#A-021-720112
- Mounting Screw*2
- Ground Screw
- Mounting Plate

- Shut off power at the fuse box or circuit breaker box and remove the old fixture including the mounting hardware.
- Carefully unpack your new fixture and lay out all the parts in a clear area. Take care not to misplace any small parts necessary for installation.
- Loosen screws (E) to remove mounting plate (A) from fixture body (F).
- Position mounting plate (A) on the wall and mark the location of two drywall anchors (B). Pre-drill the holes for the drywall anchors (B). Insert drywall anchors (B) into the wall.
- Attach mounting plate (A) to the junction box (not included) using the mounting screws (D). The side of mounting plate (A) marked “GND” must face out.
- Place woodscrews (C) through the holes into the drywall anchor (B) to secure mounting plate (A) as shown in Fig.1.
CONNECTING THE WIRES (Fig. 2)
- Connect the electrical wires as shown in Fig. 2, making sure that all wire connectors are secured. If your junction box has a ground wire (green or bare copper), connect the fixture’s ground wire to it. Otherwise, connect the fixture’s ground wire directly to mounting plate (A) using the green screw provided. After the wires are connected, tuck them carefully inside the junction box.
FINISHING THE INSTALLATION (Fig.1) - Place fixture body (F) over mounting plate (A) and secure with screws (E).
- Place shade assembly (J) onto socket stand (G) and secure with screws (I).
- Install (4) four medium base bulbs (H) up to 60 watts each or CFL or LED equivalent (not included) in accordance with the fixture specification.
— DO NOT EXCEED THE MAXIMUM WATTAGE RATING!
Your installation is now complete. Return power and test the fixture.
Note: Illustration (Fig.1) on this manual is for installation purposes only. It may or may not be identical to the fixture purchased.
LA-3447E