Contents
Maxxima MRL-S61245 Ultra Thin Recessed LED Downlight with Junction Box

Product Information
Specifications
- Model: MRL-4#
- Hole Cutout Diameter:
- Input Voltage: 120V
- Input Frequency: 60Hz
- Input Current:
- Input Watts:
Product Usage Instructions
1. Turn off the power before installation
Before starting the installation process, ensure that the power is turned off to prevent any risk of electric shock. Locate the circuit breaker for the lighting circuit and switch it off.
2. Remove the existing fixture (if applicable)
If there is an existing fixture in place, carefully remove it by following the manufacturer’s instructions. This may involve unscrewing or disconnecting any wires or mounting brackets.
3. Determine the location and cut the ceiling
Select the desired location for the LED flat panel and mark the area on the ceiling. Use appropriate tools to cut a hole in the ceiling according to the specified hole cutout diameter for the model MRL-4#.
4. Connect the DRIVER/JUNCTION BOX to the light panel
Place all wiring and connections back into the box and close the cover. Connect the DRIVER/JUNCTION BOX to the light panel using the provided connector.
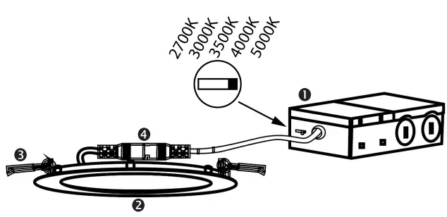
5. Select the desired CCT color of the light
Use the CCT selector switch located on the outside of the DRIVER/JUNCTION BOX to select the desired CCT color of the light. Refer to Figure 2 in the user manual for visual guidance.
6. Secure the DRIVER/JUNCTION BOX
Insert the DRIVER/JUNCTION BOX through the mounting hole in the ceiling and secure it using the provided mounting tabs. Ensure that it is firmly in place to prevent any movement.
7. Install the LIGHT PANEL
Push the SPRING-LOADED CLIPS into the mounting hole upwards and insert the LIGHT PANEL into it. Release the clips, and the fixture will be pulled flush to the ceiling. Refer to Figure 4 in the user manual for visual guidance.
Instructions
The units covered in these instructions are intended to retrofit Type IC or Type Non-IC luminaries.
WARNING / ATTENTION
- Risk of fire. Supply conductors (power wires) connecting to the fixture must be rated at 90° C. If uncertain, consult an electrician.
- Risk of fire or electric shock. LED Retrofit Kit installation requires knowledge of luminaries’ electrical systems.
- Risk of fire or electric shock. If not qualified, do not attempt installation. Contact a qualified electrician.
- Risk of fire or electric shock. Install this kit only in the luminaires that have the construction features and dimensions shown in the photographs and/or drawings.
- To prevent wiring damage or abrasion, do not expose wiring to the edges of sheet metal or other sharp objects.
- This lamp is not intended for use with emergency exit fixtures or emergency lights.
CAUTIONS
- For your safety read and understand instructions completely before starting installation.
- Before attempting installation, check your local electric code, as it sets wiring standards for your locality.
NOTES
- If the luminaire (fixture) is to be switched from a wall switch, make sure the black power supply wire is connected to the switch. DO NOT connect the white supply wire to the switch.
- Make sure no bare wires are exposed outside the wire nut connectors.
- Do not make or alter any open holes in an enclosure of wiring or electrical components during kit installation.
Hole Cutout Diameter
| Model | Hole Cutout Diameter (inches) | Hole Cutout Diameter (mm) |
| MRL- S40905B | 4.25″ | 108 |
| MRL- S61245B | 6.25″ | 159 |
Parts List
- DRIVER/JUNCTION
- BOX LIGHT PANEL
- SPRING-LOADED CLIPS
- CONNECTOR

Electrical parameters:
| Model | Driver/Junction Box Input Voltage (V) | Input Frequency (Hz) | Input Current (A) | Input Watts (W) |
| MRL- S40905B | 120 | 60 | 0.08 | 9 |
| MRL- S61245B | 120 | 60 | 0.10 | 12 |
Installation Guide
- Turn off the power before installation. Remove the existing fixture if applicable.
- Determine the location and necessary hole cutout diameter using the supplied table and cut the ceiling hole with the listed approximate diameter. (Fig. 1)
- Open the DRIVER/JUNCTION BOX cover and remove the appropriate knockout(s) on the side panel (Fig. 2). Install the appropriate cable clamp(s) (not included) and insert the electrical supply cable through the cable clamp. Connect the ground wire to the green wire terminal, hot wire to the black wire terminal and neutral wire to the white wire terminal using the wire nuts provided.
- Place all wiring and connections back into the box and close the cover. Connect the DRIVER/JUNCTION BOX to the light panel using the CONNECTOR.
- Use the CCT selector switch on the outside of the DRIVER/JUNCTION BOX (Fig. 2) to select the desired CCT color of the light.
- Insert the DRIVER/JUNCTION BOX through the mounting hole (Fig. 3) and secure using mounting tabs.
- Push the SPRING-LOADED CLIPS into the mounting hole upwards and insert LIGHT PANEL into it. Release the clips and the fixture will be pulled flush to the ceilina. (Fig 4)

Three Year Warranty:
Maxxima extends a 3-year limited warranty to the original purchase that the products listed are free from defects in material and/or workmanship only. Maxxima will replace any warrantied product to the original consumer/purchaser if the product fails because of defects due to workmanship and/or materials within the limited warranty period. Limited warranty is not transferable and applies to the original installation of the Maxxima product. This offer does not constitute in any way a product guarantee and Maxxima does not hereby assume any obligation whatsoever beyond sending a free replacement product.
