MAXIM LIGHTING 2882GL Paloma 1 Light Sconce User Guide

Home » MAXIM LIGHTING » MAXIM LIGHTING 2882GL Paloma 1 Light Sconce User Guide

MAXIM logoPRODUCT NAME: Paloma 1-Light Sconce
ITEM NUMBER: 2882GL
User Guide
MAXIM LIGHTING 2882GL Paloma 1 Light Sconce -

2882GL Paloma 1 Light Sconce

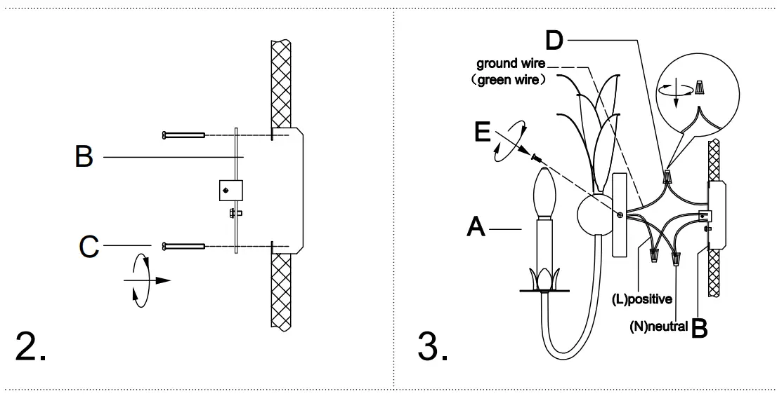
Please consult a qualified electrician for hanging fixture and wiring

Before Getting Started

Read the instructions carefully prior to assembling the product.
When you open the package with a sharp tool like a cutter knife, be careful not to damage the components inside.
Carefully remove all packaging materials and retain for future use.
Keep all hardware parts and packaging out of reach of small children.
Choose a clean, level, spacious assembly area. Avoid hard surfaces that may damage the product_
Ensure that you have all required contents for complete assembly.
Take care when lifting. Assemble the product in close proximity to where you intend to position the item.
Do not overtighten the screws and bolts as this may damage the threads. Do not let children play with this product.
Risk of suffocation! Keep any packaging materials away from children.

Lamp Care Instructions

Carefully read through the instruction sheet before assembly and using the product.
Caution there is a risk of shock. Disconnect from power source before assembling or cleaning.
Switch off, unplug and allow bulb to cool before replacing bulb or cleaning.
Only use the recommended bulb type and do not exceed the maximum wattage as it could cause fire. Do not plug the product in if cord is torn or frayed.

Cleaning & Maintenance

On polished finishes, often using talc powder reduces the appearance of fingerprints and other smudges.
For respective shade surfaces, use the appropriate cleansers, i.e. glass cleaner, acrylic polish, and wood polish.
Clean with soft cloth and a mild detergent. DO not use abrasive cleaner.
Periodically (every 90 days) make sure that the screws are fully tightened. Prolonged exposure to heat sources may cause glazing, melting and scorching, or even cause color to fade.

Contents

Before getting,started,ensure the package contains the following components:

MAXIM LIGHTING 2882GL Paloma 1 Light Sconce - fig 1MAXIM LIGHTING 2882GL Paloma 1 Light Sconce - fig 3MAXIM LIGHTING 2882GL Paloma 1 Light Sconce - fig 4

Leave a Comment