
Contents
C270 HD WEBCAM
Complete Setup Guide
KNOW YOUR PRODUCT

WHAT’S IN THE BOX
- Webcam with 5 ft (1.5 m) attached USB-A cable
- User documentation

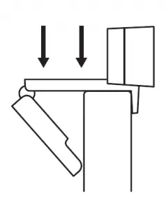
SETTING UP THE WEBCAM
- Place your webcam on a computer, laptop or monitor at a position or angle you desire

- Adjust the webcam to make sure the end on the universal mounting clip is flush with the back of your device.

- Manually adjust the webcam up/down to the best position to frame yourself.

CONNECTING THE WEBCAM VIA USB-A
Plug the USB-A connector into the USB-A port on your computer

SUCCESSFUL CONNECTION
LED activity light will light up when the webcam is in use by an application.

DIMENSIONS
INCLUDING FIXED MOUNTING CLIP:
Height x Width x Depth:
1.26 in (31.91 mm) x 2.87 in (72.91 mm) x 2.62 in (66.64 mm)
Cable Length: 5 ft (1.5 m)
Weight: 2.65 oz (75 g)
www.logitech.com/support/C270
© 2020 Logitech, Logi and the Logitech Logo are trademarks or registered trademarks of Logitech Europe S.A. and/or its affiliates in the U.S. and other countries. Logitech assumes no responsibility for any errors that may appear in this manual. Information contained herein is subject to change without notice.
WEB-621-001866.002
Read More About This Manual & Download PDF:
Logitech C270 HD Webcam Setup Manual –
Logitech C270 HD Webcam Setup Manual –