
Contents
7-12100 Flyer Freight Ready To Play Set
Ready-to-Play® Series
Lionel
Ready-to-Play®
Train Set
Owner’s Manual
Adult assembly required Batteries not included
WARNING:
CHOKING HAZARD-Small parts.
Not for children under 3 years.
IMPORTANT, RETAIN FOR FUTURE REFERENCE: READ CAREFULLY
FCC and RSS Statements
Warning: Changes or modifications to this unit not expressly approved by the party responsible for compliance could void the user’s authority to operate the equipment.
NOTE: This equipment has been tested and found to comply with the limits for a Class B digital device, pursuant to Part 15 of the FCC Rules. These limits are designed to provide reasonable protection against harmful interference in a residential installation.
This equipment generates, uses and can radiate radio frequency energy and, if not installed and used in accordance with the instructions, may cause harmful interference to radio communications.
However, there is no guarantee that interference will not occur in a particular installation. If this equipment does cause harmful interference to radio or television reception, which can be determined by turning the equipment off and on, the user is encouraged to try to correct the interference by one or more of the following measures:
- Reorient or relocate the receiving antenna.
- Increase the separation between the equipment and receiver.
- Consult the dealer or an experienced radio/TV technician for help.
This device complies with Part 15 of the FCC Rules. Operation is subject to the following two conditions: (1) this device may not cause harmful interference, and (2) this device must accept any interference received, including interference that may cause undesired operation.
Model numbers:
Berkshire: 7-12100
General: 7-12102
Thomas: 7-12104
Diesel: 7-12101
4-6-0: 7-12103
Remote: 7-12105
This device contains licence-exempt transmitter(s)/receiver(s) that comply with Innovation, Science and Economic Development Canada’s licence-exempt RSS(s). Operation is subject to the following two conditions: (1) This device may not cause interference, and (2) This device must accept any interference, including interference that may cause undesired operation of the device.
- Do not mix alkaline, standard (carbon-zinc), or rechargeable (nickle-cadmium) batteries.
- Different types of batteries or new and used batteries are not to be mixed.
- Only batteries of the same or equivalent type as recommended are to be used.
- Batteries are to be inserted with correct polarity.
- Exhausted batteries are to be removed from the toy.
- The supply terminals are not to be short- circuited.
- Dispose of battery(ies) safely.
- Do not dispose of this product in a fire. The batteries inside may explode or leak.
- Non-rechargeable batteries are not to be recharged.
- Rechargeable batteries are to be removed from the toy before being charged.
- Rechargeable batteries are only to be used under adult supervision.
Joining the track sections
Layouts
Additional track is now available separately to create new layouts
Installing AAA batteries into the Wireless Controller
Important!
Use only Alkaline AAA batteries. Use only new batteries. Never mix new and used batteries or use different types of batteries together. BATTERIES NOT INCLUDED.
Important!
REMOVE ALL BATTERIES WHEN THE TRAIN WILL NOT BE USED FOR AN EXTENDED PERIOD OF TIME. LIONEL’S LIMITED WARRANTY DOES NOT COVER DAMAGE TO YOUR WIRELESS CONTROLLER CAUSED FROM LEAKING BATTERIES.
Important!
When you are not operating the train, slide the On/Off switch to the OFF position to conserve the battery life.
Important!
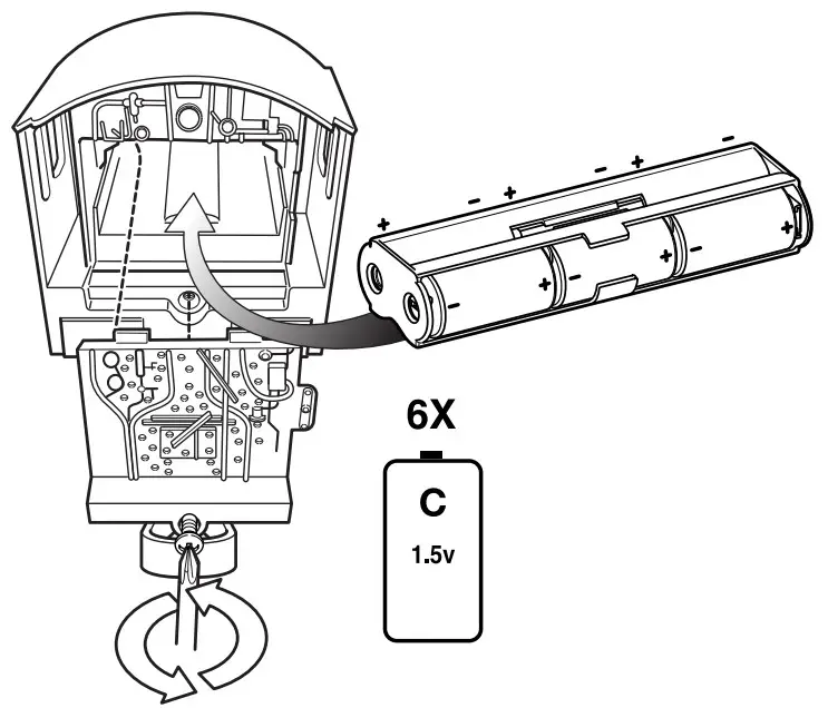
Use Alkaline ‘C’ batteries. Use only new batteries. Never mix new and used batteries or use different types of batteries together.
Important!
Remove all batteries when the train will not be used for an extended period of time. Lionel’s Limited Warranty does not cover damage to the locomotive caused from leaking batteries.
Note!
BATTERIES NOT INCLUDED
Installing ‘C’ batteries into the Berkshire Locomotive
Note!
Once the batteries are loaded, the screw should be tightened all the way to ensure that the battery contacts stay in place between the battery holder and the spring contacts.
Installing ‘C’ batteries into the 4-6-0 Locomotive
Note!
Once the batteries are loaded, the screw should be tightened all the way to ensure that the battery contacts stay in place between the battery holder and the spring contacts.
Important!
Use Alkaline ‘C’ batteries. Use only new batteries. Never mix new and used batteries or use different types of batteries together.
Important!
Remove all batteries when the train will not be used for an extended period of time. Lionel’s Limited Warranty does not cover damage to the locomotive caused from leaking batteries.
Note!
BATTERIES NOT INCLUDED
Installing ‘C’ batteries into the General Locomotive
Note!
Once the batteries are loaded, the screw should be tightened all the way to ensure that the battery contacts stay in place between the battery holder and the spring contacts.
Installing ‘C’ batteries into the Diesel Locomotive
Note!
Once the batteries are loaded, the screw should be tightened all the way to ensure that the battery contacts stay in place between the battery holder and the spring contacts.
Connecting the locomotive and train cars together

Attaching the included coupler extenders
If you are experiencing difficulty keeping the train cars connected to one another, snap the coupler extenders onto each coupler arm as depicted in the image to the right. This should help prevent the train cars from becoming un-coupled.
Power activation button on the locomotive
Note!
The engine will beep until the remote turns on.

Operating your wireless controller
Note!
LEAVING THE WIRELESS CONTROLLER POWER ON WHEN NOT IN USE WILL DRAIN THE CONTROLLER’S BATTERY.
WARNING:
CHOKING HAZARD-Small parts.
Not for children under 3 years.
![]()
DO NOT RETURN TO STORE
For help with assembly or warranty service call our toll free number:
1-800-4-LIONEL (454-6635)
Monday through Friday
9AM to 6PM EDT
Language Spoken: English
This product is covered by a ONE year limited warranty effective from the date of purchase against defects in materials and workmanship.
AUSTRALIA: Our goods come with guarantees that cannot be excluded under the Australian Consumer Law. You are entitled to a replacement or refund for a major failure and for compensation for any other reasonably foreseeable loss or damage. You are also entitled to have the goods repaired or replaced if the goods fail to be of acceptable quality and the failure does not amount to a major failure.
©2023 LIONEL L.L.C., CONCORD, NC 28027
UNITED STATES OF AMERICA
PRINTED IN CHINA
MADE IN CHINA
The following Lionel marks are used throughout this Owner’s Manual and are protected under law.
All rights reserved. Lionel® , Ready-to-Play ![]()